TOP
|
特許
|
意匠
|
商標
特許ウォッチ
Twitter
他の特許を見る
公開番号
2025122952
公報種別
公開特許公報(A)
公開日
2025-08-22
出願番号
2024018715
出願日
2024-02-09
発明の名称
二酸化炭素貯留装置
出願人
株式会社 商船三井
代理人
弁理士法人スズエ国際特許事務所
主分類
F17C
11/00 20060101AFI20250815BHJP(ガスまたは液体の貯蔵または分配)
要約
【課題】 二酸化炭素を地中に貯留する二酸化炭素貯留装置を提供することにある。
【解決手段】 二酸化炭素貯留装置20は、液化二酸化炭素を地上から地中に圧入するための圧入用配管P1と、圧入用配管P1に液化二酸化炭素を圧入するための圧入ポンプ2と、圧入用配管P1に流れる液化二酸化炭素の流量を調節するための第1制御弁3と、圧入用配管P1に流れる液化二酸化炭素の流量を計測する第1流量計SR1と、地中から地上に地下水を汲み上げるための汲み上げ用配管P2と、汲み上げ用配管P2に流れる地下水の流量を調節するための第2制御弁7と、汲み上げ用配管P2に流れる地下水に含まれる液体の流量を計測する第2流量計SR2と、第1流量計SR1により計測される液化二酸化炭素の流量が予め決められた閾値を下回る場合、第2流量計SR2により計測される液体の流量が増加するように、第2制御弁7を制御する制御装置1とを備える。
【選択図】図1
特許請求の範囲
【請求項1】
液化二酸化炭素を地上から地中に圧入するための圧入用配管と、
前記圧入用配管に液化二酸化炭素を圧入するための圧入ポンプと、
前記圧入用配管に流れる前記液化二酸化炭素の流量を調節するための第1制御弁と、
前記圧入用配管に流れる前記液化二酸化炭素の流量を計測する第1流量計と、
前記地中から前記地上に地下水を汲み上げるための汲み上げ用配管と、
前記汲み上げ用配管に流れる前記地下水の流量を調節するための第2制御弁と、
前記汲み上げ用配管に流れる前記地下水に含まれる液体の流量を計測する第2流量計と、
前記第1流量計により計測される前記液化二酸化炭素の流量が予め決められた閾値を下回る場合、前記第2流量計により計測される前記液体の流量が増加するように、前記第2制御弁を制御する制御部と
を備えることを特徴とする二酸化炭素貯留装置。
続きを表示(約 1,300 文字)
【請求項2】
前記制御部は、前記第2流量計により計測される前記液体の流量が前記第1流量計により計測される前記液化二酸化炭素の流量以上になるように、前記第2制御弁を制御すること
を特徴とする請求項1に記載の二酸化炭素貯留装置。
【請求項3】
前記汲み上げ用配管に流れる前記地下水に含まれるガスを分離するガス分離器
を備えることを特徴とする請求項1に記載の二酸化炭素貯留装置。
【請求項4】
前記第2流量計は、前記ガス分離器により前記ガスが分離された前記地下水に含まれる前記液体の流量を計測すること
を特徴とする請求項3に記載の二酸化炭素貯留装置。
【請求項5】
前記ガス分離器により分離された前記ガスを貯蔵する分離ガスタンク
を備えることを特徴とする請求項3に記載の二酸化炭素貯留装置。
【請求項6】
前記汲み上げ用配管に流れる前記地下水からガス及び沈殿物を分離する分離用タンク
を備えることを特徴とする請求項1に記載の二酸化炭素貯留装置。
【請求項7】
前記第2流量計は、前記分離用タンクにより前記地下水から前記ガス及び前記沈殿物が分離された液体の流量を計測すること
を特徴とする請求項6に記載の二酸化炭素貯留装置。
【請求項8】
前記汲み上げ用配管に流れる前記地下水に含まれるガスを分離するガス分離器と、
前記ガス分離器により分離された前記ガスを貯蔵する分離ガスタンクと、
前記分離用タンクにより分離された前記ガスの量を検出するためのセンサと、
前記ガス分離器により分離された前記ガスが前記分離ガスタンクに流れるガス用配管と、
前記ガス用配管に設けられた第3制御弁と、
前記ガス用配管に流れる前記ガスの流量を計測する第3流量計とを備え、
前記制御部は、前記センサによる検出結果及び前記第3流量計により計測される前記ガスの流量に基づいて、前記ガス分離器により分離された前記ガスを前記分離ガスタンクに流すように、前記第3制御弁を制御すること
を特徴とする請求項6に記載の二酸化炭素貯留装置。
【請求項9】
前記制御部は、前記第3流量計により計測される前記ガスの流量が急激に増加したと判断した場合、前記第1制御弁及び前記第2制御弁を緊急的に閉鎖すること
を特徴とする請求項8に記載の二酸化炭素貯留装置。
【請求項10】
液化二酸化炭素を地上から地中に圧入するための圧入用配管に液化二酸化炭素を圧入し、
前記圧入用配管に流れる前記液化二酸化炭素の流量を調節し、
前記圧入用配管に流れる前記液化二酸化炭素の流量を計測し、
前記地中から前記地上に地下水を汲み上げるための汲み上げ用配管に流れる地下水の流量を調節し、
前記汲み上げ用配管に流れる前記地下水に含まれる液体の流量を計測し、
計測した前記液化二酸化炭素の流量が予め決められた閾値を下回る場合、計測した前記液体の流量が増加するように、前記汲み上げ用配管に流れる前記地下水の流量を調節すること
を含むことを特徴とする二酸化炭素貯留方法。
発明の詳細な説明
【技術分野】
【0001】
本発明は、二酸化炭素を地中に貯留する二酸化炭素貯留装置に関する。
続きを表示(約 1,500 文字)
【背景技術】
【0002】
一般に、二酸化炭素を地中に貯留して、二酸化炭素が大気中に放出される量を抑制することが検討されている。
【発明の概要】
【発明が解決しようとする課題】
【0003】
しかしながら、二酸化炭素を地中に貯留することは容易ではなく、実用化の検討が開始された状況である。
本発明の実施形態の目的は、二酸化炭素を地中に貯留する二酸化炭素貯留装置を提供することにある。
【課題を解決するための手段】
【0004】
本発明の観点に従った二酸化炭素貯留装置は、液化二酸化炭素を地上から地中に圧入するための圧入用配管と、前記圧入用配管に液化二酸化炭素を圧入するための圧入ポンプと、前記圧入用配管に流れる前記液化二酸化炭素の流量を調節するための第1制御弁と、前記圧入用配管に流れる前記液化二酸化炭素の流量を計測する第1流量計と、前記地中から前記地上に地下水を汲み上げるための汲み上げ用配管と、前記汲み上げ用配管に流れる前記地下水の流量を調節するための第2制御弁と、前記汲み上げ用配管に流れる前記地下水に含まれる液体の流量を計測する第2流量計と、前記第1流量計により計測される前記液化二酸化炭素の流量が予め決められた閾値を下回る場合、前記第2流量計により計測される前記液体の流量が増加するように、前記第2制御弁を制御する制御部とを備える。
【発明の効果】
【0005】
本発明の実施形態によれば、二酸化炭素を地中に貯留する二酸化炭素貯留装置を提供することができる。
【図面の簡単な説明】
【0006】
本発明の実施形態に係る二酸化炭素貯留装置の構成を示す構成図。
本実施形態に係る制御装置の構成を示す構成図。
本実施形態に係る二酸化炭素貯留装置による液化二酸化炭素の地中への貯留方法の一例を示すフローチャート。
【発明を実施するための形態】
【0007】
(実施形態)
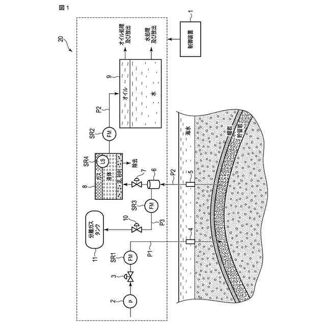
図1は、本発明の実施形態に係る二酸化炭素貯留装置20の構成を示す構成図である。なお、図面における同一部分には同一符号を付して、重複する説明を適宜省略する。
【0008】
二酸化炭素貯留装置20は、二酸化炭素を地中に貯留するための装置である。二酸化炭素貯留装置20は、現在は原油が採掘されていない廃棄された坑井である廃坑井を利用して、液化二酸化炭素を地中に圧入する。廃坑井は、海底にあってもよいし、地上にあってもよい。また、二酸化炭素貯留装置20は、液化二酸化炭素を地中に圧入しながら、水を積極的に汲み上げる機能を有する。圧入する液化二酸化炭素は、液体状態であれば、どのような圧力及び温度の状態でもよい。
【0009】
液化二酸化炭素が貯留される箇所は、原油が蓄積されていた箇所である。採掘前の原油は、不浸透性の帽岩の下にある貯留岩に含まれることが多い。したがって、二酸化炭素貯留装置20は、帽岩の下に液化二酸化炭素を圧入する。これにより、採掘される前の原油が蓄積されていた空間に、液化二酸化炭素が貯留される。なお、二酸化炭素貯留装置20は、液化二酸化炭素が地中に貯留できれば、地中の何処に貯留してもよい。
【0010】
二酸化炭素貯留装置20は、制御装置1、圧入ポンプ2、第1制御弁3、圧入用防噴装置4、汲み上げ用防噴装置5、ガス分離器6、第2制御弁7、液体バッファタンク8、分離液タンク9、第3制御弁10、分離ガスタンク11、3つの流量計SR1,SR2,SR3、及び、水位センサSR4を備える。
(【0011】以降は省略されています)
特許ウォッチbot のツイートを見る
この特許をJ-PlatPat(特許庁公式サイト)で参照する
関連特許
株式会社 商船三井
二酸化炭素貯留装置
1か月前
株式会社石井鐵工所
低温タンクの揚液装置
5か月前
株式会社石井鐵工所
低温タンクの揚液装置
3か月前
川崎重工業株式会社
竪型タンク
4か月前
有限会社 両国設備
液体容器の加熱器
10か月前
川崎重工業株式会社
三重殻タンク
6か月前
川崎重工業株式会社
三重殻タンク
6か月前
株式会社神戸製鋼所
ガス供給システム
9か月前
トヨタ自動車株式会社
高圧タンク
10か月前
トヨタ自動車株式会社
水素タンク
3か月前
川崎重工業株式会社
液化水素貯蔵タンク
8か月前
川崎重工業株式会社
液化ガス貯蔵タンク
8か月前
大日本印刷株式会社
ガス充填容器
8か月前
川崎重工業株式会社
液化水素貯蔵タンク
8か月前
株式会社タツノ
充填ノズル
10か月前
株式会社タツノ
充填ノズル
17日前
トヨタ自動車株式会社
水素充填装置
4か月前
那須電機鉄工株式会社
水素吸蔵合金タンク
8か月前
帝人株式会社
繊維補強圧力容器及びその製造方法
1か月前
岩谷産業株式会社
燃料ガス充填設備
7日前
株式会社タツノ
充填ノズル
1か月前
川崎重工業株式会社
低温流体の移送システム
4か月前
豊田合成株式会社
圧力容器
6か月前
株式会社神戸製鋼所
水素吸蔵合金容器
2か月前
トヨタ自動車株式会社
水素消費システム
3か月前
トヨタ自動車株式会社
ガス供給システム
11か月前
清水建設株式会社
水素貯蔵供給システム
7か月前
トヨタ自動車株式会社
水素消費システム
3か月前
川崎重工業株式会社
三重殻タンクのパージ方法
7か月前
トヨタ自動車株式会社
タンクモジュール
6か月前
川崎重工業株式会社
再液化装置
8か月前
オリオン機械株式会社
燃料供給装置および発電システム
5か月前
オリオン機械株式会社
燃料供給装置および発電システム
4か月前
トヨタ自動車株式会社
カートリッジタンク
4か月前
トヨタ自動車株式会社
水素タンクシステム
3か月前
JFEエンジニアリング株式会社
エネルギー貯蔵システム
3か月前
続きを見る
他の特許を見る