TOP
|
特許
|
意匠
|
商標
特許ウォッチ
Twitter
他の特許を見る
公開番号
2025090108
公報種別
公開特許公報(A)
公開日
2025-06-17
出願番号
2023205120
出願日
2023-12-05
発明の名称
エネルギー貯蔵システム
出願人
JFEエンジニアリング株式会社
代理人
個人
主分類
F17C
9/04 20060101AFI20250610BHJP(ガスまたは液体の貯蔵または分配)
要約
【課題】空気を液化して電力に変換可能なエネルギーとして貯蔵し、発電効率を効率的に高めるとともに、排ガスからの二酸化炭素の回収を容易にするエネルギー貯蔵システムを提供する。
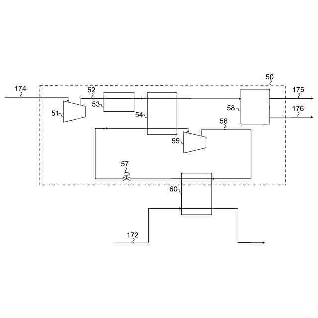
【解決手段】本発明に係るエネルギー貯蔵システムは、LNG貯槽10と、LNGポンプ20と、LNGの気化ガス及び/又はLNGの蒸発ガスを燃料として発電を行う発電装置120と、窒素及び酸素を液体として分離して取り出す深冷分離装置50と、LNGの冷熱を深冷分離装置50に供給する深冷分離用熱交換器60と、酸素用高温熱交換器100と、蒸発した酸素を膨張させて発電する酸素膨張タービン110と、発電装置120の排ガスを発電装置120の吸気に循環させ、酸素用高温熱交換器100に排熱を供給する排ガス循環ライン187と、酸素膨張タービン110の出口の酸素ガスの一部を排ガス循環ライン187に合流させる酸素ガス合流ライン188と、を有する。
【選択図】 図1
特許請求の範囲
【請求項1】
LNGを貯留するLNG貯槽と、
前記LNG貯槽に貯留されたLNGを昇圧して払い出すLNGポンプと、
前記LNGポンプから払い出されたLNGを気化させた気化ガス及び/又は前記LNG貯槽で発生した蒸発ガスを燃料として発電を行う発電装置と、
窒素及び酸素を主成分とするガスから窒素及び酸素を液体として分離して取り出す深冷分離装置と、
前記LNGポンプから払い出されたLNGの冷熱を前記深冷分離装置に供給する深冷分離用熱交換器と、
前記深冷分離装置によって生成された液体酸素を貯留する液体酸素タンクと、
前記液体酸素タンクに貯留された液体酸素を昇圧して払い出す液体酸素ポンプと、
前記発電装置の排熱を利用して前記液体酸素ポンプから払い出された液体酸素を加熱する酸素用高温熱交換器と、
前記酸素用高温熱交換器によって蒸発した酸素を膨張させて発電する酸素膨張タービンと、
前記発電装置の排ガスを当該発電装置の吸気に循環させ、前記酸素用高温熱交換器に排熱を供給する排ガス循環ラインと、
前記酸素膨張タービンの出口の酸素ガスの一部を前記排ガス循環ラインに合流させる酸素ガス合流ラインと、を有することを特徴とするエネルギー貯蔵システム。
続きを表示(約 270 文字)
【請求項2】
前記酸素用高温熱交換器の前流において、常温の水によって前記液体酸素を加熱する酸素用低温熱交換器を有することを特徴とする請求項1に記載のエネルギー貯蔵システム。
【請求項3】
前記LNGポンプの後流のLNGラインから前記LNG貯槽にLNGを還流する保冷循環LNG戻りラインと、
前記液体酸素ポンプによって払い出された液体酸素の冷熱を利用して前記保冷循環LNG戻りラインを流れるLNGを冷却する保冷循環LNG冷却用熱交換器と、を有することを特徴とする請求項1又は2に記載のエネルギー貯蔵システム。
発明の詳細な説明
【技術分野】
【0001】
本発明は、空気を液化して電力に変換可能なエネルギーとして貯蔵するエネルギー貯蔵システムに関する。
続きを表示(約 1,800 文字)
【背景技術】
【0002】
再生可能エネルギーの普及に伴い、エネルギー貯蔵システムのニーズが高まっており、液体空気によるエネルギー貯蔵もその方法の一つとして提案されている。
しかしながら、空気を液化する際の圧縮動力が極めて大きいために充放電効率が低いというデメリットが存在していた。
【0003】
この点、特許文献1には、空気をLNG及び液体水素(LH
2
)で段階的に冷やすことで低圧で液化し、冷熱が使われたLNG及びLH
2
を発電設備の燃料に、液化空気を酸化剤として発電設備に供給する技術が開示されている。
【先行技術文献】
【特許文献】
【0004】
特開2020-8132号公報
【発明の概要】
【発明が解決しようとする課題】
【0005】
しかしながら、特許文献1の技術は入手難度の高いLH
2
を前提としているため設備の実現性が乏しく、仮に入手できたとしてもLH
2
の高いコストが設備運用コストに反映されるため、事業性を損なう可能性が高い。
また、液化空気を空気タービンで膨張させて発電させる前に水や空気で気化させるとの記載があるが、水や空気では常温程度の温度にしかならず、膨張タービンによる発電効率が低くなってしまう。
【0006】
さらに、LH
2
をLNGと混焼させたとしても、排ガスの二酸化炭素が大気に放散されてしまう。分離回収を行う場合でも、排ガスの低濃度二酸化炭素を回収することには膨大なエネルギーを必要とするため、やはり事業性を損なう可能性が高い。
【0007】
本発明はかかる課題を解決するためになされたものであり、空気を液化して電力に変換可能なエネルギーとして貯蔵するシステムにおいて、系内のエネルギーで発電効率を効率的に高めるとともに、排ガスからの二酸化炭素の回収を容易にするエネルギー貯蔵システムを提供することを目的としている。
【課題を解決するための手段】
【0008】
(1)本発明に係るエネルギー貯蔵システムは、LNGを貯留するLNG貯槽と、
前記LNG貯槽に貯留されたLNGを昇圧して払い出すLNGポンプと、
前記LNGポンプから払い出されたLNGを気化させた気化ガス及び/又は前記LNG貯槽で発生した蒸発ガスを燃料として発電を行う発電装置と、
窒素及び酸素を主成分とするガスから窒素及び酸素を液体として分離して取り出す深冷分離装置と、
前記LNGポンプから払い出されたLNGの冷熱を前記深冷分離装置に供給する深冷分離用熱交換器と、
前記深冷分離装置によって生成された液体酸素を貯留する液体酸素タンクと、
前記液体酸素タンクに貯留された液体酸素を昇圧して払い出す液体酸素ポンプと、
前記発電装置の排熱を利用して前記液体酸素ポンプから払い出された液体酸素を加熱する酸素用高温熱交換器と、
前記酸素用高温熱交換器によって蒸発した酸素を膨張させて発電する酸素膨張タービンと、
前記発電装置の排ガスを当該発電装置の吸気に循環させ、前記酸素用高温熱交換器に排熱を供給する排ガス循環ラインと、
前記酸素膨張タービンの出口の酸素ガスの一部を前記排ガス循環ラインに合流させる酸素ガス合流ラインと、を有することを特徴とするものである。
【0009】
(2)また、上記(1)に記載のものにおいて、前記酸素用高温熱交換器の前流において、常温の水によって前記液体酸素を加熱する酸素用低温熱交換器を有することを特徴とするものである。
【0010】
(3)また、上記(1)又は(2)に記載のものにおいて、前記LNGポンプの後流のLNGラインから前記LNG貯槽にLNGを還流する保冷循環LNG戻りラインと、
前記液体酸素ポンプによって払い出された液体酸素の冷熱を利用して前記保冷循環LNG戻りラインを流れるLNGを冷却する保冷循環LNG冷却用熱交換器と、を有することを特徴とするものである。
【発明の効果】
(【0011】以降は省略されています)
この特許をJ-PlatPat(特許庁公式サイト)で参照する
関連特許
株式会社石井鐵工所
低温タンクの揚液装置
5か月前
株式会社石井鐵工所
低温タンクの揚液装置
3か月前
川崎重工業株式会社
竪型タンク
4か月前
川崎重工業株式会社
三重殻タンク
6か月前
川崎重工業株式会社
三重殻タンク
6か月前
大日本印刷株式会社
ガス充填容器
8か月前
トヨタ自動車株式会社
水素タンク
3か月前
川崎重工業株式会社
液化水素貯蔵タンク
8か月前
川崎重工業株式会社
液化水素貯蔵タンク
8か月前
川崎重工業株式会社
液化ガス貯蔵タンク
8か月前
那須電機鉄工株式会社
水素吸蔵合金タンク
8か月前
帝人株式会社
繊維補強圧力容器及びその製造方法
1か月前
株式会社タツノ
充填ノズル
1か月前
トヨタ自動車株式会社
水素充填装置
4か月前
岩谷産業株式会社
燃料ガス充填設備
4日前
株式会社タツノ
充填ノズル
14日前
川崎重工業株式会社
低温流体の移送システム
4か月前
豊田合成株式会社
圧力容器
5か月前
株式会社神戸製鋼所
水素吸蔵合金容器
2か月前
川崎重工業株式会社
三重殻タンクのパージ方法
7か月前
トヨタ自動車株式会社
タンクモジュール
5か月前
トヨタ自動車株式会社
水素消費システム
3か月前
川崎重工業株式会社
再液化装置
8か月前
清水建設株式会社
水素貯蔵供給システム
7か月前
トヨタ自動車株式会社
水素消費システム
3か月前
トヨタ自動車株式会社
水素タンクシステム
3か月前
オリオン機械株式会社
燃料供給装置および発電システム
4か月前
オリオン機械株式会社
燃料供給装置および発電システム
5か月前
トヨタ自動車株式会社
カートリッジタンク
4か月前
鹿島建設株式会社
水素吸蔵システム
7か月前
鹿島建設株式会社
水素供給システム
7か月前
JFEエンジニアリング株式会社
エネルギー貯蔵システム
2か月前
JFEエンジニアリング株式会社
エネルギー貯蔵システム
2か月前
DOWAエコシステム株式会社
容器の廃棄処理方法
8か月前
トヨタ自動車株式会社
高圧タンクの製造方法
6か月前
JFEエンジニアリング株式会社
エネルギー貯蔵システム
3か月前
続きを見る
他の特許を見る