TOP
|
特許
|
意匠
|
商標
特許ウォッチ
Twitter
他の特許を見る
10個以上の画像は省略されています。
公開番号
2025122970
公報種別
公開特許公報(A)
公開日
2025-08-22
出願番号
2024018744
出願日
2024-02-09
発明の名称
仮設防護体連結構造
出願人
GX株式会社
代理人
個人
主分類
E01F
15/02 20060101AFI20250815BHJP(道路,鉄道または橋りょうの建設)
要約
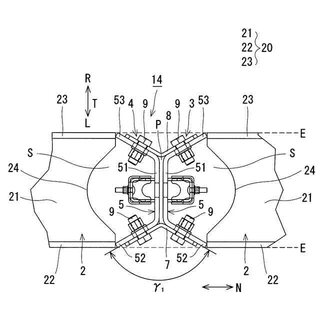
【課題】様々な曲率の道路で連結する作業が容易となり、特に、交差点周りへの設置、更に外観の向上が望める仮設防護体連結構造を提供する。
【解決手段】仮設防護体本体20の両端部に各々設けられ、仮設防護体本体の長手方向の外側に突出する連結部3、4を備え、連結部が各々仮設防護体本体の幅方向Tに延び出す中央板51と、中央板の両端に位置し高さ方向Hに延びる折曲線F1と、中央板の両端から折曲線を介して、各々仮設防護体本体の中央に向かって左右に拡開しながら連続的に延び出す左側板52と、右側板53とを有し左右対称形状の突出板体5を備え、更に左側板の外側面同士を連結する高さ方向Hに延びる折曲線F2を有する第1折曲板7と、右側板の側面同士を連結する高さ方向に延びる折曲線を有する第2折曲板8と、突出板体、第1折曲板、及び第2折曲板8を締結し、連結する締結部材9と、を備える仮設防護体連結構造1を提供する。
【選択図】図1
特許請求の範囲
【請求項1】
仮設防護体の両端部に各々設けられ、該仮設防護体の長手方向の外側に突出する鉄鋼製の連結部を備え、
前記連結部が、各々、
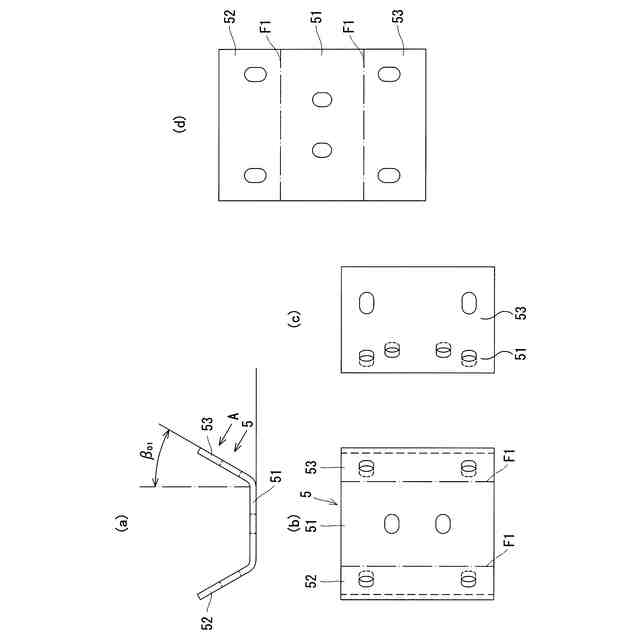
前記仮設防護体の幅方向に延び出す中央板と、該中央板の両端に位置し高さ方向に延びる折曲線と、該中央板の両端から該折曲線を介して、各々、前記仮設防護体の中央に向かって左右に拡開しながら連続的に延び出す、左側板と、右側板とを有し、左右対称形状の突出板体を備え、
更に、
前記左側板の外側面同士を連結する、高さ方向に延びる折曲線を有する第1折曲板と、
前記右側板の外側面同士を連結する、高さ方向に延びる折曲線を有する第2折曲板と、
前記突出板体、第1折曲板、及び第2折曲板を締結し、連結する締結部材と、
を備えることを特徴とする仮設防護体連結構造。
続きを表示(約 960 文字)
【請求項2】
前記第1折曲板及び前記第2折曲板の折曲角度が複数種類に設定され、前記中央板同士が前記複数種類に対応する複数の特定角度で接合する請求項1に記載の仮設防護体連結構造。
【請求項3】
さらに、前記仮設防護体の両端部に前記幅方向に設けられた凹部を備える請求項1に記載の仮設防護体連結構造。
【請求項4】
前記連結部は、前記仮設防護体の長手方向側面の延長面の内側領域に設置される請求項1に記載の仮設防護体連結構造。
【請求項5】
前記連結部のそれぞれの内壁に、前記仮設防護体の上部に構築する構造体の支柱を固定する、横断面形状がコの字又はU字形状の固定具を備える請求項1に記載の仮設防護体連結構造。
【請求項6】
前記固定具は、前記仮設防護体の上端部の内壁に突起部を設けて固定される請求項5に記載の仮設防護体連結構造。
【請求項7】
前記仮設防護体が第1仮設防護体及び第2仮設防護体の2段構成であり、該第1仮設防護体及び第2仮設防護体に固定される前記固定具は、共通部品であり、前記固定具は前記第1仮設防護体と第2仮設防護体とで上下逆に取り付けられる請求項6に記載の仮設防護体連結構造。
【請求項8】
前記突起部が、前記連結部に対して着脱可能である請求項6に記載の仮設防護体連結構造。
【請求項9】
前記固定具は、それぞれ、前記支柱を嵌装する嵌装孔を有する嵌装部材を備え、前記突起部が前記嵌装部材に設けられる請求項8に記載の仮設防護体連結構造。
【請求項10】
前記仮設防護体が第1仮設防護体及び該第1仮設防護体に設置される第2仮設防護体の2段構成であり、
前記第1仮設防護体及び第2仮設防護体が、上下に特定間隔を置いて設置されるか、又は、前記第1仮設防護体が前記第2仮設防護体の上に積み重ねられて設置され、
前記第1仮設防護体及び第2仮設防護体が、前記特定間隔を置いて設置される場合、前記連結部の形状に適合し、前記第1仮設防護体の前記連結部と前記第2仮設防護体の前記連結部とを分離可能に連結する被覆板及び第2締結部材を有する請求項1に記載の仮設防護体連結構造。
発明の詳細な説明
【技術分野】
【0001】
本発明は、仮設防護体同士を連結する仮設防護体連結構造に関する。
続きを表示(約 1,700 文字)
【背景技術】
【0002】
特許文献1の仮設防護柵は、ジョイント用ボルト111、連結用プレート112により連続基礎4同士を連結する。
【0003】
特許文献2では、支柱を接続するための防護柵基礎として、略直方体のコンクリート製ブロックの端部に環状の連結部が設けられた防護柵基礎が提案されている。連結部を他の防護柵基礎の環状の連結部と重ね、重なった連結部に防護柵の支柱を挿入することにより、複数の防護柵基礎が連結できる。
【0004】
特許文献3では、設置、撤去が容易で、耐久性に優れた防護柵を提供するため、防護柵1は、3個のコンクリートブロック10、4本の支柱20、ガードレール板30、拘束具40、及び連結具50を有している。ガードレール板30はブラケット60を介して支持されており、隣接するコンクリートブロック10同士は連結具50を介して接続されている。支柱20は支柱孔に挿入されている。拘束具40を支柱20とコンクリートブロック10の双方に貫通させることで、支柱20はコンクリートブロック10と接続された状態が維持される。
【0005】
非特許文献1では、コンクリート基礎同士の端部を上下組み合せ、ボルト1本で連結することで連続基礎を構築できる防護柵基礎が提案されている。防護柵基礎と防護柵の支柱の接続は、防護柵の基礎に設けられた穴に支柱が挿入されており、穴と支柱の隙間に砂、モルタル、あるいは空練りモルタルが充填されることで、防護柵基礎と支柱は接続されている。
【先行技術文献】
【特許文献】
【0006】
特開2000-282431号公報
特開2011-117238号公報
特開2023-55361号公報
【非特許文献】
【0007】
株式会社イビコン ホームページhttps://www.ibicon.co.jp/pdF/で開示されている「自在R連続基礎ブロック」
【発明の概要】
【発明が解決しようとする課題】
【0008】
しかし、特許文献1で提案されている仮設防護柵(以下、特許文献1という。)は、連結用プレートにより、直線的に連結しているので、仮設防護柵を様々な曲率の道路で連結する作業ができず、また、曲率ごとに、接続プレートを用意しなければならず、接続作業が煩雑であり、特に、交差点周りへの設置が困難であり、更に外観の向上が望めないという問題がある。
【0009】
特許文献1は、基台となるH形鋼を連結用プレートで挟み、貫通ボルトを複数本用いて締結し連結しながら延伸している。また上部構造となるガードレールは重ね合わせた後、専用の継手ボルトを複数本用いて連結していく。従来のH形鋼連結箇所は側面となるフランジ表面上に連結プレート、ボルト、ナットの突起が発生し、車輌衝突時に求められる平滑性が損なわれることが懸念される場面もあった。また設置された仮設防護柵の背後では通常道路の改良工事がおこなわれるが幅員が狭い中、常に仮設防護柵との接触を気にしながらの作業を強いられる上で、時に建設用車輌や重機による従来仮設防護柵の突起部への接触により双方に対する損傷を回避できないこともあった。
【0010】
また、特許文献1は、その上部構造にあたるガードレールの連結に際しても隣り合うビームどうしを重ね合わせて専用の継手ボルトを複数本用いて締結することが必ず必要な手順となるが、その重ね合わせにも鉄則があり、走行する車輌から見て進行方向の手前に存在するビームが次のビーム(進む方向の奥側)との重ね合わせで必ず手前のビームが表側になることが必要とされている。車輌がガードレールに衝突した際、ビームの端部が車輌に突き刺さることを無くす為である。このガードレールビームに存在する、重ね合わせという構造と、重ね合わせの規則が設置撤去作業や準備段階で発生する路肩仕様と中央分離帯仕様の仕様変更に伴う設置前作業を煩雑にさせている。
(【0011】以降は省略されています)
この特許をJ-PlatPat(特許庁公式サイト)で参照する
関連特許
GX株式会社
仮設防護体
1か月前
GX株式会社
昇降式仮設防護体
1か月前
GX株式会社
仮設防護体連結構造
1か月前
株式会社熊谷組
床版
10日前
株式会社熊谷組
床版
10日前
個人
折り畳み式標識具
17日前
白出商事株式会社
縁石銘板(名板)
12日前
株式会社熊谷組
床版接合構造
20日前
株式会社セイトク
防雪パネル
2日前
北越消雪機械工業株式会社
消雪装置
17日前
GX株式会社
昇降式仮設防護体
1か月前
株式会社NIPPO
斜面用ローラ
11日前
株式会社ササキコーポレーション
作業機
9日前
株式会社NIPPO
斜面用ローラ
11日前
株式会社NIPPO
距離補正装置
10日前
株式会社NIPPO
切削用制御装置
10日前
三信工業株式会社
床版架設装置
9日前
前田工繊株式会社
防護柵
1か月前
株式会社熊谷組
床版継手装置、及び、床版
20日前
桑名金属工業株式会社
融雪マットおよび融雪方法
9日前
中井商工株式会社
橋梁の桁端止水工法
20日前
浅香工業株式会社
レーキ
27日前
東亜グラウト工業株式会社
防護柵の支柱構造
10日前
西尾レントオール株式会社
コーンベット型電源装置
4日前
日鉄神鋼建材株式会社
補強金具、及び支柱取付構造
10日前
株式会社NIPPO
アスファルトスタッカ制御装置
11日前
株式会社NIPPO
バンク用建設機械サポータ装置
11日前
日鉄建材株式会社
吊り材で支持された足場用床パネル
9日前
日立建機株式会社
転圧機械
10日前
オリエンタル白石株式会社
補強鋼板及び排土方法
2日前
株式会社日本コンポジット工業
壁用構造体
9日前
三井住友建設株式会社
床版拡幅工法
11日前
株式会社NIPPO
法面機械
1か月前
株式会社NIPPO
コンクリートスタッカ
16日前
東日本旅客鉄道株式会社
横取り方法
16日前
鹿島建設株式会社
橋、および橋の製造方法
3日前
続きを見る
他の特許を見る