TOP
|
特許
|
意匠
|
商標
特許ウォッチ
Twitter
他の特許を見る
公開番号
2025126039
公報種別
公開特許公報(A)
公開日
2025-08-28
出願番号
2024022402
出願日
2024-02-16
発明の名称
自律走行ロボット
出願人
セコム株式会社
代理人
個人
,
個人
,
個人
,
個人
,
個人
主分類
G05D
1/617 20240101AFI20250821BHJP(制御;調整)
要約
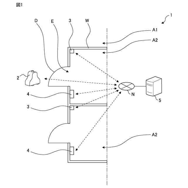
【課題】出入口を介して接続されたエリアにおける人物の在否に応じた警備動作を実行できる自律走行ロボットを提供する。
【解決手段】自律走行ロボットは、走行エリアを自律して走行する自律走行ロボットであって、出入口を介して走行エリアと接続された隣接エリアにおける人物の在否に基づいて自律走行ロボットの動作を制御する制御部を有する。
【選択図】図4
特許請求の範囲
【請求項1】
走行エリアを自律して走行する自律走行ロボットであって、
出入口を介して前記走行エリアと接続された隣接エリアにおける人物の在否に基づいて前記自律走行ロボットの動作を制御する制御部を有する自律走行ロボット。
続きを表示(約 560 文字)
【請求項2】
所定の警備動作を実行するアームをさらに有し、
前記制御部は、前記隣接エリアに人物がいない場合に、前記出入口の近傍において前記警備動作を前記アームに実行させる、
請求項1に記載の自律走行ロボット。
【請求項3】
前記アームは、前記出入口に備え付けられたドアを操作する動作が可能であり、
前記制御部は、前記隣接エリアに人物がいない場合に、前記ドアの施錠状態を確認または変更する警備動作を前記アームに実行させる、
請求項2に記載の自律走行ロボット。
【請求項4】
前記制御部は、前記隣接エリアに人物がいる場合に、前記走行エリアのうち、前記出入口から所定距離以内の部分を走行しないように前記自律走行ロボットを制御する、
請求項1に記載の自律走行ロボット。
【請求項5】
前記制御部は、前記隣接エリアに人物がいる場合に、前記隣接エリアに人物がいない場合よりも低速で走行するように前記自律走行ロボットを制御する、
請求項1に記載の自律走行ロボット。
【請求項6】
前記制御部は、前記隣接エリアに人物がいる場合に、前記自律走行ロボットの存在を報知する、
請求項1に記載の自律走行ロボット。
発明の詳細な説明
【技術分野】
【0001】
本発明は、自律走行ロボットに関する。
続きを表示(約 1,100 文字)
【背景技術】
【0002】
施設の警備のために、自律して施設内を走行してドアの施錠の確認等の警備動作を実行するロボットが知られている。このような自律走行ロボットの中には、効率的な警備動作を実行するために、アームを有するものがある。特許文献1には、アームが障害物に接触することを防止するロボットが記載されている。
【先行技術文献】
【特許文献】
【0003】
特開2015-85488号公報
【発明の概要】
【発明が解決しようとする課題】
【0004】
このようなロボットがドアの施錠の確認をすることにより、ドアの向こう側の人を驚かせたり不安にさせたりする可能性がある。また、ロボットがドアの施錠を確認している間にドアが開けられることにより、ロボットやドアが損壊したりドアを開けた人が怪我をしたりする可能性もある。そこで、ドアの向こう側のエリアにおける人物の在否に応じた警備動作をすることが望まれる。
【0005】
本発明は、上述の課題を解決するためになされたものであり、出入口を介して接続されたエリアにおける人物の在否に応じた警備動作を実行できる自律走行ロボットを提供することを目的とする。
【課題を解決するための手段】
【0006】
本発明の実施形態に係る自律走行ロボットは、走行エリアを自律して走行する自律走行ロボットであって、出入口を介して走行エリアと接続された隣接エリアにおける人物の在否に基づいて自律走行ロボットの動作を制御する制御部を有する。
【0007】
また、自律走行ロボットは、所定の警備動作を実行するアームをさらに有し、制御部は、隣接エリアに人物がいない場合に、出入口の近傍において警備動作をアームに実行させることが好ましい。
【0008】
また、アームは、出入口に備え付けられたドアを操作する動作が可能であり、制御部は、隣接エリアに人物がいない場合に、ドアの施錠状態を確認または変更する警備動作をアームに実行させることが好ましい。
【0009】
また、制御部は、隣接エリアに人物がいる場合に、走行エリアのうち、出入口から所定距離以内の部分を走行しないように自律走行ロボットを制御することが好ましい。
【0010】
また、制御部は、隣接エリアに人物がいる場合に、隣接エリアに人物がいない場合よりも低速で走行するように自律走行ロボットを制御することが好ましい。
(【0011】以降は省略されています)
この特許をJ-PlatPat(特許庁公式サイト)で参照する
関連特許
セコム株式会社
自律移動ロボット
19日前
セコム株式会社
火災監視システム
26日前
セコム株式会社
表示機能付き認証装置
19日前
セコム株式会社
生活見守りシステム及びプログラム
19日前
セコム株式会社
データ処理装置及びデータ処理方法
26日前
セコム株式会社
生活見守りシステム及びプログラム
19日前
セコム株式会社
自律移動ロボットおよび制御システム
19日前
セコム株式会社
自律移動ロボットおよび制御システム
19日前
セコム株式会社
対話システム、対話方法及びセンタ装置
27日前
セコム株式会社
センタ装置、対話システム及び対話方法
27日前
セコム株式会社
端末所持者検知装置及び端末所持者検知方法
27日前
セコム株式会社
飛行ロボットの画像表示装置及び画像表示方法
19日前
セコム株式会社
飛行ロボットの画像表示装置及び画像表示方法
19日前
株式会社デンソーウェーブ
通行管理システム
20日前
セコム株式会社
飛行ロボットの画像表示装置および画像表示方法
20日前
セコム株式会社
飛行ロボットの画像表示装置および画像表示方法
20日前
セコム株式会社
自律飛行ロボットの飛行制御システム及び飛行制御方法
20日前
セコム株式会社
飛行ロボットの画像管理装置、画像管理システム及び画像管理方法
19日前
セコム株式会社
飛行ロボットの画像管理装置、画像管理システム及び画像管理方法
19日前
セコム株式会社
飛行ロボットの画像管理装置、画像管理システム及び画像管理方法
19日前
セコム株式会社
飛行ロボットの画像管理装置、画像管理システム及び画像管理方法
19日前
セコム株式会社
データ処理装置、学習データ生成装置、データ処理方法及び学習データ生成方法
22日前
セコム株式会社
警備システム、携帯端末、プログラム及び警備方法
1日前
セコム株式会社
警備システム、携帯端末、プログラム及び警備方法
1日前
セコム株式会社
携帯端末、警備システム、プログラム及び表示方法
1か月前
株式会社熊谷組
障害物の検出方法
21日前
新電元工業株式会社
作業用ロボット
19日前
豊田合成株式会社
機器制御装置
26日前
株式会社ダイフク
物品搬送設備
今日
エイブリック株式会社
電流補償回路及び半導体装置
15日前
カヤバ株式会社
減圧弁
28日前
村田機械株式会社
搬送車システム
20日前
株式会社アマダ
工作機械制御装置
20日前
日野自動車株式会社
自動運転装置
20日前
オムロン株式会社
システム及び方法
1日前
オムロン株式会社
システム及び方法
1日前
続きを見る
他の特許を見る