TOP
|
特許
|
意匠
|
商標
特許ウォッチ
Twitter
他の特許を見る
10個以上の画像は省略されています。
公開番号
2025145238
公報種別
公開特許公報(A)
公開日
2025-10-03
出願番号
2024045318
出願日
2024-03-21
発明の名称
機器制御装置
出願人
豊田合成株式会社
代理人
個人
,
個人
主分類
G05B
23/02 20060101AFI20250926BHJP(制御;調整)
要約
【課題】簡素な構造にすることのできる機器制御装置を提供すること。
【解決手段】制御量調節部は、機器制御装置の検査時には、検査装置から入力される第1制御信号に応じて検査用信号を出力する。制御量調節部は、機器制御装置の利用時には、通常制御装置から入力される第2制御信号に応じて、検査用信号とは異なる利用用信号SG1を出力する。機器制御部は、制御量調節部から入力される制御量信号をもとに車載の制御対象機器を制御する。制御対象機器を制御する制御モードは、検査用信号に基づいて機器制御装置の検査のための検査制御を実行する検査モードと、利用用信号SG1に基づいて機器制御装置の利用のための利用制御を実行する通常モードとを含む。機器制御部は、検査モードであるときに(S11:YES)利用用信号SG1が入力されたことを条件に(S12:YES)、制御モードを通常モードに切り替える(S15)。
【選択図】図7
特許請求の範囲
【請求項1】
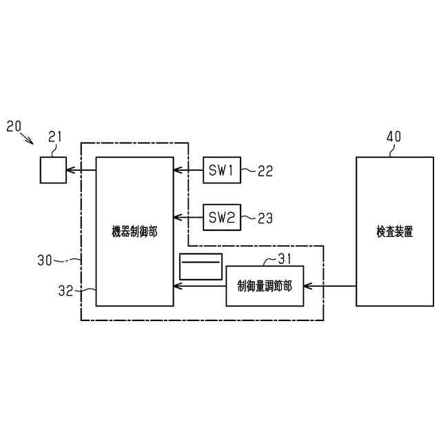
外部機器から入力される制御信号に応じて車載の制御対象機器の制御量を調節するための制御量信号を出力する制御量調節部と、
前記制御量調節部から入力される前記制御量信号をもとに前記制御対象機器を制御する機器制御部と、を備える機器制御装置であって、
前記制御量調節部は、
前記機器制御装置の検査時には、前記外部機器として検査装置が接続されるとともに、同検査装置から入力される前記制御信号としての第1制御信号に応じて、前記制御量信号としての検査用信号を出力するものであり、且つ、
前記機器制御装置の利用時には、前記外部機器として通常制御装置が接続されるとともに、同通常制御装置から入力される前記制御信号としての第2制御信号に応じて、前記検査用信号とは異なる利用用信号を前記制御量信号として出力するものであり、
前記機器制御部によって前記制御対象機器を制御する制御モードは、前記検査用信号に基づいて前記機器制御装置の検査のための検査制御を実行する検査モードと、前記利用用信号に基づいて前記機器制御装置の利用のための利用制御を実行する通常モードと、を含み、
前記機器制御部は、前記検査モードであるときに前記利用用信号が入力されたことを条件に、前記制御モードを前記検査モードから前記通常モードに切り替えるものである、
機器制御装置。
続きを表示(約 740 文字)
【請求項2】
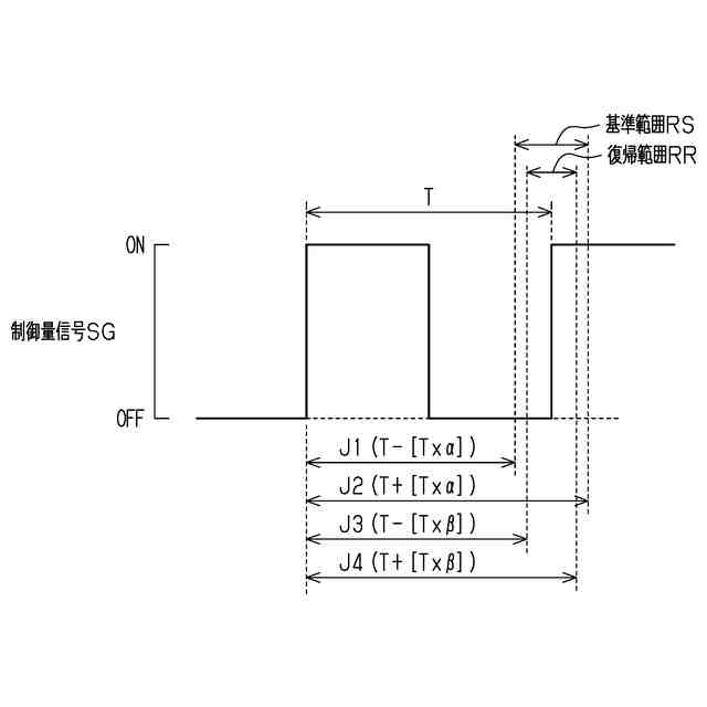
前記制御量調節部は、前記検査用信号としてはデューティ比が「0%」または「100%」の信号を出力するものであり、且つ、前記利用用信号としてはデューティ比が「100%未満」の信号を出力するものであり、
前記検査モードであるときに前記利用用信号が入力されたことは、前記検査モードであるときに前記機器制御部に入力される前記制御量信号のデューティ比が「0%」よりも大きく、且つ「100%未満」になったことである、
請求項1に記載の機器制御装置。
【請求項3】
前記機器制御部は、前記検査モードであるときに前記機器制御部に入力される前記制御量信号のパルス周期が予め定められた基準範囲内の値であることを条件に、前記制御モードを前記通常モードに切り替えるものである、
請求項2に記載の機器制御装置。
【請求項4】
前記制御モードは、前記機器制御装置の異常に対応するための異常制御を実行する異常モードを含み、
前記機器制御部は、前記検査モードであるときに前記機器制御部に入力される前記制御量信号のパルス周期が前記基準範囲外の値であるときには、前記制御モードを前記異常モードに切り替えるものである、
請求項3に記載の機器制御装置。
【請求項5】
前記機器制御部は、前記異常モードであるときに前記利用用信号が入力されたこと、且つ、同入力された前記利用用信号のパルス周期が予め定められた復帰範囲内の値であることを条件に、前記制御モードを前記異常モードから前記通常モードに復帰させるものであり、
前記復帰範囲は、前記基準範囲よりも狭い範囲が定められている、
請求項4に記載の機器制御装置。
発明の詳細な説明
【技術分野】
【0001】
本発明は、機器制御装置に関するものである。
続きを表示(約 1,900 文字)
【背景技術】
【0002】
従来、車両に設けられる電子機器などの車載の制御対象機器を制御する機器制御装置が知られている。機器制御装置を製造する際には、多くの場合、車両出荷前において機器制御装置の検査が実行される。そうした機器制御装置において、上記機器を制御する制御モードとして、出荷前の検査時に設定される検査モードと、出荷後の利用時に設定される通常モードとを定めることが実用されている(例えば、特許文献1参照)。
【0003】
特許文献1に記載の機器制御装置では、制御モードを切り替える際には、先ず、機器制御装置に外部機器が接続される。その後、外部機器の操作を通じて同外部機器からモード切替信号が出力されるとともに、同信号が機器制御装置に入力される。そして、機器制御装置は、このモード切替信号をもとに、機器の制御モードを切り替える。
【先行技術文献】
【特許文献】
【0004】
特開2005-18429号公報
【発明の概要】
【発明が解決しようとする課題】
【0005】
上記機器制御装置は、制御モードの切り替えのために、モード切替信号や、同信号を入力するインターフェイス、同信号を処理する信号処理回路などが必要になる。したがって、機器制御装置の構造が複雑になるばかりか、同機器制御装置の設定にかかる作業が繁雑になってしまう。
【課題を解決するための手段】
【0006】
上記課題を解決するための装置の各態様を記載する。
[態様1]外部機器から入力される制御信号に応じて車載の制御対象機器の制御量を調節するための制御量信号を出力する制御量調節部と、前記制御量調節部から入力される前記制御量信号をもとに前記制御対象機器を制御する機器制御部と、を備える機器制御装置であって、前記制御量調節部は、前記機器制御装置の検査時には、前記外部機器として検査装置が接続されるとともに、同検査装置から入力される前記制御信号としての第1制御信号に応じて、前記制御量信号としての検査用信号を出力するものであり、且つ、前記機器制御装置の利用時には、前記外部機器として通常制御装置が接続されるとともに、同通常制御装置から入力される前記制御信号としての第2制御信号に応じて、前記検査用信号とは異なる利用用信号を前記制御量信号として出力するものであり、前記機器制御部によって前記制御対象機器を制御する制御モードは、前記検査用信号に基づいて前記機器制御装置の検査のための検査制御を実行する検査モードと、前記利用用信号に基づいて前記機器制御装置の利用のための利用制御を実行する通常モードと、を含み、前記機器制御部は、前記検査モードであるときに前記利用用信号が入力されたことを条件に、前記制御モードを前記検査モードから前記通常モードに切り替えるものである、機器制御装置。
【0007】
上記構成によれば、車載の制御対象機器を制御する制御モードの切り替えを、同制御対象機器の制御量を調節するための制御量信号や、同信号を入力するインターフェイス、同信号を処理する信号処理回路を利用して実行することができる。これにより、制御モードを切り替えるための専用の構成が不要になるため、機器制御装置を簡素な構造にすることができる。
【0008】
[態様2]前記制御量調節部は、前記検査用信号としてはデューティ比が「0%」または「100%」の信号を出力するものであり、且つ、前記利用用信号としてはデューティ比が「100%未満」の信号を出力するものであり、前記検査モードであるときに前記利用用信号が入力されたことは、前記検査モードであるときに前記機器制御部に入力される前記制御量信号のデューティ比が「0%」よりも大きく、且つ「100%未満」になったことである、[態様1]に記載の機器制御装置。
【0009】
上記構成によれば、検査モードであるときに機器制御部に入力される制御量信号のデューティ比が、検査用信号としては設定されない値、すなわち利用用信号としてのみ設定される値(0%<デューティ比<100%)になったことをもって、検査モードであるときに利用用信号が入力されたことを精度良く判断することができる。
【0010】
[態様3]前記機器制御部は、前記検査モードであるときに前記機器制御部に入力される前記制御量信号のパルス周期が予め定められた基準範囲内の値であることを条件に、前記制御モードを前記通常モードに切り替えるものである、[態様2]に記載の機器制御装置。
(【0011】以降は省略されています)
この特許をJ-PlatPat(特許庁公式サイト)で参照する
関連特許
豊田合成株式会社
殺菌装置
18日前
豊田合成株式会社
着座装置
20日前
豊田合成株式会社
操作装置
1か月前
豊田合成株式会社
表示装置
1か月前
豊田合成株式会社
発光素子
1か月前
豊田合成株式会社
半導体素子
26日前
豊田合成株式会社
ガラスラン
4日前
豊田合成株式会社
ガラスラン
11日前
豊田合成株式会社
ガラスラン
4日前
豊田合成株式会社
乗員保護装置
1か月前
豊田合成株式会社
樹脂成形装置
12日前
豊田合成株式会社
流体殺菌装置
2か月前
豊田合成株式会社
流体殺菌装置
18日前
豊田合成株式会社
流体殺菌装置
18日前
豊田合成株式会社
流体殺菌装置
2か月前
豊田合成株式会社
流体殺菌装置
28日前
豊田合成株式会社
車両用外装品
1か月前
豊田合成株式会社
乗員保護装置
2か月前
豊田合成株式会社
車両用外装品
1か月前
豊田合成株式会社
下肢保護装置
2か月前
豊田合成株式会社
車載照明装置
1か月前
豊田合成株式会社
車両用外装品
1か月前
豊田合成株式会社
車両用内装品
6日前
豊田合成株式会社
流体殺菌装置
1か月前
豊田合成株式会社
情報処理装置
1か月前
豊田合成株式会社
乗員保護装置
1か月前
豊田合成株式会社
流体殺菌装置
1か月前
豊田合成株式会社
流体殺菌装置
2か月前
豊田合成株式会社
機器制御装置
4日前
豊田合成株式会社
乗員保護装置
4日前
豊田合成株式会社
車両用外装品
4日前
豊田合成株式会社
車両用内装品
6日前
豊田合成株式会社
ミスト噴射装置
1か月前
豊田合成株式会社
車両の前部構造
1か月前
豊田合成株式会社
電動液体ポンプ
4日前
豊田合成株式会社
電動液体ポンプ
4日前
続きを見る
他の特許を見る