TOP
|
特許
|
意匠
|
商標
特許ウォッチ
Twitter
他の特許を見る
10個以上の画像は省略されています。
公開番号
2025144444
公報種別
公開特許公報(A)
公開日
2025-10-02
出願番号
2024044213
出願日
2024-03-19
発明の名称
端末所持者検知装置及び端末所持者検知方法
出願人
セコム株式会社
代理人
個人
,
個人
,
個人
主分類
G01S
5/02 20100101AFI20250925BHJP(測定;試験)
要約
【課題】受信強度の角度スペクトルから発信端末の所持者の位置を推定する推定精度を向上する。
【解決手段】端末所持者検知装置は、監視空間内に存在する発信端末からの電波を受信する受信部300と、監視空間内に存在する複数の人物の位置を検出する位置検出部200と、監視空間内の各所における電波の反射率及び空間構造の情報を示す構造情報112を予め記憶した記憶部111と、構造情報112と人物の位置情報とに基づいて、複数の人物の各々の位置から発信された電波の間接波が受信部300の位置にて受信される場合の受信強度の理論値を、複数の人物ごとに算出する伝搬情報算出部120と、複数の人物のうち、発信端末から発信された電波の間接波成分の受信強度の実測値と理論値とを比較し、発信端末を所持する人物を判定する比較決定部160と、を備える。
【選択図】図3
特許請求の範囲
【請求項1】
監視空間内に存在する発信端末からの電波を受信する受信部と、
前記監視空間内に存在する複数の人物の位置を検出する位置検出部と、
前記監視空間内の各所における電波の反射率及び空間構造の情報を示す構造情報を予め記憶した記憶部と、
前記構造情報と前記人物の位置情報とに基づいて、前記複数の人物の各々の位置から発信された電波の間接波が前記受信部の位置にて受信される場合の受信強度の理論値を、前記複数の人物ごとに算出する伝搬情報算出部と、
前記複数の人物のうち、前記発信端末から発信された電波の間接波成分の受信強度の実測値と前記理論値とを比較し、前記発信端末を所持する人物を判定する比較決定部と、
を備えることを特徴とする端末所持者検知装置。
続きを表示(約 2,400 文字)
【請求項2】
前記発信端末から前記受信部へ到来する電波の直接波成分の受信強度の理論値として予め生成された複数の異なる直接波成分理論値を、前記受信部にて受信された電波の受信強度からそれぞれ減算することにより、前記間接波成分の受信強度の実測値の複数の候補を演算する実測値算出部を備え、
前記比較決定部は、前記複数の候補に最も類似する前記理論値が算出された人物が前記発信端末を所持すると決定する、
ことを特徴とする請求項1に記載の端末所持者検知装置。
【請求項3】
前記発信端末から前記受信部へ到来する直接波成分の受信強度が減少し間接波成分の受信強度が増加するように前記受信部の指向性を制御して、前記間接波成分の受信強度の実測値を求めることを特徴とする請求項1に記載の端末所持者検知装置。
【請求項4】
前記伝搬情報算出部は、前記構造情報と前記位置情報とに基づいて、前記複数の人物の各々の位置から発信された電波の直接波と間接波の両方が前記受信部の位置にて受信される場合の受信強度の理論値を第1理論値として算出するとともに、前記複数の人物の各々の位置から発信された電波の間接波が前記受信部の位置にて受信される場合の受信強度の理論値を第2理論値として算出し、
前記比較決定部は、前記受信部にて受信された電波の直接波成分と間接波成分の合計の受信強度の実測値である第1実測値と前記第1理論値とを比較して前記発信端末を所持する人物を判定し、前記第1実測値と前記第1理論値とが前記複数の人物の間で類似している場合、前記受信部にて受信された電波の間接波成分の受信強度の実測値である第2実測値と前記第2理論値とを比較し前記発信端末を所持する人物を判定する、
ことを特徴とする請求項1~3のいずれか一項に記載の端末所持者検知装置。
【請求項5】
前記伝搬情報算出部は、前記構造情報と前記位置情報とに基づいて、前記複数の人物の各々の位置から発信された電波の直接波と間接波の両方が前記受信部の位置にて受信される場合の受信強度の理論値を第1理論値として算出するとともに、前記複数の人物の各々の位置から発信された電波の間接波が前記受信部の位置にて受信される場合の受信強度の理論値を第2理論値として算出し、
前記比較決定部は、前記複数の人物の位置関係に基づいて、前記受信部にて受信された電波の直接波成分と間接波成分の合計の受信強度の実測値である第1実測値と前記第1理論値とを比較し前記発信端末を所持する人物を判定するか、前記受信部にて受信された電波の間接波成分の受信強度の実測値である第2実測値と前記第2理論値とを比較し前記発信端末を所持する人物を判定するか、を判断する、
ことを特徴とする請求項1~3のいずれか一項に記載の端末所持者検知装置。
【請求項6】
前記伝搬情報算出部は、前記構造情報と前記位置情報とに基づいて、前記複数の人物の各々の位置から発信された電波の直接波と間接波の両方が前記受信部の位置にて受信される場合の受信強度の理論値を第1理論値として算出するとともに、前記複数の人物の各々の位置から発信された電波の間接波が前記受信部の位置にて受信される場合の受信強度の理論値を第2理論値として算出し、
前記比較決定部は、前記複数の人物のうちいずれかと前記受信部とを結ぶ線分の近傍に障害物が存在している場合に、前記受信部にて受信された電波の間接波成分の受信強度の実測値である第2実測値と前記第2理論値とを比較し前記発信端末を所持する人物を判定し、前記複数の人物の各々と前記受信部とをそれぞれ結ぶ線分のいずれの近傍にも障害物が存在していない場合に、前記受信部にて受信された電波の直接波成分と間接波成分の合計の受信強度の実測値である第1実測値と前記第1理論値とを比較し前記発信端末を所持する人物を判定する、
ことを特徴とする請求項1~3のいずれか一項に記載の端末所持者検知装置。
【請求項7】
前記伝搬情報算出部は、前記構造情報と前記位置情報とに基づいて、前記複数の人物の各々の位置から発信された電波の直接波と間接波の両方が前記受信部の位置にて受信される場合の受信強度の理論値を第1理論値として算出するとともに、前記複数の人物の各々の位置から発信された電波の間接波が前記受信部の位置にて受信される場合の受信強度の理論値を第2理論値として算出し、
前記比較決定部は、前記受信部で受信した電波の受信強度の実測値の時間変動度合いの大きさに基づいて、前記受信部にて受信された電波の直接波成分と間接波成分の合計の受信強度の実測値である第1実測値と前記第1理論値とを比較し前記発信端末を所持する人物を判定するか、前記受信部にて受信された電波の間接波成分の受信強度の実測値である第2実測値と前記第2理論値とを比較し前記発信端末を所持する人物を判定するか、を判断する、
ことを特徴とする請求項1~3のいずれか一項に記載の端末所持者検知装置。
【請求項8】
監視空間内に存在する発信端末からの電波を受信装置により受信し、
前記監視空間内に存在する複数の人物の位置を検出し、
前記監視空間内の各所における電波の反射率及び空間構造の情報として予め記憶装置に記憶された構造情報と、前記受信装置及び前記人物の位置情報と、に基づいて、前記複数の人物の各々の位置から発信された電波の間接波が前記受信装置の位置にて受信される場合の受信強度の理論値を、前記複数の人物ごとに算出し、
前記複数の人物のうち、前記発信端末から発信された電波の間接波成分の受信強度の実測値と前記理論値とを比較し、前記発信端末を所持する人物を判定する
ことを特徴とする端末所持者検知方法。
発明の詳細な説明
【技術分野】
【0001】
本発明は、端末所持者検知装置及び端末所持者検知方法に関する。
続きを表示(約 2,300 文字)
【背景技術】
【0002】
近年、情報漏洩を防ぐために、機密性の高い部屋にスマートフォンなどの発信端末を持ち込んだ者を検出することが求められている。
下記特許文献1には、発信端末の位置を推定する技術の一つとして、受信装置の受信信号から角度スペクトル(すなわち各方向における電波の受信強度の分布)の実測値を算出し、室内の人物の位置を検出し、この検出位置から電波が発信された場合の受信装置での受信強度の角度スペクトルの理論値を算出し、理論値と実測値との比較を行うことで発信端末の所持者を検知する技術が開示されている。
【先行技術文献】
【特許文献】
【0003】
特許第6396355号公報
【発明の概要】
【発明が解決しようとする課題】
【0004】
発信端末から受信装置が受信する電波には、発信端末から受信装置へ直接到達する直接波と、何らかの物体で反射してから到達する間接波とが含まれている。このうち直接波が角度スペクトルに及ぼす影響が支配的であることが原因で、発信端末の所持者の検知精度が低下することがある。例えば、受信装置から見て同じ方向に複数の人物が位置している場合は、これら人物に対して似通った角度スペクトルの理論値が算出されるため、どの人物が所持しているか区別できなくなる虞がある。
【0005】
また例えば、受信装置が直接波から遮蔽(オクルージョン)されている場合には、遮蔽具合によって様々な角度スペクトルが観測され、無関係な人物が所持者と誤検知される虞がある。
本発明は、上記の問題点を鑑みてなされたものであり、受信強度の角度スペクトルから発信端末の所持者の位置を検知する検知精度を向上することを目的とする。
【課題を解決するための手段】
【0006】
本発明の一形態による端末所持者検知装置は、監視空間内に存在する発信端末からの電波を受信する受信部と、監視空間内に存在する複数の人物の位置を検出する位置検出部と、監視空間内の各所における電波の反射率及び空間構造の情報を示す構造情報を予め記憶した記憶部と、構造情報と人物の位置情報とに基づいて、複数の人物の各々の位置から発信された電波の間接波が受信部の位置にて受信される場合の受信強度の理論値を、複数の人物ごとに算出する伝搬情報算出部と、複数の人物のうち、発信端末から発信された電波の間接波成分の受信強度の実測値と理論値とを比較し、発信端末を所持する人物を判定する比較決定部と、を備える。
【発明の効果】
【0007】
本発明によれば、受信強度の角度スペクトルから発信端末の所持者の位置を検知する検知精度を向上できる。
【図面の簡単な説明】
【0008】
実施形態に係る端末所持者検知システムが設置されて運用される様子を示す模式図である。
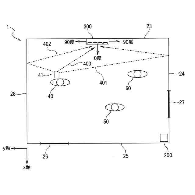
本発明の実施形態の端末所持者検知システムが設置され運用される様子の一例を上から見下ろした俯瞰図である。
本発明の実施形態の端末所持者検知システムの概略構成の一例のブロック図である。
受信装置で受信した電波の角度スペクトルの実測値の一例を示す図である。
(a)~(c)は、それぞれ人物40、50及び60の位置から発信された電波が受信装置の位置にて受信される場合の角度スペクトルの理論値の一例を示す図である。
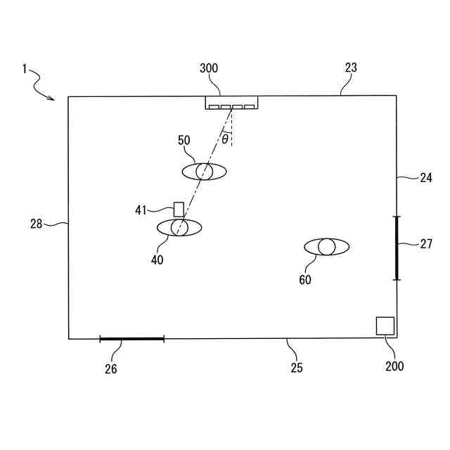
受信装置から見て同じ方向に複数の人物が位置している様子の一例を上から見下ろした俯瞰図である。
受信装置で受信した電波の間接波の角度スペクトルの実測値の一例を示す図である。
(a)~(c)は、それぞれ人物40、50及び60の位置から発信された電波の間接波が受信装置の位置にて受信される場合の角度スペクトルの理論値の一例を示す図である。
(a)~(d)は、間接波の角度スペクトルの実測値の算出方法の一例の説明図である。
図9(a)~図9(d)により算出した間接波の角度スペクトルの実測値と、理論値との間の類似度の算出方法の一例の説明図である。
(a)及び(b)は、受信装置が直接波から遮蔽されている様子の一例を上から見下ろした俯瞰図である。
実施形態の端末所持者検知方法の一例のフローチャートである。
【発明を実施するための形態】
【0009】
以下において、図面を参照して本発明の実施形態を説明する。なお、以下に示す本発明の実施形態は、本発明の技術的思想を具体化するための装置や方法を例示するものであって、本発明の技術的思想は、構成部品の構造、配置等を下記のものに特定するものではない。本発明の技術的思想は、特許請求の範囲に記載された請求項が規定する技術的範囲内において、種々の変更を加えることができる。
【0010】
以下、本発明の好適な実施の形態として、本発明にかかる端末所持者検知システムを監視空間として機密性の高い部屋に設置して運用した場合を例示し、図を参照しつつ説明する。本実施の形態では、発信端末はスマートフォンやタブレット端末と想定している。
その理由は、近年、スマートフォンやタブレット端末が小型化高性能化しており、簡単な操作で大量の情報を送信できるようになっている。するとそのような端末を鞄や着衣に隠し持っていても外見からはわからず、機密情報を扱う部屋に持ち込まれると情報漏洩の危険性があり、その所持者を発見、特定することが求められるからである。
(【0011】以降は省略されています)
この特許をJ-PlatPat(特許庁公式サイト)で参照する
関連特許
セコム株式会社
自律移動ロボット
21日前
セコム株式会社
火災監視システム
28日前
セコム株式会社
表示機能付き認証装置
21日前
セコム株式会社
データ処理装置及びデータ処理方法
28日前
セコム株式会社
生活見守りシステム及びプログラム
21日前
セコム株式会社
生活見守りシステム及びプログラム
21日前
セコム株式会社
自律移動ロボットおよび制御システム
21日前
セコム株式会社
自律移動ロボットおよび制御システム
21日前
セコム株式会社
センタ装置、対話システム及び対話方法
29日前
セコム株式会社
対話システム、対話方法及びセンタ装置
29日前
セコム株式会社
端末所持者検知装置及び端末所持者検知方法
29日前
セコム株式会社
飛行ロボットの画像表示装置及び画像表示方法
21日前
セコム株式会社
飛行ロボットの画像表示装置及び画像表示方法
21日前
株式会社デンソーウェーブ
通行管理システム
22日前
セコム株式会社
飛行ロボットの画像表示装置および画像表示方法
22日前
セコム株式会社
飛行ロボットの画像表示装置および画像表示方法
22日前
セコム株式会社
警備システム、サーバ、警備装置及び作業ロボット
1か月前
セコム株式会社
警備システム、サーバ、警備装置及び作業ロボット
1か月前
セコム株式会社
自律飛行ロボットの飛行制御システム及び飛行制御方法
22日前
セコム株式会社
飛行ロボットの画像管理装置、画像管理システム及び画像管理方法
21日前
セコム株式会社
飛行ロボットの画像管理装置、画像管理システム及び画像管理方法
21日前
セコム株式会社
飛行ロボットの画像管理装置、画像管理システム及び画像管理方法
21日前
セコム株式会社
飛行ロボットの画像管理装置、画像管理システム及び画像管理方法
21日前
セコム株式会社
データ処理装置、学習データ生成装置、データ処理方法及び学習データ生成方法
24日前
セコム株式会社
警備システム、携帯端末、プログラム及び警備方法
3日前
セコム株式会社
携帯端末、警備システム、プログラム及び表示方法
1か月前
セコム株式会社
警備システム、携帯端末、プログラム及び警備方法
3日前
個人
メジャー文具
24日前
個人
採尿及び採便具
1日前
個人
高精度同時多点測定装置
16日前
個人
アクセサリー型テスター
17日前
ユニパルス株式会社
ロードセル
23日前
株式会社ミツトヨ
測定器
7日前
アズビル株式会社
圧力センサ
29日前
アズビル株式会社
電磁流量計
10日前
株式会社ヨコオ
ソケット
23日前
続きを見る
他の特許を見る