TOP
|
特許
|
意匠
|
商標
特許ウォッチ
Twitter
他の特許を見る
公開番号
2025126894
公報種別
公開特許公報(A)
公開日
2025-08-29
出願番号
2025010610
出願日
2025-01-24
発明の名称
高炉の原料装入方法
出願人
JFEスチール株式会社
代理人
個人
主分類
C21B
5/00 20060101AFI20250822BHJP(鉄冶金)
要約
【課題】炉頂部に専用のホッパーを設けることなく、炉半径方向の還元負荷の大きい部位に還元鉄を装入することができる高炉の原料装入方法を提供する。
【解決手段】ベルレス式高炉において鉱石原料と還元鉄を混合して高炉に装入する方法であり、鉱石原料を装入コンベアにより炉頂バンカーの1つに装入する際に、装入コンベアで搬送される鉱石原料の上に還元鉄を切り出すことにより、鉱石原料の積載長さのうち、搬送方向で先頭側からの距離が18%以上75%以内の長さ範囲の鉱石原料上に還元鉄を積層させ、その状態で鉱石原料と還元鉄を炉頂バンカーに装入する。その炉頂バンカー内の原料を旋回シュートで炉内装入する際には、旋回シュートを旋回させつつ、傾動させて原料装入位置を炉中心周辺部から炉壁部側に移動させながら原料の装入を行なう。
【選択図】図2
特許請求の範囲
【請求項1】
複数の炉頂バンカーが並列して配置され、旋回シュートにより炉内に原料を装入する原料装入装置を有するベルレス式高炉において、焼結鉱、ペレット及び塊鉱石の少なくとも1種を含む鉱石類原料(a)と、還元鉄又は/及び粒銑を含む金属鉄原料(b)を混合して高炉に装入する方法であって、
鉱石類原料(a)を装入コンベアにより炉頂に搬送して前記炉頂バンカーの1つに装入する際に、該装入コンベアで搬送される鉱石類原料(a)の上に金属鉄原料(b)を切り出すことにより、該装入コンベアに積載された鉱石類原料(a)の積載長さのうち、搬送方向で先頭側からの距離が18%以上75%以内の長さ範囲の鉱石類原料(a)上に金属鉄原料(b)を積層させ、その状態で鉱石類原料(a)と金属鉄原料(b)を前記炉頂バンカーに装入し、
該炉頂バンカー内の原料を前記旋回シュートで炉内に装入する際には、該旋回シュートを旋回させつつ、傾動させて原料装入位置を炉中心周辺部から炉壁部側に移動させながら原料の装入を行なうことを特徴とする高炉の原料装入方法。
続きを表示(約 1,100 文字)
【請求項2】
鉱石類原料(a)を前記装入コンベアにより炉頂に搬送して前記炉頂バンカーの1つに装入する際に、該装入コンベアに積載された鉱石類原料(a)の積載長さのうち、搬送方向で先頭側からの距離が18%以上32%以内の長さ範囲の鉱石類原料(a)上に金属鉄原料(b)を積層させることを特徴とする請求項1に記載の高炉の原料装入方法。
【請求項3】
1チャージ分の鉱石類原料(a)を2バッチで炉内に装入するに際し、
1バッチ目の鉱石類原料(a)に金属鉄原料(b)を混合して炉内に装入することを特徴とする請求項1又は2に記載の高炉の原料装入方法。
【請求項4】
2バッチ目の鉱石類原料(a)には金属鉄原料(b)を混合することなく炉内に装入することを特徴とする請求項3に記載の高炉の原料装入方法。
【請求項5】
前記炉頂バンカー内に偏析制御板が設置され、
前記装入コンベアで搬送された鉱石類原料(a)と金属鉄原料(b)を前記炉頂バンカーに装入する際には、前記偏析制御板の原料受け面が炉半径方向で炉外側方向を向き、且つ炉外側方向に対して下向きに傾斜した状態で、上方から落下する原料を前記偏析制御板の原料受け面を経由して下方に落下させ、バンカー内に堆積させることを特徴とする請求項1又は2に記載の高炉の原料装入方法。
【請求項6】
金属鉄原料(b)の平均見掛け密度[ρ
b
]が鉱石類原料(a)の平均見掛け密度[ρ
a
]よりも大きいことを特徴とする請求項1又は2に記載の高炉の原料装入方法。
【請求項7】
金属鉄原料(b)の平均見掛け密度[ρ
b
]と鉱石類原料(a)の平均見掛け密度[ρ
a
]の比[ρ
b
]/[ρ
a
]が1.25以上であることを特徴とする請求項6に記載の高炉の原料装入方法。
【請求項8】
金属鉄原料(b)のアスペクト比が1.4以上であることを特徴とする請求項1又は2に記載の高炉の原料装入方法。
【請求項9】
金属鉄原料(b)の平均粒径[d
b
]が鉱石類原料(a)の平均粒径[d
a
]よりも大きいことを特徴とする請求項1又は2に記載の高炉の原料装入方法。
【請求項10】
金属鉄原料(b)の平均粒径[d
b
]と鉱石類原料(a)の平均粒径[d
a
]の比[d
b
]/[d
a
]が3.5以上であることを特徴とする請求項9に記載の高炉の原料装入方法。
(【請求項11】以降は省略されています)
発明の詳細な説明
【技術分野】
【0001】
本発明は、ベルレス式高炉において所望の装入物分布を得るための原料装入方法に関するものである。
続きを表示(約 2,800 文字)
【背景技術】
【0002】
近年、CO
2
排出量の増加による地球温暖化が問題となっており、製鉄業においても排出CO
2
の抑制は重要な課題である。製鉄所から排出されるCO
2
の大部分は高炉から排出されている。高炉におけるCO
2
排出量の削減は、高炉で使用する還元材(コークス、微粉炭、天然ガスなど)の削減により可能である。
コークスは、鉱石原料の溶解のための熱源、鉱石原料の還元材、溶鉄へ浸炭し融点を低下させるための加炭材、及び高炉内の通気性を確保するためのスペーサの役割を果たしている。このコークスにより通気性を維持することで、装入物の荷下がりを安定させ、高炉の安定操業を図っている。
ここで、CO
2
排出量削減の観点からは、高炉に装入するコークスの割合は低いことが望ましい。しかし、コークスの割合を低くすると、上述のコークスの果たす役割も低下するため、鉱石層の還元効率の向上とともに通気性の改善があわせて必要となる。
【0003】
この問題の対策として、還元鉄や鉄スクラップなどの金属鉄原料の利用が検討され、従来、その装入形態などについて種々の提案がなされている。そのなかで、特許文献1には、鉱石の還元負荷が高いことを示す、排ガスのガス利用率が高い部位に対して、炉頂部の副ホッパーに保持された還元鉄や鉄スクラップを、主ホッパーに保持された鉱石とともに旋回シュートで装入する方法が示されている。以下、金属鉄原料として還元鉄を用いる場合を例に述べる。
この特許文献1の方法によれば、高炉半径方向において還元負荷の大きい部位に限定して還元鉄を装入することができるため、炉内での鉱石の還元状態を効果的に安定化させることができ、またガス流れも安定化させることができる。
【先行技術文献】
【特許文献】
【0004】
特開2019-183270号公報
【非特許文献】
【0005】
松崎眞六,田口善弘、「粒子径と粒子密度の双方を考慮した偏析現象の解析」、鉄と鋼、2002年、Vol.88、No.12、p.823-830
【発明の概要】
【発明が解決しようとする課題】
【0006】
しかし、特許文献1の方法では、還元鉄を保持する専用の副ホッパーを炉頂に設ける必要があるため、設備コストが増大するという問題がある。また、専用のホッパーから還元鉄を装入することで装入時間が長くなるという問題もある。一方、このような問題に対しては、還元鉄を装入するバッチを別に設定する装入方法も考えられるが、この方法では、装入バッチ数の増加により装入時間が長くなり、生産性が低下してしまう。
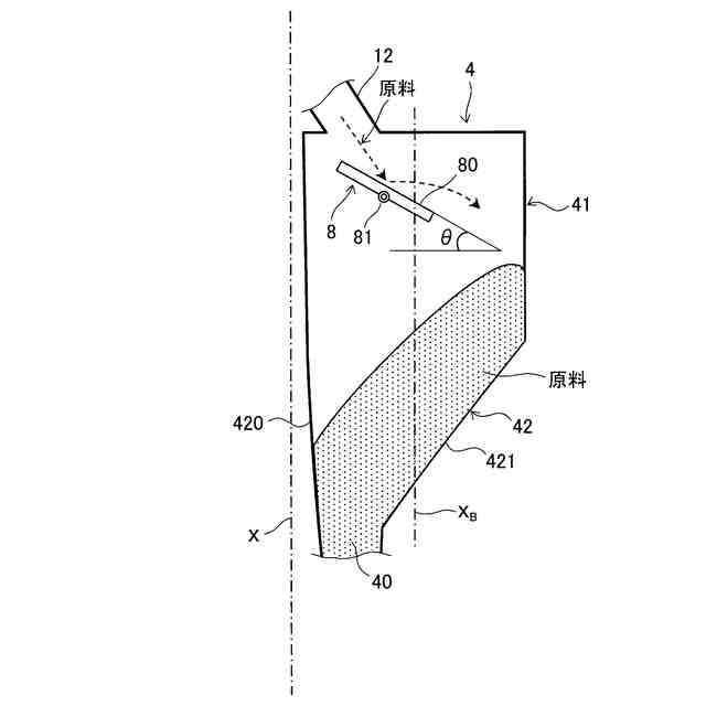
上記のような課題を解決するためには、原料ホッパーから装入コンベア上に切り出された還元鉄と、別途装入コンベア上に切り出された鉱石類原料とを、1つの炉頂バンカーに装入した後に、旋回シュートを通じて炉内に装入する必要がある。しかし、例えば、鉱石類原料を2分割し、1バッチ目に還元鉄を混合した場合に、還元鉄と鉱石類原料をどのように炉頂バンカーに装入すれば、還元鉄を高炉半径方向において還元負荷の大きい部位に装入できるかについては、これまで知見が得られていなかった。
【0007】
したがって本発明の目的は、以上のような従来技術の課題を解決し、炉頂部に還元鉄など専用ホッパーを設けることなく、また、装入バッチ数を増加させることなく、高炉半径方向において還元負荷の大きい部位に還元鉄などの金属鉄原料を装入することができる原料装入方法を提供することにある。
【課題を解決するための手段】
【0008】
金属鉄原料として還元鉄を用いる場合を例に述べると、本発明者らは上記課題を解決すべく、(i)装入コンベア上での還元鉄の切り出し方法(鉱石類原料上への積層形態)、(ii)旋回シュートの傾動方法、(iii)炉頂バンカー内での偏析制御板の使用、(iv)鉱石類原料の2バッチ装入での還元鉄の混合方法、などの要素(及びそれらの組み合わせ)と装入物分布(還元鉄の分布)との関係について、鋭意検討を重ねた。その結果、上記(i)、(ii)を最適化して組み合わせ、好ましくは、さらに上記(iii)及び/又は(iv)を最適化して組み合わせることにより、1つの炉頂バンカーに保持された鉱石類原料と還元鉄を炉内装入する際に、所望の位置(還元負荷の大きい部位)に還元鉄を的確に装入できることが判った。
【0009】
本発明はこのような知見に基づきなされたもので、以下を要旨とするものである。
[1]複数の炉頂バンカーが並列して配置され、旋回シュートにより炉内に原料を装入する原料装入装置を有するベルレス式高炉において、焼結鉱、ペレット及び塊鉱石の少なくとも1種を含む鉱石類原料(a)と、還元鉄又は/及び粒銑を含む金属鉄原料(b)を混合して高炉に装入する方法であって、
鉱石類原料(a)を装入コンベアにより炉頂に搬送して前記炉頂バンカーの1つに装入する際に、該装入コンベアで搬送される鉱石類原料(a)の上に金属鉄原料(b)を切り出すことにより、該装入コンベアに積載された鉱石類原料(a)の積載長さのうち、搬送方向で先頭側からの距離が18%以上75%以内の長さ範囲の鉱石類原料(a)上に金属鉄原料(b)を積層させ、その状態で鉱石類原料(a)と金属鉄原料(b)を前記炉頂バンカーに装入し、
該炉頂バンカー内の原料を前記旋回シュートで炉内に装入する際には、該旋回シュートを旋回させつつ、傾動させて原料装入位置を炉中心周辺部から炉壁部側に移動させながら原料の装入を行なうことを特徴とする高炉の原料装入方法。
【0010】
[2]上記[1]の原料装入方法において、鉱石類原料(a)を前記装入コンベアにより炉頂に搬送して前記炉頂バンカーの1つに装入する際に、該装入コンベアに積載された鉱石類原料(a)の積載長さのうち、搬送方向で先頭側からの距離が18%以上32%以内の長さ範囲の鉱石類原料(a)上に金属鉄原料(b)を積層させることを特徴とする高炉の原料装入方法。
[3]上記[1]又は[2]の原料装入方法において、
1チャージ分の鉱石類原料(a)を2バッチで炉内に装入するに際し、
1バッチ目の鉱石類原料(a)に金属鉄原料(b)を混合して炉内に装入することを特徴とする高炉の原料装入方法。
[4]上記[3]の原料装入方法において、2バッチ目の鉱石類原料(a)には金属鉄原料(b)を混合することなく炉内に装入することを特徴とする高炉の原料装入方法。
(【0011】以降は省略されています)
この特許をJ-PlatPat(特許庁公式サイト)で参照する
関連特許
個人
バイオ水素製鉄方法
2か月前
新和環境株式会社
炉システム
7か月前
新和環境株式会社
炉システム
7か月前
日本製鉄株式会社
転炉精錬方法
1か月前
日本製鉄株式会社
転炉精錬方法
6か月前
日本製鉄株式会社
溶鉄の製造方法
1か月前
日本製鉄株式会社
溶鉄の製造方法
15日前
富士電子工業株式会社
焼入れ装置
2か月前
日本製鉄株式会社
溶鋼の製造方法
2か月前
株式会社伊原工業
還元鉄の製造方法
7か月前
中外炉工業株式会社
連続式熱処理炉
5か月前
株式会社不二越
熱処理システム
1か月前
中外炉工業株式会社
前処理装置
4か月前
バイオメッド バレー ディスカバリーズ,インコーポレイティド
C21H22Cl2N4O2の結晶形態
4か月前
日本製鉄株式会社
溶銑の予備処理方法
3か月前
日本製鉄株式会社
溶鋼の脱窒処理方法
13日前
株式会社デンケン
高温炉
7か月前
高周波熱錬株式会社
熱処理方法及び熱処理装置
2か月前
高周波熱錬株式会社
熱処理方法及び熱処理装置
13日前
大同特殊鋼株式会社
浸炭部材の製造方法
4か月前
JFEスチール株式会社
高炉の原料装入方法
3か月前
大同特殊鋼株式会社
熱処理設備
2か月前
JFEスチール株式会社
高炉の原料装入方法
1か月前
日本製鉄株式会社
脱りん方法
5か月前
バイオメッド バレー ディスカバリーズ,インコーポレイティド
結晶性C21H22Cl2N4O2マロン酸塩
1か月前
東京窯業株式会社
溶鋼処理用の浸漬管
3か月前
日本製鉄株式会社
高炉の操業方法
5か月前
日本製鉄株式会社
高炉の操業方法
5か月前
日本製鉄株式会社
高炉の冷却構造
1か月前
日本製鉄株式会社
高炉の操業方法
4か月前
出光興産株式会社
熱処理油
2か月前
大同特殊鋼株式会社
雰囲気熱処理炉
1か月前
日本製鉄株式会社
鋼の製造方法
2か月前
富士電子工業株式会社
クランクシャフト支持装置
5か月前
出光興産株式会社
熱処理油
2か月前
日本製鉄株式会社
鋼の製造方法
4か月前
続きを見る
他の特許を見る