TOP
|
特許
|
意匠
|
商標
特許ウォッチ
Twitter
他の特許を見る
公開番号
2025127117
公報種別
公開特許公報(A)
公開日
2025-09-01
出願番号
2024023649
出願日
2024-02-20
発明の名称
不吐出検出装置
出願人
理想科学工業株式会社
代理人
個人
,
個人
,
個人
主分類
B41J
2/01 20060101AFI20250825BHJP(印刷;線画機;タイプライター;スタンプ)
要約
【課題】ノズルパターンの誤検知を低減する。
【解決手段】ノズルパターンデータに基づいて印刷された媒体から読み取られた画像データに基づいて、ノズルパターンに対応する画素とその周辺の画素との濃度差と、ノズルパターンに対応する画素の濃度と、に基づいて、ノズルパターンを検出する検出部22を備え、検出部22は、ノズルパターンに対応する画素の濃度を複数の測定点で取得し、測定点における濃度の全てが所定の濃度閾値以上であり、かつ、複数の測定点のいずれかにおいて主走査方向における両側に所定距離だけ離れた周辺測定点と測定点との濃度差が所定の濃度差閾値以上である場合にノズルパターンとして検出する。
【選択図】 図2
特許請求の範囲
【請求項1】
ノズルパターンデータに基づいて印刷された媒体から読み取られた画像データに基づいて、ノズルパターンに対応する画素とその周辺の画素との濃度差と、前記ノズルパターンに対応する画素の濃度と、に基づいて、前記ノズルパターンを検出する検出部を、
を備えたことを特徴とする不吐出検出装置。
続きを表示(約 260 文字)
【請求項2】
前記検出部は、前記ノズルパターンに対応する画素の濃度を複数の測定点で取得し、前記測定点における濃度の全てが所定の濃度閾値以上であり、かつ、前記複数の測定点のいずれかにおいて主走査方向における両側に所定距離だけ離れた周辺測定点と前記測定点との濃度差が所定の濃度差閾値以上である場合に、前記ノズルパターンとして検出する
ことを特徴とする請求項1記載の不吐出検出装置。
【請求項3】
前記測定点は副走査方向に少なくとも2以上ある
ことを特徴とする請求項2記載の不吐出検出装置。
発明の詳細な説明
【技術分野】
【0001】
本発明は、不吐出検出装置に係り、特に、ノズルパターンの誤検知を低減する不吐出検出装置に関する。
続きを表示(約 1,000 文字)
【背景技術】
【0002】
画像データに基づいて、搬送される用紙に対してインクジェットヘッドのノズルからインクを吐出して印刷を行うライン型のインクジェット装置が良く知られている。
【0003】
このインクジェット装置においてノズルの不良などでインクが一時的に吐出されない不吐出(ミスファイヤ)が発生すると、印刷画像に白スジが生じる。
【0004】
特許文献1には、設定した閾値Thと、N番目の判定ブロックにおいて検出される濃度(階調値)とを比較することで、その判定ブロックに対応するノズルが不吐出ノズルであるか否か、具体的には、N番目の判定ブロックの階調値が、閾値Thの階調値を超過するか否かを判定する技術が開示されている。
【先行技術文献】
【特許文献】
【0005】
特許第7143653号公報
【発明の概要】
【発明が解決しようとする課題】
【0006】
しかしながら、特許文献1に記載の技術のように、単に、濃度(階調値)と閾値のみでノズルパターンの有無を判定すると、閾値を超える濃度のゴミが走査位置に存在した場合、このゴミをノズルパターン(縦罫線)として誤検知する可能性があった。
【0007】
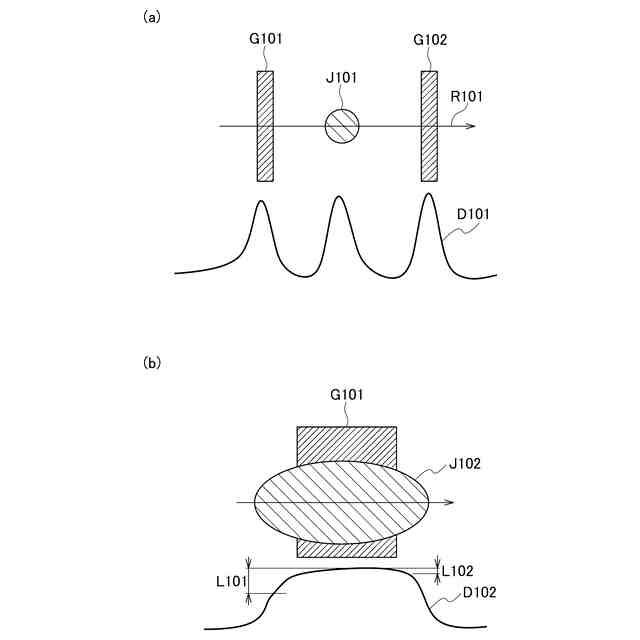
図1は、従来技術による課題を説明した説明図である。
【0008】
例えば、図1(a)に示すように、読み込んだノズルパターンデータに基づいて印刷された媒体のノズルパターンG101とノズルパターンG102との間の主走査線R101上に、ゴミJ101が存在していた場合、特許文献1に記載の技術では、濃度(階調値)と閾値のみでノズルパターンの有無を判定するので、読込データD101に示すように、ゴミJ101をパターン(縦罫線)として誤検知している。
【0009】
また、副走査方向の複数個所で縦罫線を判断する場合はゴミと縦罫線が重なると、ノズルパターンと周辺領域の濃度差が小さくなり、ノズルとして検出できない可能性があった。
【0010】
例えば、図1(b)に示すように、ノズルパターンG101に、副走査方向の幅が広いゴミJ102が存在していた場合、ノズルパターンG101と周辺領域との濃度差L101,L102が所定の濃度差閾値より小さくなり、ノズルパターンG101を検出することが困難となる場合がある。
(【0011】以降は省略されています)
この特許をJ-PlatPat(特許庁公式サイト)で参照する
関連特許
理想科学工業株式会社
包装物
15日前
理想科学工業株式会社
印刷装置
9日前
理想科学工業株式会社
印刷装置
15日前
理想科学工業株式会社
画像処理装置
24日前
理想科学工業株式会社
印刷システム
2日前
理想科学工業株式会社
シート搬送装置
5日前
理想科学工業株式会社
不吐出検出装置
1か月前
理想科学工業株式会社
メンテナンス装置
3日前
理想科学工業株式会社
印刷媒体設置装置
9日前
理想科学工業株式会社
インクジェット印刷装置
16日前
理想科学工業株式会社
インクジェット印刷装置
1日前
理想科学工業株式会社
油性インクジェットインク
15日前
理想科学工業株式会社
粘着シート、及び、被印刷物
15日前
理想科学工業株式会社
捺染物の製造方法および印刷装置
1日前
理想科学工業株式会社
印刷装置および捺染物の製造方法
1日前
理想科学工業株式会社
被覆ローラ及び被覆ローラの組立方法
1か月前
理想科学工業株式会社
再販支援システム、方法およびプログラム
2日前
理想科学工業株式会社
捺染物の製造方法及び捺染物の製造システム
8日前
理想科学工業株式会社
印刷システム、印刷方法、および印刷プログラム
5日前
理想科学工業株式会社
情報処理装置、情報処理方法、およびプログラム
8日前
理想科学工業株式会社
予約管理装置、方法、プログラムおよびシステム
1日前
理想科学工業株式会社
予約管理装置、方法、プログラムおよびシステム
1日前
理想科学工業株式会社
予約管理装置、方法、プログラムおよびシステム
1日前
理想科学工業株式会社
画像処理装置、画像処理方法、及び、プログラム
1日前
理想科学工業株式会社
予約管理装置、方法、プログラムおよびシステム
1日前
理想科学工業株式会社
予約管理装置、方法、プログラムおよびシステム
1日前
理想科学工業株式会社
情報処理装置、情報処理方法、およびプログラム
1日前
理想科学工業株式会社
予約管理装置、方法、プログラムおよびシステム
1日前
理想科学工業株式会社
学習支援装置、学習支援方法、及び、プログラム
1日前
理想科学工業株式会社
予約管理装置、方法、プログラムおよびシステム
1日前
理想科学工業株式会社
画像処理装置、画像処理方法、及び、プログラム
1日前
理想科学工業株式会社
手話情報生成装置、方法、プログラムおよびシステム
1日前
理想科学工業株式会社
リマインダ通知装置、方法、プログラムおよびシステム
1日前
理想科学工業株式会社
印刷装置、印刷システム、印刷方法、及び、プログラム
5日前
理想科学工業株式会社
広告画像決定装置、広告画像決定方法、及び、プログラム
24日前
理想科学工業株式会社
熱転写シート用インクセット及び熱転写シートの製造方法
5日前
続きを見る
他の特許を見る