TOP
|
特許
|
意匠
|
商標
特許ウォッチ
Twitter
他の特許を見る
公開番号
2025144000
公報種別
公開特許公報(A)
公開日
2025-10-02
出願番号
2024043549
出願日
2024-03-19
発明の名称
再販支援システム、方法およびプログラム
出願人
理想科学工業株式会社
代理人
個人
主分類
G06Q
30/0601 20230101AFI20250925BHJP(計算;計数)
要約
【課題】任意の再販先で出品する際の商品情報入力を支援することでユーザーの負担を軽減することができる再販支援システム、方法およびプログラムを提供する。
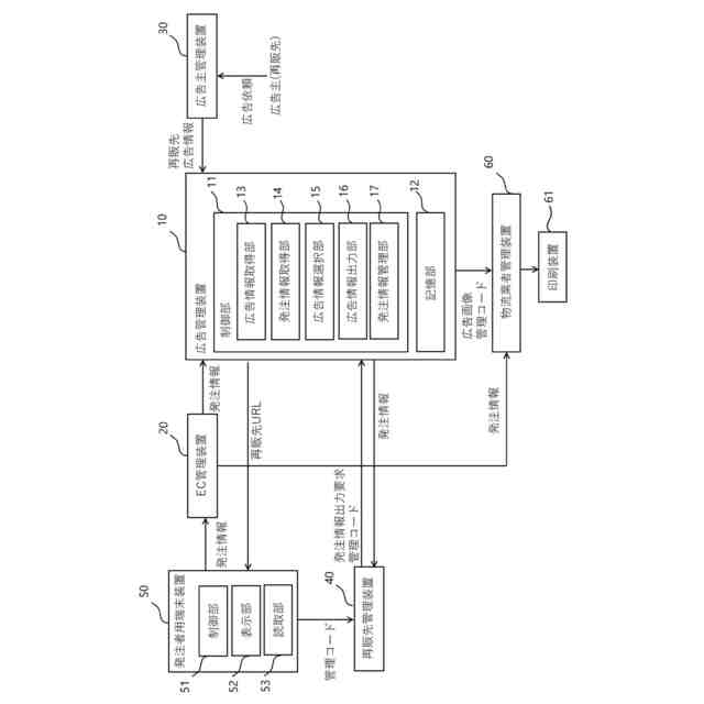
【解決手段】再販先サイトへのアクセス情報を含む再販先の広告情報であって、商品の梱包材に印刷される広告情報を複数記憶する記憶部12と、商品の発注情報の取得に応じて、複数の広告情報の中からいずれかの広告情報を選択する広告情報選択部15と、商品の発注情報と選択された広告情報とを対応づけて管理する発注情報管理部17とを備え、発注情報管理部17が、商品の梱包材に印刷された広告情報の読取りに応じて、再販先サイトに対して広告情報に対応する商品の発注情報を出力する。
【選択図】図1
特許請求の範囲
【請求項1】
再販先サイトへのアクセス情報を含む再販先の広告情報であって、前記商品の梱包材に印刷される広告情報を複数記憶する記憶部と、
商品の発注情報の取得に応じて、複数の前記広告情報の中からいずれかの広告情報を選択する広告情報選択部と、
前記商品の発注情報と前記選択された広告情報とを対応づけて管理する発注情報管理部とを備え、
前記発注情報管理部が、前記商品の梱包材に印刷された広告情報の読取りに応じて、前記再販先サイトに対して前記広告情報に対応する前記商品の発注情報を出力する再販支援システム。
続きを表示(約 660 文字)
【請求項2】
前記発注情報管理部が、前記商品の来歴情報を管理し、前記商品の発注情報を出力する際、前記商品の来歴情報を出力する請求項1記載の再販支援システム。
【請求項3】
前記広告情報選択部が、前記商品の再販回数に基づいて、前記広告情報を選択する請求項1記載の再販支援システム。
【請求項4】
再販先サイトへのアクセス情報を含む再販先の広告情報であって、前記商品の梱包材に印刷される広告情報を予め複数記憶し、
商品の発注情報の取得に応じて、複数の前記広告情報の中からいずれかの広告情報を選択し、
前記商品の発注情報と前記選択された広告情報とを対応づけて管理し、
前記商品の梱包材に印刷された広告情報の読取りに応じて、前記再販先サイトに対して前記広告情報に対応する前記商品の発注情報を出力する再販支援方法。
【請求項5】
再販先サイトへのアクセス情報を含む再販先の広告情報であって、前記商品の梱包材に印刷される広告情報を予め複数記憶するステップと、
商品の発注情報の取得に応じて、複数の前記広告情報の中からいずれかの広告情報を選択するステップと、
前記商品の発注情報と前記選択された広告情報とを対応づけて管理するステップと、
前記商品の梱包材に印刷された広告情報の読取りに応じて、前記再販先サイトに対して前記広告情報に対応する前記商品の発注情報を出力するステップとをコンピュータに実行させる再販支援プログラム。
発明の詳細な説明
【技術分野】
【0001】
本発明は、商品の再販を支援する再販支援システム、方法およびプログラムに関するものである。
続きを表示(約 1,100 文字)
【背景技術】
【0002】
従来、EC(Electric Commerce)サイトなどで商品を注文し、商品を梱包材に梱包して発送する通販が多く利用されている。
【0003】
さらに、受け取った商品を個人間で売買することが広く行われている。たとえば競売形式により商品の売買を個人間で行うオークションシステム(ヤフオク(登録商標)など)や価格を設定して商品出品するインターネット販売システム(メルカリ(登録商標)など)が知られている。
【0004】
個人が上述したようなシステム上に出品する際には、商品の情報(商品名、メーカ名など)や状況情報の説明(購入時期、汚損状態など)を出品設定画面に詳細に設定入力する必要がある。
【0005】
そこで、たとえば特許文献1では、ヤフオクなどの所定の再販先への商品出品用URL(Uniform Resource Locator)へのアクセスコードを読取り、過去取引情報から商品情報を取得して予め商品情報が入力された状態の出品設定画面を出力することによって、商品情報の入力を支援する技術が提案されている。
【0006】
また、特許文献2では、商品の外観を撮影することで記録装置から情報を呼び出して出品情報の記載を支援する技術が提案されている。
【先行技術文献】
【特許文献】
【0007】
特開2011-95815号公報
特開2014-115912号公報
【発明の概要】
【発明が解決しようとする課題】
【0008】
しかしながら、特許文献1および特許文献2に記載の技術は、特定の再販先の売買システム内で使用される限られた技術であるため、任意の再販先で再販する際に利用できる技術ではない。
【0009】
本発明は、上記事情に鑑み、任意の再販先で出品する際の商品情報入力を支援することでユーザーの負担を軽減することができる再販支援システム、方法およびプログラムを提供することを目的とするものである。
【課題を解決するための手段】
【0010】
本発明の再販支援システムは、再販先サイトへのアクセス情報を含む再販先の広告情報であって、商品の梱包材に印刷される広告情報を複数記憶する記憶部と、商品の発注情報の取得に応じて、複数の広告情報の中からいずれかの広告情報を選択する広告情報選択部と、商品の発注情報と選択された広告情報とを対応づけて管理する発注情報管理部とを備え、発注情報管理部が、商品の梱包材に印刷された広告情報の読取りに応じて、再販先サイトに対して広告情報に対応する商品の発注情報を出力する。
【発明の効果】
(【0011】以降は省略されています)
この特許をJ-PlatPat(特許庁公式サイト)で参照する
関連特許
個人
地球保全システム
9日前
個人
残土処理システム
2日前
個人
知的財産出願支援システム
3日前
個人
システム及びプログラム
22日前
株式会社キーエンス
受発注システム
8日前
個人
海外支援型農作物活用システム
21日前
株式会社キーエンス
受発注システム
8日前
株式会社キーエンス
受発注システム
8日前
個人
食品レシピ生成システム
8日前
キヤノン株式会社
表示システム
8日前
大同特殊鋼株式会社
疵判定方法
15日前
個人
音声・通知・再配達UX制御構造
3日前
個人
未来型家系図構築システム
21日前
個人
帳票自動生成型SaaSシステム
3日前
フリー株式会社
情報処理システム
15日前
株式会社竹中工務店
管理システム
21日前
中部電力株式会社
学習装置
21日前
株式会社キーエンス
製品受発注システム
8日前
個人
マーケティング活動支援装置
7日前
大同特殊鋼株式会社
棒材計数方法
1日前
株式会社カネカ
製造工場の管理システム
3日前
マクセル株式会社
非接触ICカード
22日前
個人
本人認証連動型帳票出力支援システム
11日前
TOTO株式会社
姿勢評価システム
1日前
マクセル株式会社
非接触ICカード
22日前
株式会社梓総合研究所
冷却システム
7日前
ブラザー工業株式会社
サポートプログラム
14日前
TOTO株式会社
衛生評価システム
1日前
株式会社栗本鐵工所
触覚提示システム
1日前
本田技研工業株式会社
会話装置
7日前
株式会社国際電気
タスク管理システム
7日前
個人
特殊駐車場および料金精算アプリ
21日前
株式会社SUBARU
車両用表示装置
22日前
ワキ製薬株式会社
配置薬管理システム
7日前
株式会社デンソー
電子制御装置
22日前
株式会社カネカ
生産計画立案システム
11日前
続きを見る
他の特許を見る