TOP
|
特許
|
意匠
|
商標
特許ウォッチ
Twitter
他の特許を見る
公開番号
2025144616
公報種別
公開特許公報(A)
公開日
2025-10-03
出願番号
2024044344
出願日
2024-03-21
発明の名称
画像処理装置、画像処理方法、及び、プログラム
出願人
理想科学工業株式会社
代理人
インフォート弁理士法人
主分類
B41J
2/01 20060101AFI20250926BHJP(印刷;線画機;タイプライター;スタンプ)
要約
【課題】画像処理装置、画像処理方法、及びプログラムにおいて、画像品質を向上させる。
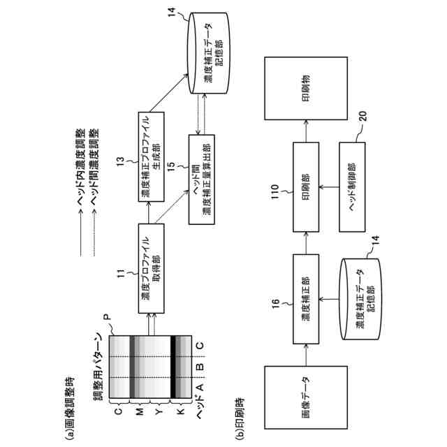
【解決手段】画像処理装置(画像処理部10)は、インクを吐出する複数の吐出部(例えば、インクジェットヘッドA111、インクジェットヘッドB112、及びインクジェットヘッドC113の複数のノズル)の濃度プロファイルを取得する濃度プロファイル取得部11と、濃度プロファイルに基づいて、複数の吐出部の濃度を均一化するための濃度補正プロファイルを生成する濃度補正プロファイル生成部13とを備える。この濃度補正プロファイル生成部13は、濃度領域ごとに異なる基準で濃度補正プロファイルを生成する。
【選択図】図2
特許請求の範囲
【請求項1】
インクを吐出する複数の吐出部の濃度プロファイルを取得する濃度プロファイル取得部と、
前記濃度プロファイルに基づいて、前記複数の吐出部の濃度を均一化するための濃度補正プロファイルを生成する濃度補正プロファイル生成部とを備え、
前記濃度補正プロファイル生成部は、濃度領域ごとに異なる基準で前記濃度補正プロファイルを生成する
ことを特徴とする画像処理装置。
続きを表示(約 650 文字)
【請求項2】
前記濃度補正プロファイル生成部は、低濃度領域で濃度を上げるように前記濃度補正プロファイルを生成する
ことを特徴とする請求項1記載の画像処理装置。
【請求項3】
前記濃度補正プロファイル生成部は、高濃度領域で濃度を下げるように、且つ、中間濃度領域で前記低濃度領域よりも濃度が下がらず前記高濃度領域よりも濃度が上がらないように、前記濃度補正プロファイルを生成する
ことを特徴とする請求項2記載の画像処理装置。
【請求項4】
コンピュータによって行われる画像処理方法であって、
インクを吐出する複数の吐出部の濃度プロファイルを取得することと、
前記濃度プロファイルに基づいて、前記複数の吐出部の濃度を均一化するための濃度補正プロファイルを生成することとを含み、
前記濃度補正プロファイルを生成することは、濃度領域ごとに異なる基準で前記濃度補正プロファイルを生成する
ことを特徴とする画像処理方法。
【請求項5】
インクを吐出する複数の吐出部の濃度プロファイルを取得する機能と、
前記濃度プロファイルに基づいて、前記複数の吐出部の濃度を均一化するための濃度補正プロファイルを生成する機能とをコンピュータに実現させるプログラムであって、
前記濃度補正プロファイルを生成する機能は、濃度領域ごとに異なる基準で前記濃度補正プロファイルを生成する
ことを特徴とするプログラム。
発明の詳細な説明
【技術分野】
【0001】
本発明は、画像処理装置、画像処理方法、及びプログラムに関する。
続きを表示(約 1,100 文字)
【背景技術】
【0002】
従来、ヘッド毎の濃度プロファイルに基づいて各ヘッド内のノズル間の濃度差を補正する第1の濃度補正プロファイルを生成し、この第1の濃度補正プロファイルに基づいてヘッド間の濃度差を補正する第2の濃度補正プロファイルを生成する手法が提案されている(例えば、特許文献1参照)。
【0003】
また、複数のヘッドにわたって濃度が均一になるように駆動電圧を調整し、吐出タイミング調整後にヘッド内のノズル毎の濃度が均一になるようにドロップ数を補正する手法が提案されている(例えば、特許文献2参照)。
【先行技術文献】
【特許文献】
【0004】
特開2021-104584号公報
特開2011-218565号公報
【発明の概要】
【発明が解決しようとする課題】
【0005】
ところで、インク吐出の特性がヘッド毎に異なるため、ヘッド間の濃度差が大きい場合は、低い濃度のヘッドに合わせて他のヘッドの濃度を大きく下げていた。これにより、印刷画像が全体として大きく濃度低下していた。
【0006】
また、インク吐出の特性がヘッドのノズル毎に異なる場合、高ドロップ階調部ではベタ潰れに依り濃度差が目立たない一方で、低ドロップ階調部では濃度差が顕著になってしまう。
【0007】
また、低ドロップ階調部では、濃度を下げる方向に補正すると、0ドロップが発生し粒状感が悪化する。そして、高ドロップ階調部では、濃度を上げる方向に補正すると、搬送速度に紐づいた最大ドロップを超えてしまい生産性の低下を招いたり、ドロップ数が足切りされてしまい濃度ムラの補正が不十分になったりしてしまう。
【0008】
本発明の目的は、画像品質を向上させることができる画像処理装置、画像処理方法、及びプログラムを提供することである。
【課題を解決するための手段】
【0009】
1つの態様では、画像処理装置は、インクを吐出する複数の吐出部の濃度プロファイルを取得する濃度プロファイル取得部と、前記濃度プロファイルに基づいて、前記複数の吐出部の濃度を均一化するための濃度補正プロファイルを生成する濃度補正プロファイル生成部とを備え、前記濃度補正プロファイル生成部は、濃度領域ごとに異なる基準で前記濃度補正プロファイルを生成する。
【発明の効果】
【0010】
前記態様によれば、画像品質を向上させることができる。
【図面の簡単な説明】
(【0011】以降は省略されています)
この特許をJ-PlatPat(特許庁公式サイト)で参照する
関連特許
理想科学工業株式会社
包装物
16日前
理想科学工業株式会社
印刷装置
10日前
理想科学工業株式会社
印刷装置
16日前
理想科学工業株式会社
印刷システム
3日前
理想科学工業株式会社
画像処理装置
25日前
理想科学工業株式会社
孔版印刷装置
1か月前
理想科学工業株式会社
不吐出検出装置
1か月前
理想科学工業株式会社
シート搬送装置
6日前
理想科学工業株式会社
ワイピング装置
1か月前
理想科学工業株式会社
印刷媒体設置装置
10日前
理想科学工業株式会社
メンテナンス装置
4日前
理想科学工業株式会社
インクジェット印刷装置
2日前
理想科学工業株式会社
インクジェット印刷装置
17日前
理想科学工業株式会社
油性インクジェットインク
16日前
理想科学工業株式会社
粘着シート、及び、被印刷物
16日前
理想科学工業株式会社
捺染物の製造方法および印刷装置
2日前
理想科学工業株式会社
印刷装置および捺染物の製造方法
2日前
理想科学工業株式会社
被覆ローラ及び被覆ローラの組立方法
1か月前
理想科学工業株式会社
再販支援システム、方法およびプログラム
3日前
理想科学工業株式会社
捺染物の製造方法及び捺染物の製造システム
9日前
理想科学工業株式会社
印刷システム、印刷方法、および印刷プログラム
6日前
理想科学工業株式会社
予約管理装置、方法、プログラムおよびシステム
2日前
理想科学工業株式会社
情報処理装置、情報処理方法、およびプログラム
9日前
理想科学工業株式会社
予約管理装置、方法、プログラムおよびシステム
2日前
理想科学工業株式会社
画像処理装置、画像処理方法、及び、プログラム
2日前
理想科学工業株式会社
学習支援装置、学習支援方法、及び、プログラム
2日前
理想科学工業株式会社
情報処理装置、情報処理方法、およびプログラム
2日前
理想科学工業株式会社
予約管理装置、方法、プログラムおよびシステム
2日前
理想科学工業株式会社
予約管理装置、方法、プログラムおよびシステム
2日前
理想科学工業株式会社
予約管理装置、方法、プログラムおよびシステム
2日前
理想科学工業株式会社
予約管理装置、方法、プログラムおよびシステム
2日前
理想科学工業株式会社
予約管理装置、方法、プログラムおよびシステム
2日前
理想科学工業株式会社
画像処理装置、画像処理方法、及び、プログラム
2日前
理想科学工業株式会社
手話情報生成装置、方法、プログラムおよびシステム
2日前
理想科学工業株式会社
印刷装置、印刷システム、印刷方法、及び、プログラム
6日前
理想科学工業株式会社
リマインダ通知装置、方法、プログラムおよびシステム
2日前
続きを見る
他の特許を見る