TOP
|
特許
|
意匠
|
商標
特許ウォッチ
Twitter
他の特許を見る
10個以上の画像は省略されています。
公開番号
2025127621
公報種別
公開特許公報(A)
公開日
2025-09-02
出願番号
2024024408
出願日
2024-02-21
発明の名称
分析プログラム、分析装置、分析方法、および測定装置
出願人
国立大学法人徳島大学
代理人
個人
主分類
G01N
21/23 20060101AFI20250826BHJP(測定;試験)
要約
【課題】測定対象物の複屈折特性を従来よりも詳細に推定するための技術を提供する。
【解決手段】測定装置は、光源と、光源から測定対象物までの光路上に配置されている直線偏光子と、直線偏光子を通過した直線偏光の進行方向を維持した状態で、直線偏光の偏光面が測定対象物に対して相対的に回転するように、直線偏光子または測定対象物を回転可能に構成する回転駆動機構と、直線偏光が測定対象物を通過した後の光の光路上に配置されており、当該光から回折光を生じさせる偏光回折格子と、回折光を受け、測定対象物を表わす画像を生成するカメラとを備える。分析プログラムは、測定対象物に対する偏光面の回転角度の別に画像を取得する処理と、取得された複数の画像に基づいて、回転角度の別に回折光の光強度を算出する処理と、回転角度に対する光強度の推移に基づいて、複屈折特性を推定する処理と、複屈折特性を出力する処理とをコンピュータに実行させる。
【選択図】図2
特許請求の範囲
【請求項1】
測定装置で測定された測定対象物に関しての分析プログラムであって、
前記測定装置は、
前記測定対象物に光を照射するための光源と、
前記光源から前記測定対象物までの光路上に配置されている直線偏光子と、
前記直線偏光子を通過した直線偏光の進行方向を維持した状態で、前記直線偏光の偏光面が前記測定対象物に対して相対的に回転するように、前記直線偏光子または前記測定対象物を回転可能に構成するための回転駆動機構と、
前記直線偏光が前記測定対象物を通過した後の光の光路上に配置されており、当該光から回折光を生じさせるための偏光回折格子と、
前記回折光を受け、前記測定対象物を表わす画像を生成するためのカメラとを備え、
前記分析プログラムは、コンピュータに、
前記測定対象物に対する前記偏光面の回転角度の別に前記画像を取得する処理と、
前記取得する処理で取得された複数の画像に基づいて、前記回転角度の別に前記回折光の光強度を算出する処理と、
前記回転角度に対する前記光強度の推移に基づいて、前記測定対象物の少なくとも一箇所において複屈折に係る特性を推定する処理と、
前記特性を出力する処理とを実行させる、分析プログラム。
続きを表示(約 1,800 文字)
【請求項2】
前記特性は、前記測定対象物の分子の配向方向を含む、請求項1に記載の分析プログラム。
【請求項3】
前記推定する処理では、前記推移における最大光強度に対応する回転角度と、前記推移における最小光強度に対応する回転角度との少なくとも1つを基準として、前記配向方向が推定される、請求項2に記載の分析プログラム。
【請求項4】
前記出力する処理では、前記測定対象物を表わす画像に対して前記配向方向を示すオブジェクトが重畳表示される、請求項2または3に記載の分析プログラム。
【請求項5】
前記特性は、さらに、前記光強度の変化量を含む、請求項1~3のいずれか1項に記載の分析プログラム。
【請求項6】
前記変化量は、前記推移における最大光強度と、前記推移における最小光強度との差で示される、請求項5に記載の分析プログラム。
【請求項7】
前記出力する処理では、前記測定対象物を表わす画像に対して前記変化量を示すオブジェクトが重畳表示される、請求項5に記載の分析プログラム。
【請求項8】
測定装置で測定された測定対象物に関しての分析装置であって、
前記測定装置は、
前記測定対象物に光を照射するための光源と、
前記光源から前記測定対象物までの光路上に配置されている直線偏光子と、
前記直線偏光子を通過した直線偏光の進行方向を維持した状態で、前記直線偏光の偏光面が前記測定対象物に対して相対的に回転するように、前記直線偏光子または前記測定対象物を回転可能に構成するための回転駆動機構と、
前記直線偏光が前記測定対象物を通過した後の光の光路上に配置されており、当該光から回折光を生じさせるための偏光回折格子と、
前記回折光を受け、前記測定対象物を表わす画像を生成するためのカメラとを備え、
前記分析装置は、制御部を備え、
前記制御部は、
前記測定対象物に対する前記偏光面の回転角度の別に前記画像を取得する処理と、
前記取得する処理で取得された複数の画像に基づいて、前記回転角度の別に前記回折光の光強度を算出する処理と、
前記回転角度に対する前記光強度の推移に基づいて、前記測定対象物の少なくとも一箇所において複屈折に係る特性を推定する処理と、
前記特性を出力する処理とを実行する、分析装置。
【請求項9】
測定装置で測定された測定対象物に関しての分析方法であって、
前記測定装置は、
前記測定対象物に光を照射するための光源と、
前記光源から前記測定対象物までの光路上に配置されている直線偏光子と、
前記直線偏光子を通過した直線偏光の進行方向を維持した状態で、前記直線偏光の偏光面が前記測定対象物に対して相対的に回転するように、前記直線偏光子または前記測定対象物を回転可能に構成するための回転駆動機構と、
前記直線偏光が前記測定対象物を通過した後の光の光路上に配置されており、当該光から回折光を生じさせるための偏光回折格子と、
前記回折光を受け、前記測定対象物を表わす画像を生成するためのカメラとを備え、
前記分析方法は、
前記測定対象物に対する前記偏光面の回転角度の別に前記画像を取得するステップと、
前記取得するステップで取得された複数の画像に基づいて、前記回転角度の別に前記回折光の光強度を算出するステップと、
前記回転角度に対する前記光強度の推移に基づいて、前記測定対象物の少なくとも一箇所において複屈折に係る特性を推定するステップと、
前記特性を出力するステップとを備える、分析方法。
【請求項10】
測定対象物に光を照射するための光源と、
前記光源から前記測定対象物までの光路上に配置されている直線偏光子と、
前記直線偏光子を通過した直線偏光の進行方向を維持した状態で、前記直線偏光の偏光面が前記測定対象物に対して相対的に回転するように、前記直線偏光子または前記測定対象物を回転可能に構成するための回転駆動機構と、
前記直線偏光が前記測定対象物を通過した後の光の光路上に配置されており、当該光から回折光を生じさせるための偏光回折格子と、
前記回折光を受け、前記測定対象物を表わす画像を生成するためのカメラとを備える、測定装置。
発明の詳細な説明
【技術分野】
【0001】
本開示は、分析プログラム、分析装置、分析方法、および測定装置に関する。
続きを表示(約 1,600 文字)
【背景技術】
【0002】
複屈折媒体の複屈折を測定する手法として、クロスニコル法がある。クロスニコル法については、たとえば、特開2019-100862号公報(特許文献1)において次のように説明されている。
【0003】
クロスニコル法では、互いに直交した偏光子および検光子と、これらの間に配置された測定対象物としての複屈折媒体とを相対的に回転させながら、偏光子、測定対象物および検光子を透過した光の強度I
out
(θ)を測定し、次式により測定対象物の複屈折Δnを求める(段落[0002]参照)。
【0004】
JPEG
2025127621000002.jpg
17
170
ここで、I
in
は偏光子側から入射する光の強度、θは偏光子および検光子に対する測定対象物の相対的な回転角度、dは測定対象物の厚みである。また、複屈折Δnと厚みdの積によって示されるΔndは、波長λの光が測定対象物を通過する際に異常光成分と常光成分の間に生じる光路差であり、この光路差によって複屈折媒体を透過することによる位相差が生じる。このように、厚みdの測定対象物を通過した光の位相差から複屈折Δnが導出される。
【先行技術文献】
【特許文献】
【0005】
特開2019-100862号公報
【発明の概要】
【発明が解決しようとする課題】
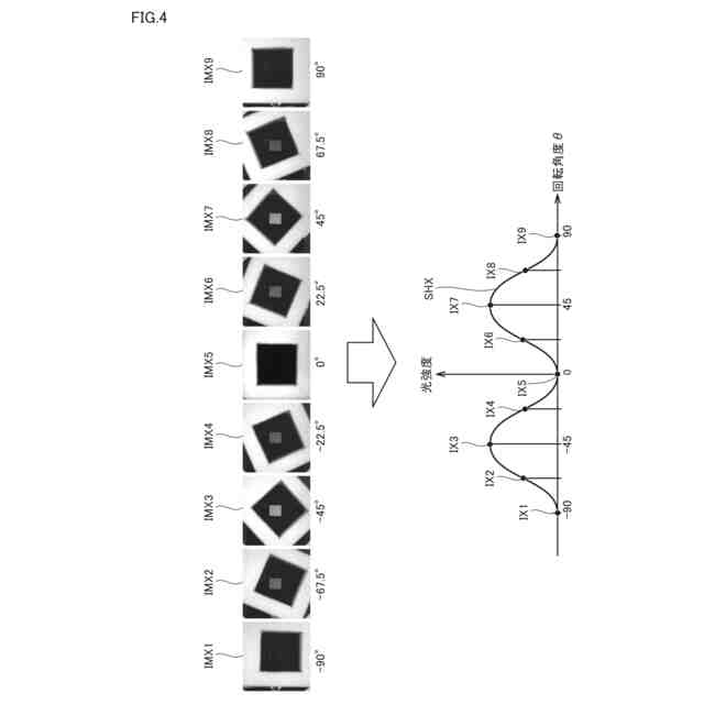
【0006】
図24は、上記式に示される「θ」と「I
out
(θ)」との関係を示す図である。図24に示されるように、回転角度「θ」が90°変化した場合には、光の強度「I
out
(θ)が同じとなり、得られる像が同じとなる。この場合、測定対象物の複屈折特性の検出能力に限界があり、測定対象物の複屈折特性を詳細に推定することができない。したがって、測定対象物の複屈折特性を従来よりも詳細に推定するための技術が望まれている。
【課題を解決するための手段】
【0007】
本開示の一例では、測定装置で測定された測定対象物に関しての分析プログラムが提供される。上記測定装置は、上記測定対象物に光を照射するための光源と、上記光源から上記測定対象物までの光路上に配置されている直線偏光子と、上記直線偏光子を通過した直線偏光の進行方向を維持した状態で、上記直線偏光の偏光面が上記測定対象物に対して相対的に回転するように、上記直線偏光子または上記測定対象物を回転可能に構成するための回転駆動機構と、上記直線偏光が上記測定対象物を通過した後の光の光路上に配置されており、当該光から回折光を生じさせるための偏光回折格子と、上記回折光を受け、上記測定対象物を表わす画像を生成するためのカメラとを備える。上記分析プログラムは、コンピュータに、上記測定対象物に対する上記偏光面の回転角度の別に上記画像を取得する処理と、上記取得する処理で取得された複数の画像に基づいて、上記回転角度の別に上記回折光の光強度を算出する処理と、上記回転角度に対する上記光強度の推移に基づいて、上記測定対象物の少なくとも一箇所において複屈折に係る特性を推定する処理と、上記特性を出力する処理とを実行させる。
【0008】
本開示の一例では、上記特性は、上記測定対象物の分子の配向方向を含む。
【0009】
本開示の一例では、上記推定する処理では、上記推移における最大光強度に対応する回転角度と、上記推移における最小光強度に対応する回転角度との少なくとも1つを基準として、上記配向方向が推定される。
【0010】
本開示の一例では、上記出力する処理では、上記測定対象物を表わす画像に対して上記配向方向を示すオブジェクトが重畳表示される。
(【0011】以降は省略されています)
この特許をJ-PlatPat(特許庁公式サイト)で参照する
関連特許
国立大学法人徳島大学
ゼオライトの製造方法
3か月前
国立大学法人徳島大学
マイクロコム制御装置
28日前
国立大学法人徳島大学
光位相変調モジュール
5か月前
国立大学法人徳島大学
肝細胞様細胞の製造方法及びその利用
14日前
国立大学法人徳島大学
マイクロ光共振器、及び光周波数コム発生装置
14日前
国立大学法人徳島大学
マイクロ光共振器、及び光周波数コム発生装置
14日前
国立大学法人徳島大学
マイクロ光共振器、及び光周波数コム発生装置
14日前
国立大学法人徳島大学
マイクロ光共振器、及び光周波数コム発生装置
14日前
国立大学法人徳島大学
紫外線波長変換素子、及び紫外線分光測定装置
8か月前
JFEスチール株式会社
リン化合物の製造方法
5か月前
国立大学法人徳島大学
分析プログラム、分析装置、分析方法、および測定装置
1か月前
株式会社マルイ
透気測定装置、透気測定方法、及び透気測定システム
4か月前
国立大学法人徳島大学
高偏極化対象物、並びに、その製造方法、高偏極化方法及び高偏極化装置
3か月前
ダイキン工業株式会社
刺激特定プログラム、刺激特定装置、および刺激特定システム
8か月前
ダイキン工業株式会社
腸状態推定プログラム、腸状態推定装置、および腸状態推定システム
8か月前
ナノミストテクノロジーズ株式会社
使用環境に対する超音波振動子の寿命を検出する超音波霧化システム
4か月前
国立大学法人徳島大学
骨および/または軟骨再生用の組成物、骨および/または軟骨の疾患の処置および/または予防用の組成物
7日前
国立大学法人徳島大学
器具の洗浄方法、原液処理装置および原液処理装置の操作方法
4か月前
国立大学法人徳島大学
腐敗菌情報検索方法、システム及びデータ構造並びにそのデータ構造を用いる食品安全・衛生管理システム及び方法
7か月前
個人
計量スプーン
24日前
個人
微小振動検出装置
1か月前
株式会社イシダ
X線検査装置
1か月前
日本精機株式会社
位置検出装置
2日前
日本精機株式会社
位置検出装置
2日前
日本精機株式会社
位置検出装置
2日前
大和製衡株式会社
組合せ秤
7日前
大和製衡株式会社
組合せ秤
7日前
アズビル株式会社
圧力センサ
1日前
ダイハツ工業株式会社
測定用具
28日前
トヨタ自動車株式会社
検査装置
4日前
株式会社東芝
センサ
7日前
トヨタ自動車株式会社
表示装置
16日前
株式会社東芝
センサ
7日前
アンリツ株式会社
分光器
1か月前
エイブリック株式会社
磁気センサ回路
1日前
アンリツ株式会社
分光器
1か月前
続きを見る
他の特許を見る