TOP
|
特許
|
意匠
|
商標
特許ウォッチ
Twitter
他の特許を見る
10個以上の画像は省略されています。
公開番号
2025136979
公報種別
公開特許公報(A)
公開日
2025-09-19
出願番号
2024035932
出願日
2024-03-08
発明の名称
マイクロ光共振器、及び光周波数コム発生装置
出願人
国立大学法人徳島大学
代理人
主分類
G02F
1/365 20060101AFI20250911BHJP(光学)
要約
【課題】
光周波数コムの起動において、共振器の熱変形による共振波長および屈折率変化が不安定化をもたらしていた。また、励起光を共振器のソリトン化領域に掃引する機能は、励起光の波長を変化させる必要があり小型化およびコスト面で大きな課題であった。
【解決手段】
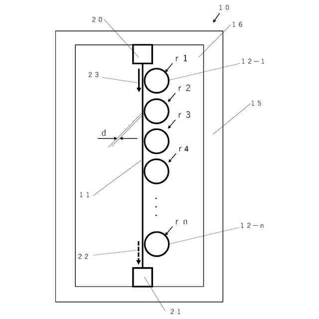
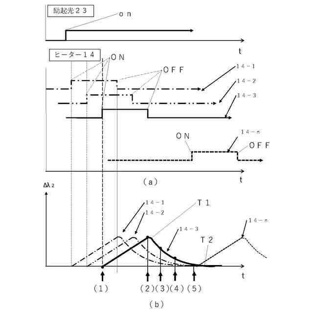
直線導波路に対して、直径がわずかに異なる複数の第1~第n番目のリング導波路を設け、さらに各リング導波路内に熱変形アクチュエーターをそれぞれ設け、熱変形アクチュエーターがアクチュエーターヒーターで順次に加熱し冷却しソリトン光コムの立ち上げを行う。なお、第1~第n番目のリング導波路は、それぞれ共振波長がわずかに異なっている。本構成により、複数個あるリング導波路の中のどれか一つが励起光の波長がリング導波路のソリトン化領域に合わせればよいので、ソリトン光コム生成をより確実にできる。
【選択図】 図1
特許請求の範囲
【請求項1】
レーザー光源光源装置から照射される所定の波長を有する励起光の入力を受け付ける入力部と、3次非線形光学効果を有する材質により構成され、直径がわずかに異なる第1~第n番目のリング導波路と、前記入力部からの前記励起光を入力し、前記第1~第n番目リング導波路と光学的にそれぞれ結合する位置に設けられ、少なくとも前記励起光の一部を前記第1~第n番目のリング導波路のうちの特定のリング導波路に前記励起光のエヴァネッセント光を入力し、前記第1の導波路から互いに等しい周波数間隔である複数の櫛状のスペクトラムを有する光周波数コムを取り出す直線導波路と、前記直線導波路および前記複数のリング導波路の周りを囲み、前記第1の導波路および前記第1~第n番目の導波路の屈折率より低い屈折率で形成されたクラッドと、前記第1~第n番目のリング導波路の内側にそれぞれ形成された第1~第n番目の熱変形アクチュエーターと、前記熱変形アクチュエーターを冷却する基板と、を有することを特徴とするマイクロ光共振器。
続きを表示(約 810 文字)
【請求項2】
前記第1~第n番目のリング導波路のそれぞれの共振波長は、前記入力部側に最も近い第1のリング導波路の共振波長から順次一定量ずつ波長が大きくなるように、各リング導波路の直径を変えて設定されていることを特徴とする請求項1記載のマイクロ光共振器。
【請求項3】
前記第1~第n番目のリング導波路のそれぞれの共振波長の増加量は、共振波形の半値幅分ずつ増加するように設定されていることを特徴とする請求項1~2記載のマイクロ光共振器。
【請求項4】
前記第1から第n番目の前記熱変形アクチュエーターを加熱する第1~第n番目のアクチュエーターヒーターと、前記第1~第n番目の前記熱変形アクチュエーターの温度を検出する第1から第n番目のアクチュエーター温度センサーと、前記第1~第n番目の前記アクチュエーターヒーターの温度を制御するアクチュエーター温度制御装置と、前記基板の基準温度を所定の温度に加熱する基板ヒーターと、前記基板温度を検出する基板温度センサーと、前記基板の基準温度を周囲環境温度より高い値に制御する基板温度制御装置と、を有することを特徴とする請求項1~2記載のマイクロ光共振器。
【請求項5】
前記第1から第n番目の熱変形アクチュエーターと前記第1から第n番目のアクチュエーターヒーターが接していることを特徴とする請求項1~2記載のマイクロ光共振器。
【請求項6】
前記第1から第n番目の熱変形アクチュエーターと前記基板が接していることを特徴とする請求項1~2記載のマイクロ光共振器。
【請求項7】
前記直線導波路から出力されるソリトン光コムを検出するソリトン光コム検出部と、基板温度を微調整する基板温度調節部と、ソリトン光コムの立ち上げをコントロールするソリトン光コム起動制御部とを有する請求項1~2記載のマイクロ光共振器。
発明の詳細な説明
【技術分野】
【0001】
本発明は、光周波数コムの周波数制御装置及び方法に関し、特に、ソリトン光コムの起動を確実に行い、かつ連続してソリトン光コムを生成し維持するための光周波数コムの周波数制御装置及び方法に関する。
続きを表示(約 1,300 文字)
【背景技術】
【0002】
光周波数コムは、周波数軸上に等間隔に並んだ成分(モード)からなる櫛(コム)形のスペクトラムを持つ光信号である。
【0003】
光周波数コムを起動するには、キャビティ内を異常分散状態にするだけでは不十分であり、特殊な手順を踏む必要がある。この手法は2014年に、周回型光導波路へ導入する連続波(CW)レーザー光源の波長を、その共振周波数付近で連続的に掃引する手法が発見され、この方法を基本とする手法が多く研究されている。
【0004】
しかし上記の手法による起動では、周回型光導波路における二つの要因による共振周波数のシフト、具体的にはカー非線形効果による光学的なシフトと、温度上昇による材料そのものの屈折率の変化及び熱膨張に起因する熱的なシフトの両方を考慮しなければならず、非常に複雑である。
【0005】
以下に従来の光周波数コム発生装置について説明する。
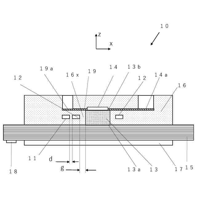
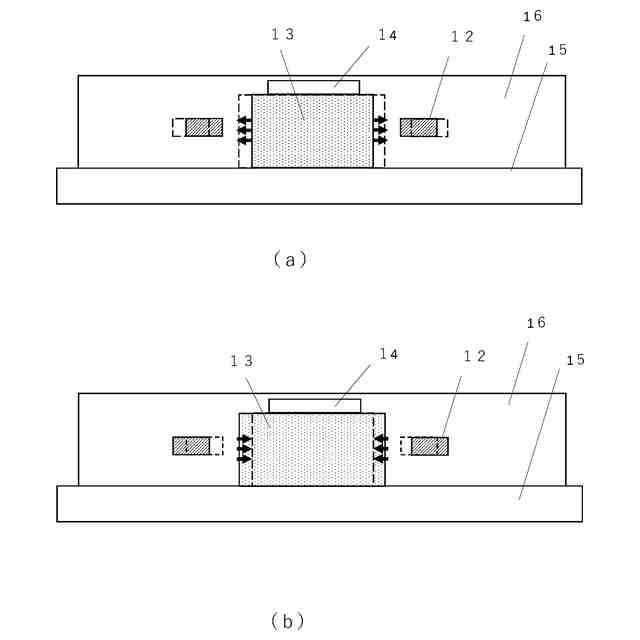
そのマイクロ光共振器を図15に示す。図15(a)は導波路の平面図であり、図15(b)は、x軸の断面図を表している。30aはシリコン基板29上に成膜された二酸化ケイ素(SiO2)で形成された第1のクラッド層である。この第1のクラッド層30aの一部をエッチング除去して周回型光共振器である共振器32および導波路31が埋め込まれている、その上に第2のクラッド層30bが形成される。共振器32はリング状であり、導波路31は直線で構成される。共振器32と導波路31は僅かな隙間dを介して配置されている。なお、隙間dのz方向側面は、ドライエッチングで加工された面によって形成されている。また、共振器32と導波路31は窒化シリコンで構成されている。
【0006】
以上のように構成された従来の光周波数コム発生装置について、以下その動作について説明する。
【0007】
導波路31には、図外の連続波(CW)レーザー光源光源装置から照射される励起光の入力を受け付ける入力部33が接続され、CWレーザー光源光源装置からCWレーザー光である励起光34が導波路31に入射される。
【0008】
入射される励起光34は波長λ1を有する連続波である。図16(a)に入射励起光34の波長スペクトラムを示す。励起光34の共振波長λ1と共振器32の共振波長が重なると、励起光34は導波路31から染み出たいわゆるエヴァネッセント波として共振器32内に取り込まれる。
【0009】
そして共振器内の異なる波長を有する各モードがそろった状態になると、ピークが重なり強め合う干渉により、パルス37が発生する。この状態をモード同期という。また、このパルスを光コムという。図17にモード同期の概念を示す。
【0010】
モード間隔は繰り返し周波数frepで表され、
frep =mc/(2nL) m=1、2、3、・・・・
となる。nは導波路の材質の有効屈折率で、Lは共振器の周長、cは光速である。
光コムは、周波数軸上で見たとき、図16(b)のようなモードが櫛のように等間隔に並ぶスペクトラムを有する。
(【0011】以降は省略されています)
この特許をJ-PlatPat(特許庁公式サイト)で参照する
関連特許
国立大学法人徳島大学
ゼオライトの製造方法
3か月前
国立大学法人徳島大学
マイクロコム制御装置
28日前
国立大学法人徳島大学
肝細胞様細胞の製造方法及びその利用
14日前
国立大学法人徳島大学
マイクロ光共振器、及び光周波数コム発生装置
14日前
国立大学法人徳島大学
マイクロ光共振器、及び光周波数コム発生装置
14日前
国立大学法人徳島大学
マイクロ光共振器、及び光周波数コム発生装置
14日前
国立大学法人徳島大学
マイクロ光共振器、及び光周波数コム発生装置
14日前
国立大学法人徳島大学
分析プログラム、分析装置、分析方法、および測定装置
1か月前
国立大学法人徳島大学
高偏極化対象物、並びに、その製造方法、高偏極化方法及び高偏極化装置
3か月前
国立大学法人徳島大学
骨および/または軟骨再生用の組成物、骨および/または軟骨の疾患の処置および/または予防用の組成物
7日前
カンタツ株式会社
光学系
25日前
日本精機株式会社
表示装置
1か月前
日本精機株式会社
表示装置
1か月前
アイカ工業株式会社
反射防止フィルム
1日前
キヤノン株式会社
映像表示装置
14日前
アイカ工業株式会社
反射防止フィルム
25日前
インターマン株式会社
立体映像表示装置
14日前
日本精機株式会社
ヘッドアップディスプレイ
1か月前
沖電気工業株式会社
光導波路素子
1か月前
沖電気工業株式会社
光導波路素子
1か月前
沖電気工業株式会社
光導波路素子
1か月前
個人
透過型及び反射型顕微鏡
14日前
キヤノン株式会社
画像表示装置
22日前
東レ株式会社
プラスチック光ファイバ
24日前
キヤノン株式会社
レンズ装置および撮像装置
2日前
レーザーテック株式会社
検査装置及び検査方法
4日前
キヤノン株式会社
表示装置
7日前
日東電工株式会社
光学積層体
15日前
東レ株式会社
先端に凸面を有する光ファイバ
14日前
キヤノン株式会社
光学系及び撮像装置
8日前
株式会社小糸製作所
画像投影装置
15日前
株式会社小糸製作所
画像生成装置
23日前
日東電工株式会社
光学積層体
28日前
株式会社小糸製作所
画像投影装置
14日前
日本電気株式会社
リング共振器、およびその製造方法
29日前
KDDI株式会社
光増幅器
14日前
続きを見る
他の特許を見る