TOP
|
特許
|
意匠
|
商標
特許ウォッチ
Twitter
他の特許を見る
10個以上の画像は省略されています。
公開番号
2025011695
公報種別
公開特許公報(A)
公開日
2025-01-24
出願番号
2023113955
出願日
2023-07-11
発明の名称
腸状態推定プログラム、腸状態推定装置、および腸状態推定システム
出願人
ダイキン工業株式会社
,
国立大学法人徳島大学
代理人
弁理士法人前田特許事務所
主分類
A61B
10/00 20060101AFI20250117BHJP(医学または獣医学;衛生学)
要約
【課題】所定の刺激が付与された後の腸の状態を推定する。
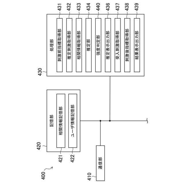
【解決手段】腸状態推定プログラムは、対象者に関する刺激前指標を取得する刺激前指標取得処理と、記憶装置(420)に予め記憶された複数人に関する相関情報を取得する相関情報取得処理と、刺激前指標取得処理において取得した刺激前指標と相関情報取得処理において取得した相関情報とに基づいて、対象者に関する刺激後指標を推定する推定処理とを、コンピュータ(200,400)に実行させる。
【選択図】図7
特許請求の範囲
【請求項1】
対象者の腸の状態を推定する処理をコンピュータ(200,400)に実行させる腸状態推定プログラムであって、
腸音に関する指標を腸音指標とし、
所定の刺激が付与される前の上記腸音指標を刺激前指標とし、
所定の刺激が付与された後の上記腸音指標を刺激後指標とし、
上記刺激前指標と、上記刺激前指標に対する上記刺激後指標の比との関係を示す情報を相関情報としたときに、
コンピュータ(200,400)に、
上記対象者に関する上記刺激前指標を取得する刺激前指標取得処理と、
記憶装置(420)に予め記憶された複数人に関する上記相関情報を取得する相関情報取得処理と、
上記刺激前指標取得処理において取得した上記刺激前指標と上記相関情報取得処理において取得した上記相関情報とに基づいて、上記対象者に関する上記刺激後指標を推定する推定処理とを、実行させる
腸状態推定プログラム。
続きを表示(約 1,400 文字)
【請求項2】
上記刺激前指標は、上記推定処理を実行する直前に集音装置(110)において計測された指標である
請求項1に記載の腸状態推定プログラム。
【請求項3】
上記刺激前指標は、過去の平常時に計測された指標である
請求項1に記載の腸状態推定プログラム。
【請求項4】
上記対象者が推定したい刺激を推定刺激としたときに、
上記対象者によって入力された推定刺激の情報を取得する推定刺激取得処理と、
上記推定処理としての、上記推定刺激取得処理において取得した上記推定刺激に関する上記対象者の上記刺激後指標を推定する処理とを、コンピュータ(200,400)に実行させる
請求項1に記載の腸状態推定プログラム。
【請求項5】
上記推定処理において推定された上記刺激後指標を含む推定情報を表示装置(250)に表示するための信号を出力する推定表示出力処理を、コンピュータ(200,400)に実行させる
請求項4に記載の腸状態推定プログラム。
【請求項6】
上記推定処理において推定された上記刺激後指標と上記刺激前指標取得処理において取得された上記刺激前指標との差に基づいて、刺激の強度を判定する強度判定処理と、
上記強度を含む推定情報を表示装置(250)に表示するための信号を出力する推定表示出力処理とを、コンピュータ(200,400)に実行させる
請求項4に記載の腸状態推定プログラム。
【請求項7】
過去に上記推定処理によって推定された上記刺激後指標と、過去に計測された上記刺激後指標との差に基づいて、刺激の推奨度合いを示す推奨度を判定する推奨度判定処理と、
上記推奨度を含む推定情報を表示装置(250)に表示するための信号を出力する推定表示出力処理とを、コンピュータ(200,400)に実行させる
請求項4に記載の腸状態推定プログラム。
【請求項8】
上記相関情報における推定値と実測値との乖離を乖離量としたときに、
過去の上記乖離量に基づいて、刺激の適合度合いを示す適合度を判定する適合度判定処理と、
上記適合度を含む推定情報を表示装置(250)に表示するための信号を出力する推定表示出力処理とを、コンピュータ(200,400)に実行させる
請求項4に記載の腸状態推定プログラム。
【請求項9】
上記刺激前指標取得処理において取得した上記刺激前指標と上記相関情報取得処理において取得した上記相関情報とに基づいて、上記対象者に関する上記刺激後指標を、複数種類の刺激のそれぞれについて推定する処理を、上記推定処理としてコンピュータ(200,400)に実行させる
請求項1に記載の腸状態推定プログラム。
【請求項10】
上記推定処理において推定された上記刺激後指標と上記刺激前指標取得処理において取得された上記刺激前指標との差に基づいて、複数種類の刺激のそれぞれについて、刺激の強度を判定する強度判定処理と、
上記強度を含む推定情報を、対応する刺激と関連付けた状態で、表示装置(250)に表示するための信号を出力する推定表示出力処理とを、コンピュータ(200,400)に実行させる
請求項9に記載の腸状態推定プログラム。
(【請求項11】以降は省略されています)
発明の詳細な説明
【技術分野】
【0001】
本開示は、腸状態推定プログラム、腸状態推定装置、および腸状態推定システムに関する。
続きを表示(約 1,300 文字)
【背景技術】
【0002】
近年、健康に対する意識が高まっており、健康に関する情報提供の支援を行うための各種装置やサービスが提供され始めている。特に、健康を管理する指標として、腸の調子を重視するユーザも増加しつつある。特許文献1では、ユーザの腹部の音情報と、予め用意された学習情報とを用いて、ユーザの腸の調子を腸スコアとして表示するシステムが開示されている。
【先行技術文献】
【特許文献】
【0003】
国際公開第2022/124190号明細書
【発明の概要】
【発明が解決しようとする課題】
【0004】
腸の活動状態は、ユーザの活動状況や摂取した飲食物などの刺激に応じて変化する。そのため、実際に刺激を受けないと、その刺激を受けた後にユーザの腸の状態がどのように変化するのか分からない。また、毎日同じ食物を摂取して同じ刺激を受けたとしても、日によって腸の活動度合いが異なる場合もあり、刺激による腸活動の変化を把握することは難しい。
【0005】
一方で、例えば、慢性的な便秘状態を解消したいが重要な会議がある日には腸活動を促進させたくないというように、腸の調子やスケジュールに合わせてユーザ自身が受ける刺激の内容を調節したいという要望がある。
【0006】
本開示の目的は、所定の刺激が付与された後の腸の状態を推定することである。
【課題を解決するための手段】
【0007】
第1の態様は、対象者の腸の状態を推定する処理をコンピュータ(200,400)に実行させる腸状態推定プログラムを対象とする。腸状態推定プログラムは、腸音に関する指標を腸音指標とし、所定の刺激が付与される前の上記腸音指標を刺激前指標とし、所定の刺激が付与された後の上記腸音指標を刺激後指標とし、上記刺激前指標と、上記刺激前指標に対する上記刺激後指標の比との関係を示す情報を相関情報としたときに、コンピュータ(200,400)に、上記対象者に関する上記刺激前指標を取得する刺激前指標取得処理と、記憶装置(420)に予め記憶された複数人に関する上記相関情報を取得する相関情報取得処理と、上記刺激前指標取得処理において取得した上記刺激前指標と上記相関情報取得処理において取得した上記相関情報とに基づいて、上記対象者に関する上記刺激後指標を推定する推定処理とを、実行させる。
【0008】
第1の態様の腸状態推定プログラムは、コンピュータ(200,400)に推定処理を実行させる。推定処理は、対象者に関する刺激前指標と複数人に関する相関情報とに基づいて、対象者に関する刺激後指標を推定する。したがって、この態様によれば、所定の刺激が付与された後の腸の状態を推定できる。
【0009】
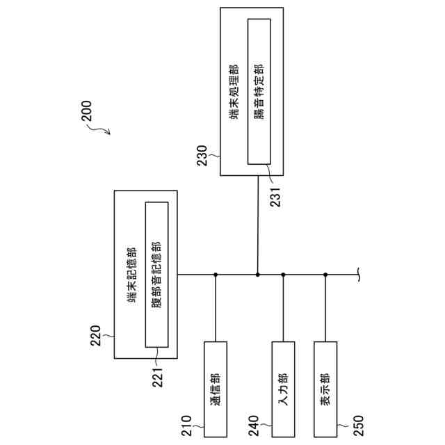
第2の態様は、第1の態様において、上記刺激前指標は、上記推定処理を実行する直前に集音装置(110)において計測された指標である。
【0010】
第2の態様では、対象者に関する最新の刺激前指標に基づいて、対象者の刺激後指標を推定できる。
(【0011】以降は省略されています)
この特許をJ-PlatPat(特許庁公式サイト)で参照する
関連特許
ダイキン工業株式会社
固体冷凍装置
今日
ダイキン工業株式会社
空気調和装置
今日
ダイキン工業株式会社
スクロール圧縮機、及び冷凍装置
今日
ダイキン工業株式会社
冷媒を含む組成物、その使用、並びにそれを有する冷凍機及びその冷凍機の運転方法
2日前
ダイキン工業株式会社
環境推定装置、表示システム、空気調和システム、環境推定方法、プログラム、環境推定システム、および学習済みモデルの製造方法
今日
ダイキン工業株式会社
フッ素系ポリマー組成物、電気化学デバイス用バインダー、電極合剤、電極、及び、二次電池
今日
ダイキン工業株式会社
フルオロポリマーの製造方法、ポリテトラフルオロエチレンの製造方法、パーフルオロエラストマーの製造方法および組成物
今日
個人
短下肢装具
2か月前
個人
嚥下鍛錬装置
2か月前
個人
前腕誘導装置
2か月前
個人
胸骨圧迫補助具
28日前
個人
バッグ式オムツ
3か月前
個人
歯の修復用材料
3か月前
個人
矯正椅子
4か月前
個人
アイマスク装置
1か月前
個人
汚れ防止シート
4日前
個人
ホバーアイロン
5か月前
個人
陣痛緩和具
2か月前
個人
湿布連続貼り機。
1か月前
個人
哺乳瓶冷まし容器
2か月前
個人
シャンプー
5か月前
個人
歯の保護用シール
4か月前
個人
治療用酸化防御装置
22日前
個人
エア誘導コルセット
1か月前
株式会社大野
骨壷
3か月前
個人
性行為補助具
2か月前
株式会社八光
剥離吸引管
4か月前
株式会社ニデック
眼科装置
16日前
個人
高気圧環境装置
3か月前
株式会社ダリヤ
毛髪化粧料
14日前
株式会社ニデック
検眼装置
2か月前
株式会社松風
口腔用組成物
2か月前
株式会社ニデック
眼科装置
16日前
個人
精力増強キット
8日前
株式会社ニデック
眼科装置
3か月前
株式会社GSユアサ
歩行器
4か月前
続きを見る
他の特許を見る