TOP
|
特許
|
意匠
|
商標
特許ウォッチ
Twitter
他の特許を見る
10個以上の画像は省略されています。
公開番号
2025128626
公報種別
公開特許公報(A)
公開日
2025-09-03
出願番号
2024025405
出願日
2024-02-22
発明の名称
圧力容器の製造方法
出願人
株式会社FTS
代理人
弁理士法人グランダム特許事務所
主分類
F16J
12/00 20060101AFI20250827BHJP(機械要素または単位;機械または装置の効果的機能を生じ維持するための一般的手段)
要約
【課題】ベース部材とバリア層の界面おけるボイドの発生を抑制する。
【解決手段】圧力容器Aの製造方法は、ベース部材11,14と、ベース部材11,14の内面11S,14Sに塗布したバリア性材料21を加熱処理することによって形成されるバリア層12,15と、を有する圧力容器Aを製造する方法であって、ベース部材11,14に塗布したバリア性材料21を大気圧よりも低い減圧環境下で加熱することによって、バリア性材料21の気化成分を気化させる減圧加熱工程を行う。減圧環境下でバリア性材料21を加熱することによって、バリア性材料21中の気化成分を気化させてバリア層12,15の外部へ放出し、バリア層12,15内の残留気化成分を減少させる。
【選択図】図11
特許請求の範囲
【請求項1】
ベース部材と、前記ベース部材の内面に塗布したバリア性材料を加熱処理することによって形成されるバリア層と、を有する圧力容器の製造方法であって、
前記ベース部材に塗布した前記バリア性材料を大気圧よりも低い減圧環境下で加熱することによって、前記バリア性材料の気化成分を気化させる減圧加熱工程を含む圧力容器の製造方法。
続きを表示(約 510 文字)
【請求項2】
粉体塗料からなる前記バリア性材料を、前記ベース部材の前記内面に塗布する塗布工程と、
前記塗布工程において前記内面に塗布した前記バリア性材料を、大気圧環境下において、加熱して溶融する加熱工程と、を含み、
前記減圧加熱工程では、前記加熱工程において溶融した前記バリア性材料を、大気圧よりも低い減圧環境下において加熱する請求項1に記載の圧力容器の製造方法。
【請求項3】
加熱によって気化する気化成分を含んだベース材料によって前記ベース部材を成形する成形工程と、
前記ベース部材の前記内面に前記バリア性材料を塗布する前に、前記成形工程において成形した前記ベース部材を加熱することによって前記ベース材料の気化成分を気化させる事前気化工程と、を含む請求項1又は請求項2に記載の圧力容器の製造方法。
【請求項4】
前記事前気化工程を、大気圧よりも低い減圧環境下で行う請求項3に記載の圧力容器の製造方法。
【請求項5】
前記事前気化工程における圧力を、前記減圧加熱工程における圧力よりも低くする請求項4に記載の圧力容器の製造方法。
発明の詳細な説明
【技術分野】
【0001】
本発明は、圧力容器の製造方法に関するものである。
続きを表示(約 2,000 文字)
【背景技術】
【0002】
特許文献1には、合成樹脂製のライナーの内周面に、合成樹脂製のバリア層を形成した圧力容器が開示されている。この種の圧力容器を製造する方法としては、ライナーを成形した後に、ライナーの内面にバリア層を形成することが考えられる。ライナーの成形方法としては、熱硬化性樹脂を含む繊維強化樹脂材を、マンドレルに巻き付けた状態で加熱して硬化させる方法が考えられる。成形済みのライナーの内周にバリア層を形成する方法としては、ガスバリア性を有する熱硬化性樹脂をライナーに塗布し、これを加熱する方法が考えられる。
【先行技術文献】
【特許文献】
【0003】
特開2018-105441号公報
【発明の概要】
【発明が解決しようとする課題】
【0004】
上記のような方法によってライナーの成形とバリア層の形成を行った圧力容器において、バリア層の材料が気化成分を含む場合は、圧力容器の圧力変化や温度変化等によって、バリア層内で気泡が発生し、この気泡がライナーとバリア層の界面にボイドとして残留する虞がある。ライナーとバリア層の界面にボイドが存在すると、ライナーとバリア層との界面における耐ブリスターが低下し、バリア層の剥離の原因となる。
【0005】
本発明は上記のような事情に基づいて完成されたものであって、ボイドの発生を抑制することを目的とする。
【課題を解決するための手段】
【0006】
本開示は、
ベース部材と、前記ベース部材の内面に塗布したバリア性材料を加熱処理することによって形成されるバリア層と、を有する圧力容器の製造方法であって、
前記ベース部材に塗布した前記バリア性材料を大気圧よりも低い減圧環境下で加熱することによって、前記バリア性材料の気化成分を気化させる減圧加熱工程を含む。
【発明の効果】
【0007】
この構成によれば、ベース部材とバリア層の界面おけるボイドの発生を抑制することができる。
【図面の簡単な説明】
【0008】
実施例1の圧力容器の正面図
圧力容器の断面図
筒状部材とドーム状部材との接続構造をあらわす部分拡大断面図
筒状ベース部材を製造するための成形工程において、マンドレルに繊維強化樹脂からなるベース材料を巻き付けている様子をあらわす斜視図
筒状ベース部材の成形工程において、筒状ベース部材の加熱処理と冷却処理を行っている様子をあらわす斜視図
筒状ベース部材の成形工程において、成形済みの筒状ベース部材をマンドレルから抜き取る様子をあらわす斜視図
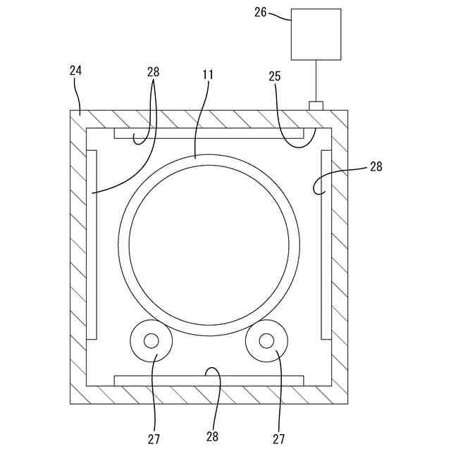
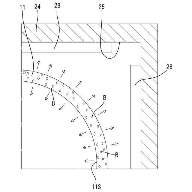
事前気化工程において、筒状ベース部材を減圧環境下で加熱している様子をあらわす断面図
図7の部分拡大断面図
塗布工程において、筒状ベース部材の内周面にバリア性材料を塗布している様子をあらわす斜視図
加熱工程及び減圧加熱工程において、筒状ベース部材とバリア性材料を加熱している様子をあらわす断面図
図10の部分拡大断面図
【発明を実施するための形態】
【0009】
最初に本開示の実施形態を列記して説明する。下記の複数の実施形態を、矛盾を生じない範囲で任意に組み合わせたものも、発明を実施するための形態に含まれる。
本開示の圧力容器の製造方法は、
(1)ベース部材と、前記ベース部材の内面に塗布したバリア性材料を加熱処理することによって形成されるバリア層と、を有する圧力容器の製造方法であって、前記ベース部材に塗布した前記バリア性材料を大気圧よりも低い減圧環境下で加熱することによって、前記バリア性材料の気化成分を気化させる減圧加熱工程を含む。この製造方法によれば、減圧環境下では気化成分の沸点が低下するので、減圧環境下でバリア性材料を加熱することによって、バリア性材料中の気化成分を気化させてバリア層の外部へ放出し、バリア層内に残留する気化成分を減少させることができる。これにより、バリア層の形成後にバリア層から気泡が発生することを抑制し、ベース部材とバリア層との界面におけるボイドの発生を抑制することができる。
【0010】
(2)(1)において、
粉体塗料からなる前記バリア性材料を、前記ベース部材の前記内面に塗布する塗布工程と、
前記塗布工程において前記内面に塗布した前記バリア性材料を、大気圧環境下において、加熱して溶融する加熱工程と、を含み、
前記減圧加熱工程では、前記加熱工程において溶融した前記バリア性材料を、大気圧よりも低い減圧環境下において加熱することが好ましい。
(【0011】以降は省略されています)
この特許をJ-PlatPat(特許庁公式サイト)で参照する
関連特許
株式会社FTS
採型装置
4日前
株式会社FTS
蓋の取付構造
17日前
株式会社FTS
蓋の取付構造
17日前
株式会社FTS
動物飼育装置
1か月前
株式会社FTS
圧力容器の製造方法
1か月前
株式会社FTS
圧力容器の製造方法
1か月前
株式会社FTS
バッテリー用冷却器
1か月前
株式会社FTS
車両用リッド開閉装置
1か月前
株式会社FTS
バッテリーケース用ロアトレイ
2か月前
個人
鍋虫ねじ
1か月前
個人
紛体用仕切弁
1か月前
個人
ホース保持具
5か月前
個人
回転伝達機構
2か月前
個人
差動歯車用歯形
3か月前
個人
トーションバー
6か月前
個人
ジョイント
17日前
株式会社不二工機
電磁弁
3か月前
株式会社不二工機
電磁弁
4か月前
個人
ボルトナットセット
6か月前
個人
ナット
18日前
個人
地震の揺れ回避装置
2か月前
個人
回転式配管用支持具
7か月前
個人
吐出量監視装置
1か月前
カヤバ株式会社
緩衝器
6か月前
柿沼金属精機株式会社
分岐管
1か月前
カヤバ株式会社
緩衝器
3か月前
カヤバ株式会社
ダンパ
3か月前
株式会社三協丸筒
枠体
6か月前
カヤバ株式会社
ダンパ
3か月前
カヤバ株式会社
緩衝器
3か月前
個人
ベルトテンショナ
7か月前
個人
角型菅の連結構造及び工法
7か月前
個人
固着具と固着具の固定方法
4か月前
株式会社不二工機
電動弁
6か月前
日東電工株式会社
断熱材
5か月前
個人
固着具と固着具の固定方法
4か月前
続きを見る
他の特許を見る