TOP
|
特許
|
意匠
|
商標
特許ウォッチ
Twitter
他の特許を見る
10個以上の画像は省略されています。
公開番号
2025126817
公報種別
公開特許公報(A)
公開日
2025-08-29
出願番号
2024023233
出願日
2024-02-19
発明の名称
動物飼育装置
出願人
株式会社FTS
,
学校法人関西文理総合学園
代理人
弁護士法人クレオ国際法律特許事務所
主分類
A01K
67/34 20250101AFI20250822BHJP(農業;林業;畜産;狩猟;捕獲;漁業)
要約
【課題】より高性能な動物飼育装置を提供する。
【解決手段】気密性を有し内部空間13にてコオロギの飼育が行われる飼育ケース部12と、飼育ケース部12への空気の供給と、飼育ケース部12からの空気の回収とを行う空気循環部と、を備え、飼育ケース部12が、空気を取り込むための循環空気導入口18と、空気を排出するための循環空気導出口20と、を有する。内部空間13を上方空間部52と下方空間部54とに区画するとともに空気を通過させることが可能な通気部50を備え、空気を、下方空間部54から上方空間部52へ通過させ、上方空間部52にてコオロギの飼育を行う。
【選択図】図3
特許請求の範囲
【請求項1】
気密性を有し内部空間にて動物の飼育が行われる飼育ケース部と、
前記飼育ケース部への空気の供給と、前記飼育ケース部からの前記空気の回収とを行う空気循環部と、を備え、
前記飼育ケース部が、
前記空気を取り込むための導入口と、
前記空気を排出するための排出口と、を有する動物飼育装置。
続きを表示(約 560 文字)
【請求項2】
前記内部空間を上方空間部と下方空間部とに区画するとともに前記空気を通過させることが可能な通気部を備え、
前記空気を、前記下方空間部から前記上方空間部へ通過させ、前記上方空間部にて前記動物の飼育を行う、請求項1に記載の動物飼育装置。
【請求項3】
前記上方空間部に、前記動物が掴まることが可能な足場部を設けた、請求項2に記載の動物飼育装置。
【請求項4】
前記空気を浄化する空気清浄部を備えた、請求項2に記載の動物飼育装置。
【請求項5】
前記飼育ケース部に、前記動物の生育を促した環境再現光を照射する光源部を備えた、請求項2に記載の動物飼育装置。
【請求項6】
前記飼育ケース部に、前記内部空間と、前記飼育ケース部の外部空間とを空間的に繋げて気密性を解除する開閉部を備えた、請求項2に記載の動物飼育装置。
【請求項7】
前記内部空間に、角度の変更が可能な餌場部を備えた、請求項2に記載の動物飼育装置。
【請求項8】
前記飼育ケース部に、光透過性を有する窓部を備えた、請求項2に記載の動物飼育装置。
【請求項9】
前記内部空間の除菌が可能な除菌部を備えた、請求項2に記載の動物飼育装置。
発明の詳細な説明
【技術分野】
【0001】
本発明は、動物の飼育に用いられる動物飼育装置に関する。
続きを表示(約 1,500 文字)
【背景技術】
【0002】
後掲の特許文献1(請求項1など)には、昆虫の幼虫を保管するためのクレート(1)や、空気入口ダクト(2)等を備えたシステムに係る発明が開示されている。特許文献1に開示された発明においては、複数のクレート(1)が積み重ねられている。また、後掲の特許文献2(段落0029、0030、図2など)には、止まり部材(21)の上端部が天井板(111)に保持され、止まり部材(21)が、コオロギ(500)の足場となることが開示されている。
【先行技術文献】
【特許文献】
【0003】
特許第7302098号公報
特開2021-151190号公報
【発明の概要】
【発明が解決しようとする課題】
【0004】
ところで、動物飼育装置の技術分野においては、飼育対象となる動物や、飼育を行う者(飼育者)にとって、より一層好適な性能が求められている。
【0005】
本発明は、より高性能な動物飼育装置を提供することを目的とする。
【課題を解決するための手段】
【0006】
本発明の一実施形態に係る動物飼育装置は、
気密性を有し内部空間にて動物の飼育が行われる飼育ケース部と、
前記飼育ケース部への空気の供給と、前記飼育ケース部からの前記空気の回収とを行う空気循環部と、を備え、
前記飼育ケース部が、
前記空気を取り込むための導入口と、
前記空気を排出するための排出口と、を有する。
【発明の効果】
【0007】
本発明によれば、より高性能な動物飼育装置を提供することができる。
【図面の簡単な説明】
【0008】
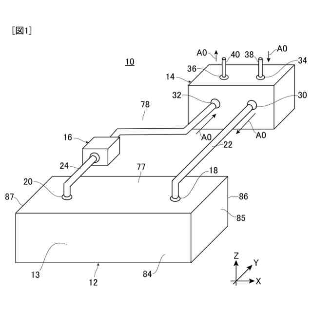
一実施形態の動物飼育装置を概略的に示す斜視図である。
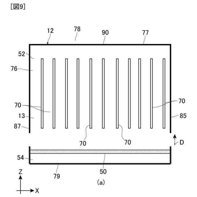
(a)は複数の飼育ケース部を直列に接続した状態を示す説明図、(b)は複数の飼育ケース部を並列に接続した状態を示す説明図である。
循環空気導入口と循環空気導出口の配置例を示す説明図である。
(a)~(c)は循環空気導入口と循環空気導出口の配置に係る変形例を示す説明図である。
光源部の配置例を示す説明図である。
(a)、(b)は足場部の配置例を示す説明図、(c)は係止受部の構造例を示す説明図である。
(a)、(b)は足場部の変形例を示す説明図である。
(a)は蓋部の一例を示す説明図、(b)は蓋部の変形例を示す説明図である。
蓋部に係る他の変形例を示す説明図である。
(a)は餌場部の一例を示す説明図、(b)は(a)の餌場部を拡大して示す斜視図である。
窓部の一例を示す説明図である。
燻蒸部の一例を示す説明図である。
【発明を実施するための形態】
【0009】
<動物飼育装置10の基本構成>
以下に、実施形態に係る動物飼育装置10について、図面に基づき説明する。図1は実施形態に係る動物飼育装置10を示している。動物飼育装置10の飼育対象は、どのような動物でもよいが、本実施形態では、昆虫のコオロギを飼育対象としている。動物飼育装置10は、例えば、コオロギの飼育を行う飼育工場への設置が可能なものである。
【0010】
動物飼育装置10は、飼育ケース部12と、空気循環部14とを備えている。飼育ケース部12と、空気循環部14との間には、空気清浄部16が備えられている。ここでは、飼育ケース部12、空気循環部14、及び、空気清浄部16の基本的な事項について説明し、これらの詳細については後述する。
(【0011】以降は省略されています)
この特許をJ-PlatPat(特許庁公式サイト)で参照する
関連特許
株式会社FTS
採型装置
1日前
株式会社FTS
蓋の取付構造
14日前
株式会社FTS
蓋の取付構造
14日前
株式会社FTS
動物飼育装置
1か月前
株式会社FTS
圧力容器の製造方法
1か月前
株式会社FTS
圧力容器の製造方法
1か月前
株式会社FTS
バッテリー用冷却器
1か月前
個人
虫捕り器
4日前
個人
巻糸係止具
25日前
個人
刈込鋏保持具
今日
個人
植物栽培用培地
1か月前
個人
飼育容器
14日前
個人
後付巻降ろし器
4日前
個人
釣り仕掛け処理具
1か月前
個人
イカ釣り用ヤエン
4日前
個人
植木鉢用台
1か月前
株式会社丹勝
緑化工法
1日前
井関農機株式会社
作業車両
4日前
井関農機株式会社
作業車両
4日前
井関農機株式会社
作業車両
2日前
株式会社シマノ
釣竿
4日前
井関農機株式会社
圃場作業機
25日前
個人
水耕栽培システム
14日前
個人
苔玉スタンド
1か月前
井関農機株式会社
作業車両
14日前
井関農機株式会社
作業車両
今日
松山株式会社
農作業機
1か月前
松山株式会社
農作業機
1か月前
松山株式会社
農作業機
1か月前
個人
伸縮する草刈り機の可動装置。
4日前
松山株式会社
農作業機
今日
個人
妻面トラス梁付き園芸用ハウス
16日前
松山株式会社
農作業機
14日前
株式会社シマノ
ルアー
1か月前
みのる産業株式会社
苗植付装置
29日前
みのる産業株式会社
苗植付装置
29日前
続きを見る
他の特許を見る