TOP
|
特許
|
意匠
|
商標
特許ウォッチ
Twitter
他の特許を見る
10個以上の画像は省略されています。
公開番号
2025125825
公報種別
公開特許公報(A)
公開日
2025-08-28
出願番号
2024022031
出願日
2024-02-16
発明の名称
バッテリー用冷却器
出願人
株式会社FTS
代理人
弁理士法人グランダム特許事務所
主分類
H01M
10/6568 20140101AFI20250821BHJP(基本的電気素子)
要約
【課題】冷却効率の向上を図る。
【解決手段】バッテリー用冷却器30は、バッテリーセル11の熱が伝達される伝熱部34を有する冷媒ケース36と、冷媒ケース36内に形成され、伝熱部34に臨む冷媒流路44と、を備え、冷媒流路44は、冷媒の流動方向において断面積が一定の層流部45と、冷媒の流動方向において断面積が変化する乱流部46とを連ねて構成されている。乱流部46においては、断面積の変化によって冷媒の乱流が生成されるので、伝熱部34に対する単位時間当たりの冷媒の接触量が、層流部45よりも多くなる。
【選択図】図6
特許請求の範囲
【請求項1】
バッテリーセルの熱が伝達される伝熱部を有する冷媒ケースと、
前記冷媒ケース内に形成され、前記伝熱部に臨む冷媒流路と、を備え、
前記冷媒流路は、冷媒の流動方向において断面積が一定の層流部と、冷媒の流動方向において断面積が変化する乱流部とを連ねて構成されているバッテリー用冷却器。
続きを表示(約 560 文字)
【請求項2】
前記乱流部が、互いに並行する複数の前記層流部の下流端に連通する1つの空間によって構成されている請求項1に記載のバッテリー用冷却器。
【請求項3】
前記乱流部の上流端における断面積は、前記複数の前記層流部の総断面積よりも大きい請求項2に記載のバッテリー用冷却器。
【請求項4】
前記乱流部は、一直線状に直列配置された2本の前記層流部の間に配置され、
前記乱流部の断面積が、前記層流部の断面積よりも小さい請求項1に記載のバッテリー用冷却器。
【請求項5】
前記冷媒ケースは、並行する前記冷媒流路を仕切る細長い仕切部を有し、
前記仕切部のうち局部的に幅寸法を大きくした拡幅部が、前記乱流部を形成している請求項1から請求項4のいずれか1項に記載のバッテリー用冷却器。
【請求項6】
前記冷媒ケースは、前記伝熱部を有する第1部材の外周縁部と、前記仕切部が形成された第2部材の外周縁部とを接合して構成されており、
前記仕切部が、前記第1部材に対して接合されている請求項5に記載のバッテリー用冷却器。
【請求項7】
前記拡幅部と前記第1部材とがスポット溶接によって固着されている請求項5に記載のバッテリー用冷却器。
発明の詳細な説明
【技術分野】
【0001】
本発明は、バッテリー用冷却器に関するものである。
続きを表示(約 1,700 文字)
【背景技術】
【0002】
特許文献1には、板状の冷却部材と、冷却部材の外周縁に取り付けた複数の壁状のフレームとを有する電池パック構造体が開示されている。冷却部材は、電池パックの過熱を防止するための部材であり、上部冷却層と下部冷却層とを上下に重ねて一体化させたものである。上部冷却層と下部冷却層との間には、冷却水を流動させるための冷却流路が構成されている。電池パックは、冷却部材の上面に載置した状態で取り付けられる。電池パックで生じた熱は、上部冷却層を介すことによって冷却部材に奪われる。
【先行技術文献】
【特許文献】
【0003】
特開2021-140863号公報
【発明の概要】
【発明が解決しようとする課題】
【0004】
冷却水は、上部冷却層に接触することによって、電池パックの熱を奪う。ところが、上記の冷却部材は、冷却流路の幅が一定であって、冷却水が層流状に流れる。そのため、冷却水が冷却流路を通過する過程で上部冷却層に接触するのは、冷却水の一部だけであり、上部冷却層から冷却水への熱伝達量が少ない。
【0005】
本発明は上記のような事情に基づいて完成されたものであって、冷却効率の向上を図ることを目的とする。
【課題を解決するための手段】
【0006】
本開示のバッテリー用冷却器は、
バッテリーセルの熱が伝達される伝熱部を有する冷媒ケースと、
前記冷媒ケース内に形成され、前記伝熱部に臨む冷媒流路と、を備え、
前記冷媒流路は、冷媒の流動方向において断面積が一定の層流部と、冷媒の流動方向において断面積が変化する乱流部とを連ねて構成されている。
【発明の効果】
【0007】
この構成によれば、冷却効率の向上を図ることができる。
【図面の簡単な説明】
【0008】
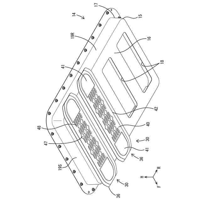
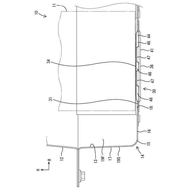
実施例1のロアトレイを斜め上から視た斜視図である。
ロアトレイを斜め下から視た斜視図である。
分解状態のロアトレイを斜め上から視た斜視図である。
分解状態の冷却器を斜め上から視た斜視図である。
分解状態の冷却器を斜め上から視た斜視図である。
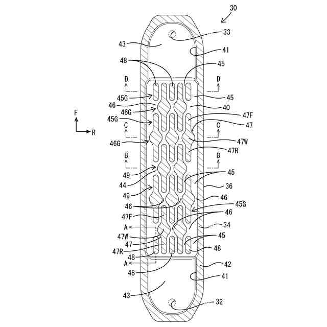
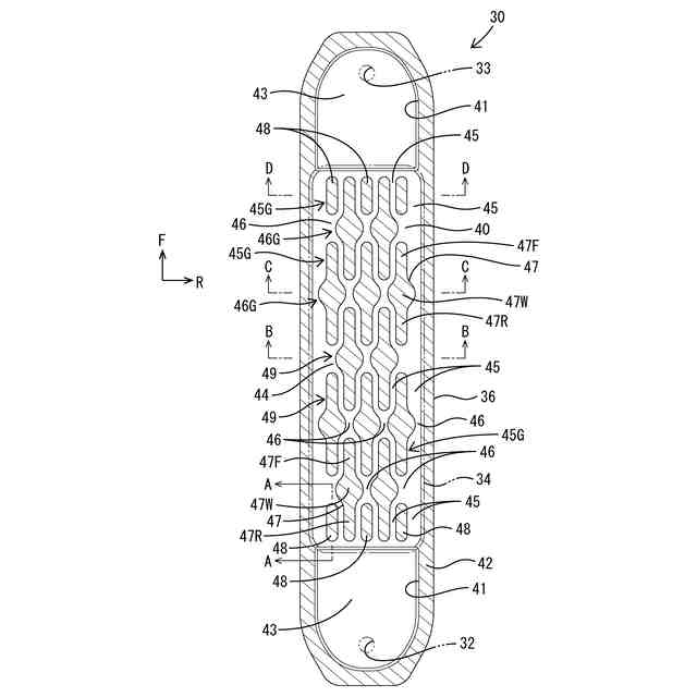
冷却器の冷媒流路の構成をあらわす概略平面図である。
冷却器を図6のA-A相当線で切断した断面図である。
ロアトレイを図6のB-B相当線で切断した断面図である。
ロアトレイを図6のC-C相当線で切断した断面図である。
ロアトレイを図6のD-D相当線で切断した断面図である。
実施例2の冷却器の冷媒流路の構成をあらわす概略平面図である。
【発明を実施するための形態】
【0009】
[本開示の実施形態の説明]
最初に本開示の実施形態を列記して説明する。下記の複数の形態例を、矛盾を生じない範囲で任意に組み合わせたものも、発明を実施するための形態に含まれる。
本開示のバッテリー用冷却器は、
(1)バッテリーセルの熱が伝達される伝熱部を有する冷媒ケースと、前記冷媒ケース内に形成され、前記伝熱部に臨む冷媒流路と、を備え、前記冷媒流路は、冷媒の流動方向において断面積が一定の層流部と、冷媒の流動方向において断面積が変化する乱流部とを連ねて構成されている。本開示の構成によれば、層流部によって冷媒流路全体としての冷媒の一方向の流れが生成される。乱流部においては、断面積の変化によって冷媒の乱流が生成されるので、伝熱部に対する単位時間当たりの冷媒の接触量が、層流部よりも多くなる。よって、冷媒流路の全領域において冷媒が層流状に流れる場合に比べると、冷却効率に優れている。
【0010】
(2)(1)において、前記乱流部が、互いに並行する複数の前記層流部の下流端に連通する1つの空間によって構成されていることが好ましい。この構成によれば、乱流部においては、複数の冷媒の流れが合流することによって、乱流が生成される。
(【0011】以降は省略されています)
この特許をJ-PlatPat(特許庁公式サイト)で参照する
関連特許
株式会社FTS
採型装置
3日前
株式会社FTS
蓋の取付構造
16日前
株式会社FTS
蓋の取付構造
16日前
株式会社FTS
動物飼育装置
1か月前
株式会社FTS
圧力容器の製造方法
1か月前
株式会社FTS
圧力容器の製造方法
1か月前
株式会社FTS
バッテリー用冷却器
1か月前
株式会社FTS
車両用リッド開閉装置
1か月前
日本発條株式会社
積層体
6日前
東レ株式会社
多孔質炭素シート
25日前
個人
防雪防塵カバー
6日前
ローム株式会社
半導体装置
2日前
ローム株式会社
半導体装置
4日前
ローム株式会社
半導体装置
4日前
ローム株式会社
半導体装置
25日前
ローム株式会社
半導体装置
4日前
キヤノン株式会社
電子機器
25日前
ニチコン株式会社
コンデンサ
18日前
株式会社GSユアサ
蓄電装置
6日前
株式会社ティラド
面接触型熱交換器
17日前
東レ株式会社
ガス拡散層の製造方法
25日前
株式会社GSユアサ
蓄電装置
2日前
株式会社ホロン
冷陰極電子源
2日前
ニチコン株式会社
コンデンサ
18日前
太陽誘電株式会社
全固体電池
2日前
個人
半導体パッケージ用ガラス基板
5日前
日本特殊陶業株式会社
保持装置
2日前
マクセル株式会社
配列用マスク
17日前
TDK株式会社
電子部品
2日前
日本特殊陶業株式会社
保持装置
4日前
トヨタ自動車株式会社
二次電池
6日前
日本特殊陶業株式会社
保持装置
6日前
日本特殊陶業株式会社
保持装置
2日前
ローム株式会社
電子装置
6日前
住友電装株式会社
コネクタ
6日前
ローム株式会社
半導体装置
6日前
続きを見る
他の特許を見る