TOP
|
特許
|
意匠
|
商標
特許ウォッチ
Twitter
他の特許を見る
10個以上の画像は省略されています。
公開番号
2025136326
公報種別
公開特許公報(A)
公開日
2025-09-19
出願番号
2024034806
出願日
2024-03-07
発明の名称
蓋の取付構造
出願人
株式会社FTS
,
トヨタ自動車九州株式会社
代理人
個人
,
個人
主分類
B60K
15/05 20060101AFI20250911BHJP(車両一般)
要約
【課題】全開時の蓋のバタ付き、異音の発生を防止し、且つコストアップを抑えた蓋の取付構造を提供する。
【解決手段】給油口又は充電口等には、給油口又は充電口等のための開口部34が形成されたボックス本体部31と、ボックス本体部31に連結し、蓋取付部材20のアーム22
を収納するアーム収納部37を有するボックス30が取付けられ、アーム収納部37に形成されたアーム収納部側係合部とアーム22に形成されたアーム側係合部が係合してアーム22を回動可能にすると共に、アーム22のバネ取付部24に取付けられたバネ40がアーム収納部37に形成されたバネ係合部36と係合する蓋の取付構造であって、バネ係合部36は、複数箇所形成されている。
【選択図】図3
特許請求の範囲
【請求項1】
車体の給油口又は充電口等を塞ぐ蓋には、前記蓋を取付ける蓋取付部と、前記蓋取付部から湾曲して延設されるアームを有する蓋取付部材が取付けられ、又は、一体化され、前記給油口又は充電口等には、前記給油口又は充電口等のための開口部が形成されたボックス本体部と、前記ボックス本体部に連結し、前記蓋取付部材の前記アームを収納するアーム収納部を有するボックスが取付けられ、前記アーム収納部に形成されたアーム収納部側係合部と前記アームに形成されたアーム側係合部が係合して前記アームを回動可能にすると共に、前記アームのバネ取付部に取付けられたバネが前記アーム収納部に形成されたバネ係合部と係合する蓋の取付構造であって、
前記バネ係合部は、複数箇所形成されていることを特徴とする蓋の取付け構造。
続きを表示(約 87 文字)
【請求項2】
前記バネ係合部は、前記蓋の全閉時における前記アームに形成された前記バネ取付部を中心とする円弧上に形成されている請求項1に記載の蓋の取付け構造。
発明の詳細な説明
【技術分野】
【0001】
本発明は、自動車等車両の車体に取付けられ、車体の給油口、充電口等を塞ぎ、開閉可能な蓋を有する蓋の取付構造であり、特に、車体側とのロックが解除された時に、途中で停止することなく全開の位置まで移動することが可能な蓋に有用なものである。
続きを表示(約 1,800 文字)
【背景技術】
【0002】
自動車用燃料タンクにガソリン等の燃料や水素を給油又は充填する場合には、車体に設けられた給油口又は充填口を塞ぐ給油口蓋、充填口蓋(リッドともいう)を開き、燃料キャップを外して給油口から燃料を給油する、又は、充填ポートに充填プラグを差し込んで水素を充填する。又、電気自動車やPHV(プラグインハイブリッド車)に電気を充電する場合には、充電蓋を開き、急速充電ポート又は普通充電ポートに充電コネクタを差し込んで充電する。
【0003】
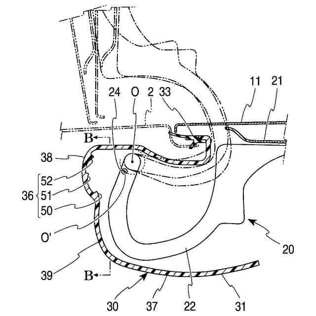
例えば、自動車用燃料タンクに燃料を給油する場合には、図1に示すように、車体201に設けられた給油口101を塞ぐ蓋(給油口蓋)110を開いて、給油口101から燃料を給油する。蓋110の裏面には蓋取付部材200が取付けられている。蓋取付部材200は、蓋110を開閉可能にする大きく湾曲したアーム220を有し、ボックス(給油口ボックス)300に取付けられている。
【0004】
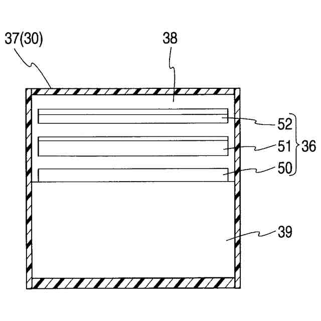
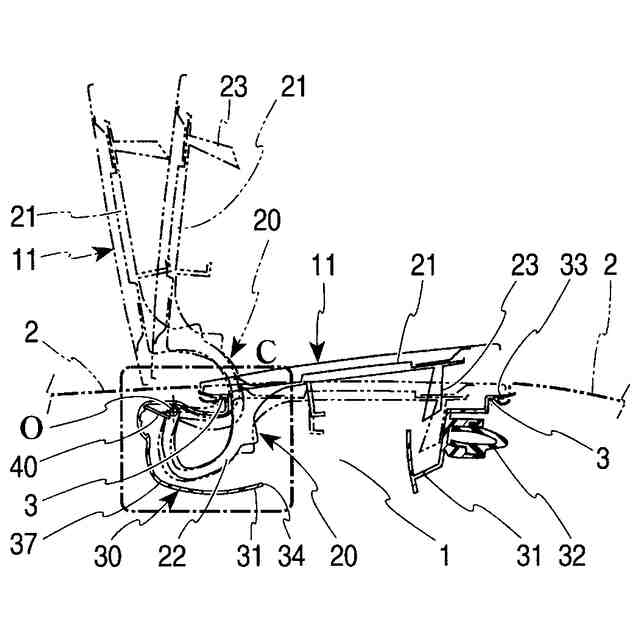
図9は、蓋110の取付構造の1例の断面図である。ボックス300は、給油口101に対応する開口部340を有し、車体に取付けられるボックス本体部310と、蓋取付部材200のアーム220を回動自在に収納するアーム収納部370から構成されている。
【0005】
アーム220は、アーム収納部370に回動可能に取付けられている。図9の記号Oは、アームの回動中心である。アーム220には、アーム収納部370のバネ係合部360と係合するバネ400が取付けられている。
【0006】
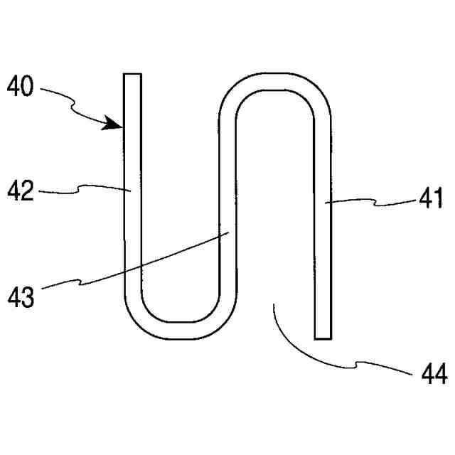
バネ400は、図示しないが、略己字形状であり、アーム220のバネ取付部240に取付けられるアーム側部410と、ボックス300のアーム収納部370のバネ係合部360に係合して保持されるアーム収納部側部420と、アーム側部410とアーム収納部側部420との間に存在するバネ本体部430を有している。又、バネ400のアーム側部410に連結し、車体201側とのロックが解除された時に、蓋110を車体201面から少し浮き上がらせるポップアップのためのバネ突出部440が形成されている。
【0007】
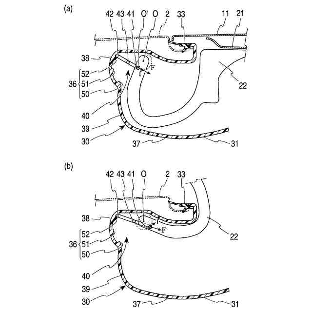
蓋110を閉じた時(全閉時)には、バネ400のアーム側部410とアーム収納部側部420の間の距離が狭まるようにバネ本体部430が撓み、又、バネ突出部440は、アーム収納部370の内壁に当接してバネ本体部430側に撓み、いずれも元の形状に戻る方向に付勢されている。その結果、給油時等において、蓋110と車体201側(ボックス300)とのロックが解除されると、バネ突出部440とバネ本体部430の付勢力によって、アーム220が蓋110を開く方向に回動する(例えば、特許文献1)。
【0008】
なお、特許文献1では、このアーム220の回動により、蓋110の先端が、車体201の面から若干浮き上がり、その後、浮き上がった蓋110の先端を手で持ち上げて、蓋110を全開させる旨が記載されているが、バネ突出部440の付勢力が開放された時に、バネ400のアーム側部410の位置がバネ係合部360とアーム220の回動中心Oを結んだ線よりボックス本体部310側となり、又、バネ本体部430の付勢力を大きくすれば、蓋110と車体側とのロックが解除された時に、蓋110を途中で停止することなく全開の位置まで移動させることができるので、手動で蓋を全開にする必要がなくなる。
【先行技術文献】
【特許文献】
【0009】
特開2019-85086号公報
【発明の概要】
【発明が解決しようとする課題】
【0010】
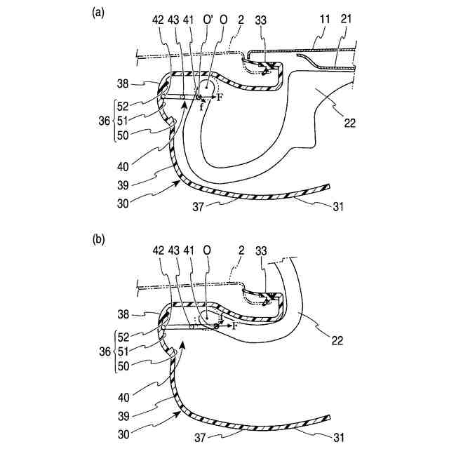
図10は、図9のY領域を拡大した図である。図10において、実線は、蓋110と車体201側(ボックス300)とのロックが解除され、バネ突出部440の付勢力が開放された状態を示す。又、二点鎖線は、バネ本体部430の付勢力によって、アーム220が実線から回動し、蓋110が開いている途中の状態を示している。図10において、円弧形状の一点鎖線は、アーム220が回動する時のバネ400のアーム側部410の中心軌跡を示す。なお、バネ400のバネ突出部440の記載は省略した。
(【0011】以降は省略されています)
この特許をJ-PlatPat(特許庁公式サイト)で参照する
関連特許
株式会社FTS
採型装置
今日
株式会社FTS
蓋の取付構造
13日前
株式会社FTS
蓋の取付構造
13日前
株式会社FTS
動物飼育装置
1か月前
株式会社FTS
圧力容器の製造方法
29日前
株式会社FTS
圧力容器の製造方法
29日前
株式会社FTS
バッテリー用冷却器
1か月前
個人
カーテント
4か月前
個人
タイヤレバー
2か月前
個人
前輪キャスター
1か月前
個人
車窓用防虫網戸
4か月前
個人
警告装置
5か月前
個人
小型EVシステム
5か月前
個人
ホイルのボルト締結
3か月前
個人
ルーフ付きトライク
1か月前
個人
車輪清掃装置
4か月前
個人
タイヤ脱落防止構造
1か月前
日本精機株式会社
表示装置
1か月前
個人
車両通過構造物
2か月前
個人
マスタシリンダ
6日前
日本精機株式会社
表示装置
2か月前
日本精機株式会社
表示装置
2か月前
個人
キャンピングトライク
3か月前
日本精機株式会社
表示装置
2か月前
井関農機株式会社
作業車両
3か月前
井関農機株式会社
作業車両
3か月前
個人
ワイパーゴム性能保持具
4か月前
個人
キャンピングトレーラー
3か月前
個人
車両用スリップ防止装置
3か月前
個人
アクセルのソフトウェア
3か月前
個人
乗合路線バスの客室装置
2か月前
株式会社ニフコ
照明装置
1か月前
日本精機株式会社
車室演出装置
1か月前
井関農機株式会社
収穫作業車両
4か月前
日本精機株式会社
車載表示装置
14日前
株式会社ニフコ
収納装置
23日前
続きを見る
他の特許を見る