TOP
|
特許
|
意匠
|
商標
特許ウォッチ
Twitter
他の特許を見る
10個以上の画像は省略されています。
公開番号
2025130868
公報種別
公開特許公報(A)
公開日
2025-09-09
出願番号
2024028216
出願日
2024-02-28
発明の名称
蛍光光源装置
出願人
ウシオ電機株式会社
代理人
弁理士法人ユニアス国際特許事務所
主分類
F21S
2/00 20160101AFI20250902BHJP(照明)
要約
【課題】波長変換部材の位置ずれや脱落といった予期しない事象が発生した場合であっても、強度の高いレーザ光が装置から出射されることを抑制する。
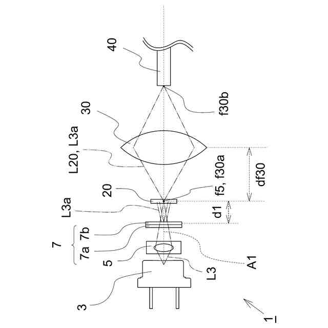
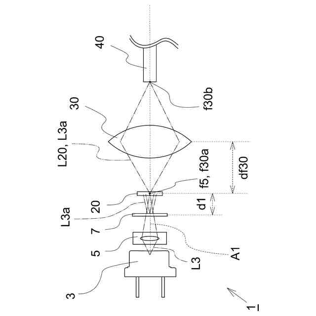
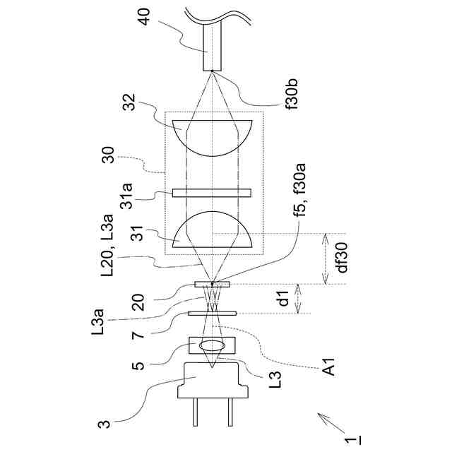
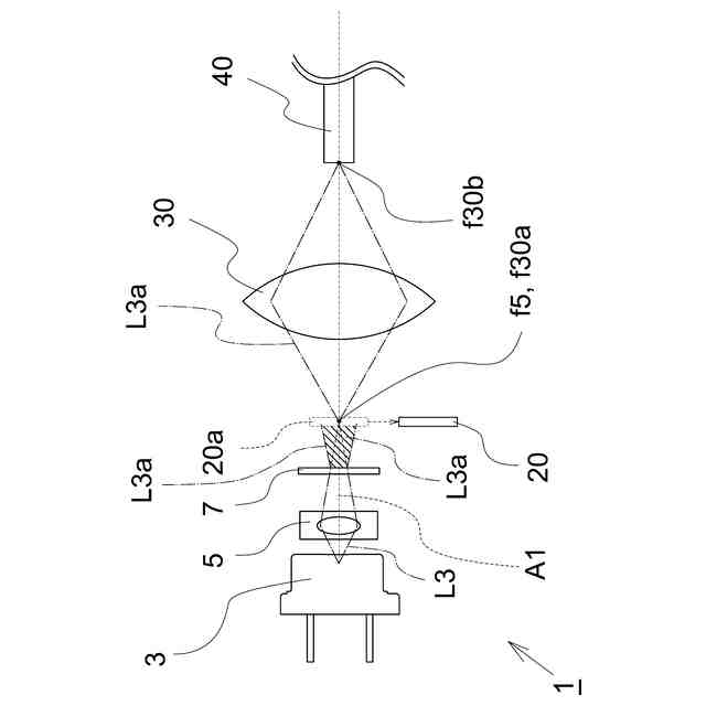
【解決手段】蛍光光源装置は、半導体レーザ素子を含む励起光源と、励起光源から出射した励起光を受光して蛍光を発する波長変換部材と、励起光を波長変換部材に集光する第一集光光学系と、励起光の光軸方向に関して励起光源から遠ざかる向きに出射した蛍光を受光する第二集光光学系と、第二集光光学系を通過した蛍光が集光して入射される導光部材と、光軸方向に関して第一集光光学系と波長変換部材との間に位置し波長変換部材に対して空間的に離間した状態で配置された拡散部材とを備える。
【選択図】図1
特許請求の範囲
【請求項1】
半導体レーザ素子を含む励起光源と、
前記励起光源から出射した励起光を受光して蛍光を発する波長変換部材と、
前記励起光を前記波長変換部材に集光する第一集光光学系と、
前記励起光の光軸方向に関して前記励起光源から遠ざかる向きに前記波長変換部材から出射した前記蛍光を受光する第二集光光学系と、
前記第二集光光学系を通過した前記蛍光が集光して入射される導光部材と、
前記光軸方向に関して前記第一集光光学系と前記波長変換部材との間に位置し、前記波長変換部材に対して空間的に離間した状態で配置された拡散部材とを備えたことを特徴とする、蛍光光源装置。
続きを表示(約 380 文字)
【請求項2】
眼内内視鏡用の光源であることを特徴とする、請求項1に記載の蛍光光源装置。
【請求項3】
前記拡散部材は、前記光軸方向に並べて配置された、複数枚の拡散板を有することを特徴とする、請求項1又は2に記載の蛍光光源装置。
【請求項4】
前記光軸方向に関する前記拡散部材と前記第二集光光学系のフロントフォーカスとの離間距離は、前記第二集光光学系の前側の焦点距離に対して、0.22倍~0.45倍であることを特徴とする、請求項1又は2に記載の蛍光光源装置。
【請求項5】
前記第二集光光学系は、前記波長変換部材から出射した前記蛍光をコリメートする第一レンズ部材と、前記第一レンズ部材を通過した前記蛍光を前記導光部材に向けて集光する第二レンズ部材とを有することを特徴とする、請求項1又は2に記載の蛍光光源装置。
発明の詳細な説明
【技術分野】
【0001】
本発明は蛍光光源装置に関し、特に、眼内内視鏡用の光源に適した蛍光光源装置に関する。
続きを表示(約 1,600 文字)
【背景技術】
【0002】
従来、半導体レーザ素子から射出されたレーザ光を波長変換素子によって波長変換し、この変換後の光を出力する光源装置が開発されている。例えば、下記特許文献1には、励起光源から出射した励起光を波長変換部材に導いて蛍光を生成すると共に、この蛍光をライトガイドを通じて光ファイバに導光する光源装置が開示されている。
【先行技術文献】
【特許文献】
【0003】
特開2020-77511号公報
【発明の概要】
【発明が解決しようとする課題】
【0004】
眼内内視鏡は、網膜等の眼底組織を観察する内視鏡であり、光ファイバ等からなる観察光学系を眼球内に挿入した状態で利用される。半導体レーザ素子で構成される励起光源から出射される励起光は、強度が高い上に高いコヒーレント性を示すため、そのまま眼球に照射されると極めて危険である。
【0005】
一方で、蛍光体から出射される蛍光は、レーザ光とは異なりコヒーレント性が低下し、強度も低下する。よって、例えばこの蛍光が照明光として眼球に照射された場合であっても、人体への影響は大幅に緩和される。
【0006】
しかしながら、装置の取り扱い時の影響や、その他の影響により、蛍光体が所定の位置から脱落したり破損したりする事象が発生する可能性はゼロではない。特許文献1に開示された光源装置において、このような事象が発生すると、強度及びコヒーレント性が高い光が後段にまで伝搬される可能性がある。
【0007】
なお、同文献においては、波長変換部材に励起光を導光する導光部材(ライトガイド)の前面に拡散板が配置された構造も開示されている。この構成において、蛍光体が所定の位置から脱落等した場合、拡散板を通過した励起光は、励起光源から出射されたときの強度をほぼ維持したままライトガイドを介して光ファイバに入射される。よって、この構造においては、拡散板を配置しない場合と比べると光のコヒーレント性は低下するものの、依然として高い強度を示す励起光がそのまま光ファイバに導かれることになる。よって、この光が眼球に照射されると、やはり危険性が高いといえる。
【0008】
本発明は、上記の課題に鑑み、波長変換部材の位置ずれや脱落といった予期しない事象が発生した場合であっても、強度の高いレーザ光が装置から出射されるのを抑制した、蛍光光源装置を提供することを目的とする。
【課題を解決するための手段】
【0009】
本発明に係る蛍光光源装置は、
半導体レーザ素子を含む励起光源と、
前記励起光源から出射した励起光を受光して蛍光を発する波長変換部材と、
前記励起光を前記波長変換部材に集光する第一集光光学系と、
前記励起光の光軸方向に関して前記励起光源から遠ざかる向きに前記波長変換部材から出射した前記蛍光を受光する第二集光光学系と、
前記第二集光光学系を通過した前記蛍光が集光して入射される導光部材と、
前記光軸方向に関して前記第一集光光学系と前記波長変換部材との間に位置し、前記波長変換部材に対して空間的に離間した状態で配置された拡散部材とを備えたことを特徴とする。
【0010】
上記構成によれば、仮に波長変換部材が脱落等をした場合、本来波長変換部材が位置すべき箇所(以下、「特定領域」と称する。)には、拡散部材を通過した励起光、すなわち拡散光が入射する。ここで、拡散部材は、第一集光光学系と波長変換部材との間に位置し、波長変換部材に対して空間的に離間した状態で配置されている。つまり、波長変換部材が脱落等をした場合、拡散部材を通過して拡散しながら進行した励起光の一部が、特定領域に入射されることになる。
(【0011】以降は省略されています)
この特許をJ-PlatPat(特許庁公式サイト)で参照する
関連特許
ウシオ電機株式会社
光源装置
8日前
ウシオ電機株式会社
光源装置
16日前
ウシオ電機株式会社
紫外線治療器
1か月前
ウシオ電機株式会社
紫外光照射装置
8日前
ウシオ電機株式会社
赤外LED素子
9日前
ウシオ電機株式会社
半導体レーザ素子
3日前
ウシオ電機株式会社
光源装置及び回転体
8日前
ウシオ電機株式会社
マイクロ流体デバイス
4日前
ウシオ電機株式会社
光源装置及び不活化装置
24日前
ウシオ電機株式会社
半導体レーザ素子および発光装置
8日前
ウシオ電機株式会社
半導体レーザ素子および発光装置
12日前
国立大学法人 東京大学
ガス処理方法
8日前
ウシオ電機株式会社
分布帰還型半導体レーザおよびその製造方法
12日前
ウシオ電機株式会社
細胞培養デバイス、細胞培養デバイスの使用方法
1日前
個人
室外機器
3か月前
個人
照明システム
3か月前
個人
LED光源基盤
7か月前
個人
車載機器の通気構造
1か月前
個人
気泡を用いた遊具。
5か月前
株式会社遠藤照明
照明装置
22日前
株式会社遠藤照明
照明器具
4か月前
デンカ株式会社
照明装置
3か月前
能美防災株式会社
表示灯
1か月前
個人
LEDライト
3か月前
株式会社小糸製作所
車両用灯具
4日前
株式会社小糸製作所
車両用灯具
4日前
デンカ株式会社
道路用照明
3か月前
株式会社小糸製作所
投光装置
1か月前
株式会社小糸製作所
誘導装置
15日前
瀧住電機工業株式会社
ダクトレール
7か月前
アクア株式会社
冷蔵庫
2か月前
株式会社小糸製作所
投光装置
1か月前
フルトラム株式会社
光学機器
3日前
スタンレー電気株式会社
照射用光源
8日前
株式会社小糸製作所
車両用灯具
4か月前
株式会社小糸製作所
車両用灯具
3か月前
続きを見る
他の特許を見る