TOP
|
特許
|
意匠
|
商標
特許ウォッチ
Twitter
他の特許を見る
公開番号
2025145961
公報種別
公開特許公報(A)
公開日
2025-10-03
出願番号
2024046498
出願日
2024-03-22
発明の名称
光源装置及び回転体
出願人
ウシオ電機株式会社
代理人
弁理士法人南青山国際特許事務所
主分類
G03F
7/20 20060101AFI20250926BHJP(写真;映画;光波以外の波を使用する類似技術;電子写真;ホログラフイ)
要約
【課題】長寿命でありながら低コストで軽量な回転体を用いた光源装置及び回転体を提供すること。
【解決手段】本発明の一形態に係る光源装置は、プラズマ原料を保持する回転体を備え、前記回転体上の前記プラズマ原料にエネルギービームを照射してプラズマを発生させ、前記プラズマから放射線を取り出す光源装置であって、前記回転体は、前記プラズマ原料に対する耐蝕性をもつ第1の材料で構成され回転軸を中心に回転する支持体と、前記プラズマ原料に対する耐蝕性が前記第1の材料よりも高い第2の材料で構成され、前記支持体の回転中に前記エネルギービームの照射位置と重なるように前記支持体の一部に設けられた被照射部とを有する。
【選択図】図1
特許請求の範囲
【請求項1】
プラズマ原料を保持する回転体を備え、前記回転体上の前記プラズマ原料にエネルギービームを照射してプラズマを発生させ、前記プラズマから放射線を取り出す光源装置であって、
前記回転体は、
前記プラズマ原料に対する耐蝕性をもつ第1の材料で構成され回転軸を中心に回転する支持体と、
前記プラズマ原料に対する耐蝕性が前記第1の材料よりも高い第2の材料で構成され、前記支持体の回転中に前記エネルギービームの照射位置と重なるように前記支持体の一部に設けられた被照射部とを有する
光源装置。
続きを表示(約 1,300 文字)
【請求項2】
請求項1に記載の光源装置であって、
前記回転体は、前記回転軸を中心に広がる回転面を有し、前記回転面上で前記プラズマ原料を保持する回転板であり、
前記被照射部は、前記支持体と共に、又は、単独で前記回転面を形成し、
前記エネルギービームは、前記被照射部が形成する前記回転面に向けて照射される
光源装置。
【請求項3】
請求項2に記載の光源装置であって、
前記被照射部は、前記回転軸を中心として前記回転面に環状に配置される
光源装置。
【請求項4】
請求項2に記載の光源装置であって、
前記支持体は、前記回転面を形成する第1の面を有する板状部材であり、
前記被照射部は、前記第1の面側から前記支持体に埋め込まれた被照射部材である
光源装置。
【請求項5】
請求項4に記載の光源装置であって、
前記支持体は、前記第1の面に形成され前記被照射部材が埋め込まれる埋込孔を有し、
前記被照射部材は、前記回転軸に沿った切断面において、前記第1の面と前記埋込孔との境界となる内側の端点及び外側の端点の両方と連続的につながる断面構造をもつ
光源装置。
【請求項6】
請求項1に記載の光源装置であって、
前記回転体は、回転軸を囲む内周面を有し、前記内周面上で前記プラズマ原料を保持する回転容器であり、
前記被照射部は、前記支持体と共に、又は、単独で前記内周面を形成し、
前記エネルギービームは、前記被照射部が形成する前記内周面に向けて照射される
光源装置。
【請求項7】
請求項6に記載の光源装置であって、
前記支持体は、前記回転軸と直交する底板部と、前記回転軸を囲むように前記底板部の上面から突出した突出壁とを有し、
前記被照射部は、前記突出壁の内側に装着されて前記内周面を形成する被照射部材である
光源装置。
【請求項8】
請求項1に記載の光源装置であって、
前記第1の材料は、モリブデン、チタン、ステンレス、アルミニウム、TZM(チタン、ジルコニウム、モリブデンの合金)、窒化チタンにより皮膜されたステンレス、窒化チタンにより皮膜されたアルミニウム、TZMにより皮膜されたステンレス、又はTZMにより皮膜されたアルミニウムのうちいずれか1つである
光源装置。
【請求項9】
請求項1に記載の光源装置であって、
前記第2の材料は、タングステン、WL(ランタン含有タングステン)、レニウム、タングステンレニウム合金、イリジウム、プラチナ、タングステンカーバイド、DLC(Diamond Like Carbon)、又はダイアモンドのうちいずれか1つである
光源装置。
【請求項10】
請求項1に記載の光源装置であって、
前記被照射部は、前記支持体に前記第2の材料をコーティングして形成される
光源装置。
(【請求項11】以降は省略されています)
発明の詳細な説明
【技術分野】
【0001】
本発明は、極端紫外光等の放射線を発生させる光源装置及び光源装置に用いる回転体に関する。
続きを表示(約 1,800 文字)
【背景技術】
【0002】
従来、スズ等のプラズマ原料を励起して光源となるプラズマを発生させる光源装置が開発されている。このように生成したプラズマからは、極端紫外光(EUV:Extreme Ultra Violet)等の放射線が得られる。プラズマを発生させる方式としては、レーザ等のエネルギービームでプラズマ原料を励起するLPP(Laser Produced Plasma)方式や、放電を用いてプラズマ原料を励起するDPP(Discharge Produced Plasma)方式が知られている。またレーザ照射により放電をアシストするLDP(Laser Assisted Discharge Produced Plasma)方式も知られている。
【0003】
例えば、LPP方式の光源装置としては、液体状のプラズマ原料を液滴状に噴出してドロップレットを生成し、そこにレーザビームを照射してプラズマを発生させるものが知られている。これに対し、近年では、回転体上に液体状のプラズマ原料を供給し、回転体を回転させることでエネルギービームの照射領域へプラズマ原料を供給する方法が開発されている(特許文献1及び2)。この方法では、ドロップレットを発生させる必要がないため、比較的簡易な構成で高輝度の放射線を得ることが可能となる。
【先行技術文献】
【特許文献】
【0004】
特開2014-216286号公報
特開2021-504763号公報
【発明の概要】
【発明が解決しようとする課題】
【0005】
エネルギービームの照射領域へプラズマ原料を供給する回転体は、エネルギービームの照射により高温となったプラズマ原料と反応し腐食されることが考えられる。このため、一般にプラズマ原料に対して耐蝕性があるとされている材料でも、エネルギービームの照射とともに腐食され、回転体の寿命が短くなる可能性がある。
【0006】
またプラズマ原料に対する耐蝕性が比較的高いとされる材料として、例えばタングステン等の重元素材料が挙げられるが、このような材料は高密度であるために、回転体が重くなることが想定される。この場合、回転体の交換作業が難しくなることや、回転体を回転させる際の制御が難しくなる可能性がある。また、希少な重元素材料を用いるために、回転体そのもののコストが増大する可能性もある。
【0007】
以上のような事情に鑑み、本発明の目的は、長寿命でありながら低コストで軽量な回転体を用いた光源装置及び回転体を提供することにある。
【課題を解決するための手段】
【0008】
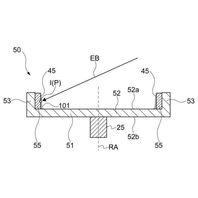
上記目的を達成するため、本発明の一形態に係る光源装置は、プラズマ原料を保持する回転体を備え、前記回転体上の前記プラズマ原料にエネルギービームを照射してプラズマを発生させ、前記プラズマから放射線を取り出す光源装置であって、前記回転体は、前記プラズマ原料に対する耐蝕性をもつ第1の材料で構成され回転軸を中心に回転する支持体と、前記プラズマ原料に対する耐蝕性が前記第1の材料よりも高い第2の材料で構成され、前記支持体の回転中に前記エネルギービームの照射位置と重なるように前記支持体の一部に設けられた被照射部とを有する。
【0009】
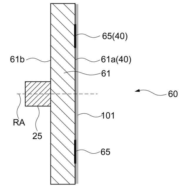
この光源装置では、エネルギービームが照射される回転体に、支持体と被照射部とが設けられる。支持体は、プラズマ原料に対する耐蝕性をもつ第1の材料で構成され、被照射部は、第1の材料よりも耐蝕性が高い第2の材料で構成される。被照射部は、支持体の回転中にエネルギービームの照射位置と重なるように支持体の一部に設けられる。このように、エネルギービームが照射される部分にだけ、他の部分よりも耐蝕性の高い材料を局所的に配置することで、長寿命でありながら低コストで軽量な回転体を実現することが可能となる。
【0010】
前記回転体は、前記回転軸を中心に広がる回転面を有し、前記回転面上で前記プラズマ原料を保持する回転板であってもよい。この場合、前記被照射部は、前記支持体と共に、又は、単独で前記回転面を形成してもよい。また、前記エネルギービームは、前記被照射部が形成する前記回転面に向けて照射されてもよい。
(【0011】以降は省略されています)
この特許をJ-PlatPat(特許庁公式サイト)で参照する
関連特許
株式会社シグマ
絞りユニット
20日前
キヤノン株式会社
撮像装置
1か月前
キヤノン株式会社
撮像装置
19日前
平和精機工業株式会社
雲台
1か月前
キヤノン株式会社
撮像装置
13日前
株式会社リコー
画像形成装置
1か月前
株式会社リコー
画像形成装置
2か月前
株式会社リコー
画像形成装置
9日前
株式会社リコー
画像形成装置
27日前
株式会社リコー
画像形成装置
1か月前
株式会社リコー
画像形成装置
1か月前
株式会社リコー
画像形成装置
3か月前
株式会社リコー
画像形成装置
3か月前
ブラザー工業株式会社
再生方法
1か月前
キヤノン株式会社
画像形成装置
1か月前
シャープ株式会社
画像形成装置
1か月前
キヤノン株式会社
トナー
1か月前
キヤノン株式会社
トナー
5日前
キヤノン株式会社
画像形成装置
1か月前
株式会社オプトル
プロジェクタ
1か月前
キヤノン株式会社
トナー
今日
キヤノン株式会社
画像形成装置
1か月前
キヤノン株式会社
画像形成装置
2か月前
キヤノン株式会社
トナー
3か月前
キヤノン株式会社
トナー
3か月前
キヤノン株式会社
画像形成装置
2か月前
株式会社オプトル
プロジェクタ
12日前
キヤノン株式会社
画像形成装置
2か月前
キヤノン株式会社
画像形成装置
2か月前
キヤノン株式会社
画像形成装置
2か月前
アイホン株式会社
機器の設置構造
1か月前
アイホン株式会社
機器の設置構造
1か月前
興和株式会社
マウント構造
2か月前
スタンレー電気株式会社
照明装置
1日前
株式会社シグマ
絞り機構及びレンズ鏡筒
1か月前
沖電気工業株式会社
画像形成装置
1か月前
続きを見る
他の特許を見る