TOP
|
特許
|
意匠
|
商標
特許ウォッチ
Twitter
他の特許を見る
公開番号
2025132122
公報種別
公開特許公報(A)
公開日
2025-09-10
出願番号
2024029482
出願日
2024-02-29
発明の名称
二酸化炭素分離回収供給装置
出願人
株式会社フジタ
,
国立大学法人東京科学大学
代理人
弁理士法人高橋・林アンドパートナーズ
主分類
B01D
53/04 20060101AFI20250903BHJP(物理的または化学的方法または装置一般)
要約
【課題】従来の二酸化炭素分離回収供給装置は、排気ガスなどのように比較的高濃度に二酸化炭素を含む気体を対象としているため、取り扱いが難しく、利用分野が限定されている。
【解決手段】二酸化炭素分離回収供給装置は、二酸化炭素を吸着し二酸化炭素を吸着した温度以上で二酸化炭素を放出する二酸化炭素吸着放出剤と、少なくとも1つの開口部を有し二酸化炭素吸着放出剤を収納する収納容器とを含む。少なくとも1つの開口部が収納容器の下面を開放するように設けられていてもよい。収納容器の中で少なくとも1つの開口部と重なるように支持部材が配置され、二酸化炭素吸着放出剤が支持部材に載せられていてもよい。
【選択図】図1
特許請求の範囲
【請求項1】
二酸化炭素を吸着し、前記二酸化炭素を吸着した温度以上で二酸化炭素を放出する二酸化炭素吸着放出剤と、
少なくとも1つの開口部を有し、前記二酸化炭素吸着放出剤を収納する収納容器と、を含む
ことを特徴とする二酸化炭素分離回収供給装置。
続きを表示(約 1,200 文字)
【請求項2】
前記少なくとも1つの開口部が、前記収納容器の下面を開放している、請求項1に記載の二酸化炭素分離回収供給装置。
【請求項3】
前記収納容器の中で、前記少なくとも1つの開口部と重なるように支持部材が配置され、前記二酸化炭素吸着放出剤が前記支持部材に載せられている、
請求項2に記載の二酸化炭素分離回収供給装置。
【請求項4】
前記少なくとも1つの開口部に設けられた送風機を有し、
前記送風機は、前記収納容器に空気を送風する第1の動作と、前記収納容器内の空気を外部に送風する第2の動作と、を行う、
請求項1に記載の二酸化炭素分離回収供給装置。
【請求項5】
前記少なくとも1つの開口部が、第1開口部と第2開口部から成り、
前記第1開口部に開閉式の蓋が設けられ、
前記第2開口部に前記送風機が設けられ、
前記開閉式の蓋は、前記第1の動作のときに開き、前記第2の動作のときに閉まる、
請求項4に記載の二酸化炭素分離回収供給装置。
【請求項6】
前記第1開口部が、前記収納容器の下面に設けられ、
前記第2開口部が、前記収納容器の側面に設けられている、
請求項5に記載の二酸化炭素分離回収供給装置。
【請求項7】
二酸化炭素を吸着し、前記二酸化炭素を吸着した温度以上で二酸化炭素を放出する二酸化炭素吸着放出剤と、
前記二酸化炭素吸着放出剤を収納する収納容器と、
前記収納容器から下方に伸びる中空の支柱と、を含み、
前記収納容器は、第1開口部と、第2開口部と、を有し、
前記収納容器は、前記第2開口部を塞ぐ開閉式の第1開閉蓋を有し、
前記支柱は、前記中空の部分が前記第1開口部と連通するように接続され、
前記支柱は、下側部分に第3開口部と、前記第3開口部を塞ぐ開閉式の第2開閉蓋を有し、
前記支柱には、前記中空の部分に、前記収納容器から前記第2開口部に気流を生じさせる送風機が設けられている
ことを特徴とする二酸化炭素分離回収供給装置。
【請求項8】
前記支柱が地面に差し込まれて前記収納容器が地上に立設され、
前記第3開口部が前記地面の上に露出する高さに設けられている、
請求項7に記載の二酸化炭素分離回収供給装置。
【請求項9】
前記送風機に代えて開閉式の弁が設けられている、
請求項7に記載の二酸化炭素分離回収供給装置。
【請求項10】
前記第1開閉蓋を開の状態とし、前記送風機を停止させる第1の動作モードと、
前記開閉式の蓋を閉じ、前記送風機を駆動する第2の動作モードと、を有する、
請求項9に記載の二酸化炭素分離回収供給装置。
(【請求項11】以降は省略されています)
発明の詳細な説明
【技術分野】
【0001】
本発明は、二酸化炭素を回収し、回収された二酸化炭素を供給する装置に関する。
続きを表示(約 1,600 文字)
【背景技術】
【0002】
二酸化炭素を回収する方法として化学吸着法、圧力スイング吸着法などか知られている(例えば、特許文献1、2参照)。化学吸着法は、吸収塔でアミンなどのアルカリ性水溶液と二酸化炭素が含まれている気体とを接触させて、アルカリ性水溶液に二酸化炭素を選択的に吸収させ、その後、再生塔で当該アルカリ性水溶液を加熱して、二酸化炭素を分離回収する技術である。圧力スイング吸着法は、二酸化炭素を含む気体の特性及び所定の吸着剤物質に対する親和性に基づいて、圧力差を利用して吸着物質に二酸化炭素を脱着させる技術である。所定の吸着物質とは、例えば、ゼオライト、活性炭、モレキュラシーブなどが用いられている。
【先行技術文献】
【特許文献】
【0003】
特開2004-292298号公報
特開2017-189750号公報
【発明の概要】
【発明が解決しようとする課題】
【0004】
従来の二酸化炭素を分離回収するための装置は大がかりな設備が必要であり、二酸化炭素の分離に多量のエネルギーが必要であり、ランニングコストが高いといった問題がある。また、従来の二酸化炭素分離回収供給装置は、排気ガスなどのように比較的高濃度に二酸化炭素を含む気体を対象としているため、取り扱いが難しく、利用分野が限定されるといった問題がある。
【課題を解決するための手段】
【0005】
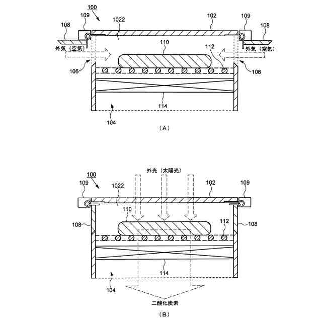
本発明の一実施形態に係る二酸化炭素分離回収供給装置は、二酸化炭素を吸着し二酸化炭素を吸着した温度以上で二酸化炭素を放出する二酸化炭素吸着放出剤と、少なくとも1つの開口部を有し二酸化炭素吸着放出剤を収納する収納容器とを含む。
【0006】
本発明の一実施形態において、少なくとも1つの開口部が収納容器の下面を開放するように設けられていてもよい。また、収納容器の中で少なくとも1つの開口部と重なるように支持部材が配置され、二酸化炭素吸着放出剤が支持部材に載せられていてもよい。
【0007】
本発明の一実施形態において二酸化炭素分離回収供給装置は、少なくとも1つの開口部に設けられた送風機を有し、送風機は収納容器に空気を送風する第1の動作と、収納容器内の空気を外部に送風する第2の動作とを有していてもよい。また、少なくとも1つの開口部が第1開口部と第2開口部から成り、第1開口部に開閉式の蓋が設けられ、第2開口部に送風機が設けられ、開閉式の蓋は、第1の動作のときに開き、第2の動作のときに閉まるようにされていてもよい。
【0008】
本発明の一実施形態において、収納容器に設けられる第1開口部が下面に設けられ、第2開口部が側面に設けられていてもよい。
【0009】
本発明の一実施形態に係る二酸化炭素分離回収供給装置は、二酸化炭素を吸着し二酸化炭素を吸着した温度以上で二酸化炭素を放出する二酸化炭素吸着放出剤と、二酸化炭素吸着放出剤を収納する収納容器と、収納容器から下方に伸びる中空の支柱とを含み、収納容器は第1開口部と第2開口部とを有し、収納容器は第2開口部を塞ぐ開閉式の第1開閉蓋を有し、支柱は中空の部分が第1開口部と連通するように接続され、支柱は下側部分に第3開口部と第3開口部を塞ぐ開閉式の第2開閉蓋を有し、支柱には中空の部分に収納容器から第2開口部に気流を生じさせる送風機が設けられている。
【0010】
本発明の一実施形態において、二酸化炭素分離回収供給装置の収納容器は、支柱が地面に差し込まれて地上に立設され、第3開口部が地面の上に露出する高さに設けられていてもよい。また、送風機に代えて開閉式の弁が設けられていてもよい。
(【0011】以降は省略されています)
この特許をJ-PlatPat(特許庁公式サイト)で参照する
関連特許
株式会社フジタ
合成床
1か月前
株式会社フジタ
保護具
1か月前
株式会社フジタ
緑化装置
1か月前
株式会社フジタ
水電解装置
1日前
株式会社フジタ
清掃ロボット
2日前
株式会社フジタ
木質建築部材
1か月前
株式会社フジタ
ビス打ち装置
1か月前
株式会社フジタ
窓用カバー部材
29日前
株式会社フジタ
センサユニット
1か月前
株式会社フジタ
結露対策設定装置
29日前
株式会社フジタ
駐車場緑化システム
1か月前
株式会社フジタ
バイオガス改質装置
1か月前
株式会社フジタ
地質性状予測システム
1か月前
株式会社フジタ
バイオガス改質システム
1か月前
株式会社フジタ
床衝撃音レベル予測システム
1か月前
株式会社フジタ
荷物昇降装置用の荷物載置機構
1か月前
株式会社フジタ
昆虫および昆虫の幼虫の飼育装置
1か月前
株式会社フジタ
ビス補給装置およびビス打ちシステム
1か月前
株式会社フジタ
ハーフプレキャスト梁とその製作方法
1か月前
株式会社フジタ
飛沫感染、飛沫核感染防止のための衝立
29日前
株式会社フジタ
コンクリート養生装置およびコンクリートの養生方法
1か月前
株式会社フジタ
バイオマスの乾燥システム及びバイオマスの乾燥方法
1か月前
株式会社フジタ
連絡情報提供装置、連絡情報提供方法、及び連絡情報提供プログラム
1か月前
株式会社フジタ
フレッシュコンクリートの品質評価装置およびフレッシュコンクリートの品質評価方法
1か月前
株式会社フジタ
建物の内部を3次元計測するために計測位置を演算処理するための前処理方法、プログラム、及び前処理装置
1か月前
株式会社フジタ
建物の内部を3Dスキャナを用いて3次元計測するための計測位置を決定するための探索方法、及びプログラム
1か月前
株式会社西部技研
除湿装置
22日前
株式会社日本触媒
ドロー溶質
16日前
日本バイリーン株式会社
フィルタ
1日前
サンノプコ株式会社
消泡剤
14日前
東レ株式会社
遠心ポッティング方法
8日前
トヨタ自動車株式会社
濾過装置
2日前
松岡紙業 株式会社
油吸着体の製造方法
16日前
個人
気液混合装置
14日前
大和ハウス工業株式会社
反応装置
29日前
大陽日酸株式会社
CO2の回収方法
1か月前
続きを見る
他の特許を見る