TOP
|
特許
|
意匠
|
商標
特許ウォッチ
Twitter
他の特許を見る
公開番号
2025149243
公報種別
公開特許公報(A)
公開日
2025-10-08
出願番号
2024049770
出願日
2024-03-26
発明の名称
地質性状予測システム
出願人
株式会社フジタ
,
株式会社地球科学総合研究所
代理人
個人
,
個人
,
個人
主分類
G01V
1/28 20060101AFI20251001BHJP(測定;試験)
要約
【課題】地質性状の予測に関する処理の自動化に資する技術の提供
【解決手段】サーバ50は、トンネル坑内の受振器11で受けた振動の記録を取得して自己相関を用いた地震波干渉法により解析し、切羽位置を仮想受振点とする切羽前方の地質変化部分の境界面からの反射波を振幅の絶対値に応じた濃淡で表したバーチャートを作成し、複数のバーチャートが所定の規則に沿って矩形の領域内に配置されてなる合成画像を作成した上で、3種類の二値化パラメータを用いて合成画像を二値化し、これにより得られた3つの二値化画像における横軸の値毎に該当する画素値を積算して、積算値を閾値により二値化する(図11中(B))。3つの積算値バーをそれぞれ二値化した結果を統合することにより、結果が四値化され(図11中(C))、この統合値が切羽前方の地質性状の予測値となり、天気予報を模した態様で切羽予報として表示される(図11中(D))。
【選択図】図11
特許請求の範囲
【請求項1】
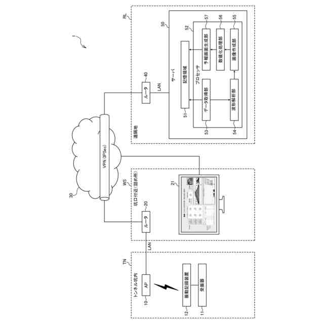
トンネルの掘削作業に伴って発生した地盤振動を坑内に設置された受振器で受振した記録を自己相関を用いた地震波干渉法により解析し、前記地盤振動の発生地点を仮想受振点とする切羽前方の地質変化による境界面で反射した反射波を得る波形解析部と、
前記反射波をその振幅に応じた濃淡で表した帯状画像を作成し、異なる時点に発生した前記地盤振動に対応する複数の前記帯状画像を所定の規則に沿って矩形の領域内に配置してなる合成画像を作成する画像作成部と、
前記合成画像を前記濃淡が示す前記反射波の振幅に応じて二値化した結果に基づいて、予測される切羽前方の地質性状を数値化する数値化処理部と
を備えた地質性状予測システム。
続きを表示(約 1,100 文字)
【請求項2】
請求項1に記載された地質性状予測システムにおいて、
前記画像作成部は、
矩形のグラフ領域において前記仮想受振点のトンネル坑口からの距離を第1軸に取りつつ前記地盤振動の先後を第2軸に取り、異なる時点に発生した前記地盤振動に対応する複数の前記帯状画像を前記グラフ領域内の対応する位置に配置して前記合成画像を作成し、
前記数値化処理部は、
前記合成画像を二値化して得られる二値化画像における前記第1軸の値毎に積算値を算出し、さらに前記積算値を所定の閾値により二値化した結果に基づいて、予測される切羽前方の地質性状を数値化する
ことを特徴とする地質性状予測システム。
【請求項3】
請求項2に記載された地質性状予測システムにおいて、
前記数値化処理部は、
二値化関数のパラメータ値を異ならせることで前記合成画像を重みの異なる複数パターンで二値化し、これにより得られる複数の二値化画像について、それぞれの前記第1軸の値毎の積算値を算出し、それぞれの前記積算値を前記所定の閾値により二値化した結果を踏まえて前記数値化を行うことを特徴とする地質性状予測システム。
【請求項4】
請求項1から3のいずれかに記載された地質性状予測システムにおいて、
前記数値化処理部は、
前記合成画像の二値化として、前記反射波の振幅に応じた0以上1以下の値に変換する緩やかな二値化を行うことを特徴とする地質性状予測システム。
【請求項5】
請求項1から3のいずれかに記載された地質性状予測システムにおいて、
前記数値化された切羽前方の地質性状に関し、その良し悪しを天気予報を模した態様で表示する表示部をさらに備えた地質性状予測システム。
【請求項6】
請求項1から3のいずれかに記載された地質性状予測システムにおいて、
前記受振器で受けた振動が記録されたデータを取得するデータ取得手段をさらに備え、
前記波形解析部は、
前記データ取得手段により取得された前記データを解析して前記反射波を得ることを特徴とする地質性状予測システム。
【請求項7】
請求項1から3のいずれかに記載された地質性状予測システムにおいて、
前記波形解析部は、
記録された振動波形から初動を検出し、初動から所定の第1時間分の波形を切り出して自己相関処理を行い、これにより得られた波形において、初動から所定の第2時間分の波形を除去することを特徴とする地質性状予測システム。
発明の詳細な説明
【技術分野】
【0001】
本発明は、トンネル坑内における切羽前方の地質性状を予測するシステムに関する。
続きを表示(約 1,800 文字)
【背景技術】
【0002】
トンネルの計画及び調査段階においては、各種の制約により地質調査の実施が限定的にならざるを得ないため、施工時に地質データの不足を補って地山不良箇所を把握した上で、適切な計測・観測機器(装置)及び工法により安全かつ合理的に施工を進めることが求められている。
【0003】
施工時における切羽前方の地質の探査方法として、例えば、特許文献1には、トンネル坑内に高精度の刻時装置を用いた観測機器を常設し、掘削発破を震源に活用することで施工サイクルに影響を与えない地質探査手法(以下、「連続SSRT」と称する。)が開示されている。また、特許文献2,3には、刻時装置を用いることなく掘削発破を震源に活用し、連続SSRTより少ない受振点での受振記録を自己相関を用いた地震波干渉法により解析して切羽前方の地質を探査する方法が開示されている。
【先行技術文献】
【特許文献】
【0004】
特開2011-43409号公報
特許第5985371号公報
特開2022-17870号公報
【発明の概要】
【発明が解決しようとする課題】
【0005】
上述した手法はいずれも発明者らが開発したものであり、一部は既に実用化がなされているが、前者の手法(連続SSRT)においては、20発破程度の振動データを蓄積してから波形処理(VSP処理)を行う必要があり、観測開始から地質探査結果が得られるまでに10日程度のタイムラグが発生する。これに対し、後者の手法によれば、1回の発破振動データに基づいて自己相関処理が可能であることから、振動データを蓄積してから波形処理を行う必要がないため、タイムラグを大幅に縮小でき、観測機材の簡素化も実現できる。しかしながら、振動波形をどのように処理して地質性状を予測するかについては、改善の余地がある。即時性を高めるには、取得された振動データに基づいて地質性状を予測する上で必要な処理を完全に自動化することが求められる。
【0006】
そこで、本発明は、地質性状の予測に関する処理の自動化に資する技術の提供を課題とする。
【課題を解決するための手段】
【0007】
上記の課題を解決するため、本発明は、以下の地質性状予測システムを採用する。なお、括弧内に記載された文言はあくまで例示であり、本発明はこれに限定されるものではない。
【0008】
すなわち、本発明の地質性状予測システムは、トンネルの掘削作業に伴って発生した地盤振動を坑内に設置された受振器で受振した記録を自己相関を用いた地震波干渉法により解析し、地盤振動の発生地点を仮想受振点とする切羽前方の地質変化による境界面で反射した反射波を得る波形解析部と、反射波をその振幅に応じた濃淡で表した帯状画像を作成し、異なる時点に発生した地盤振動に対応する複数の帯状画像を所定の規則に沿って矩形の領域内に配置してなる合成画像を作成する画像作成部と、合成画像をその濃淡が示す反射波の振幅に応じて二値化した結果に基づいて、予測される切羽前方の地質性状を数値化する数値化処理部とを備えている。
【0009】
また、上述した態様の地質性状予測システムにおいて、画像作成部は、矩形のグラフ領域において仮想受振点のトンネル坑口からの距離を第1軸に取りつつ地盤振動の先後を第2軸に取り、異なる時点に発生した地盤振動に対応する複数の帯状画像をグラフ領域内の対応する位置に配置して合成画像を作成し、数値化処理部は、合成画像を二値化して得られる二値化画像における第1軸の値毎に積算値を算出し、さらに積算値を所定の閾値により二値化した結果に基づいて、予測される切羽前方の地質性状を数値化する。
【0010】
この態様の地質性状予測システムによれば、1回の地盤振動に起因して切羽前方の地質変化による境界面で反射した反射波の波形が画像化されて1つの帯状画像となり、複数の帯状画像を積み重ねられてなる合成画像が二値化されるため、反射波形が集中している箇所の検出が容易であり、地質性状の予測に必要な処理を自動化して効率よく行うことができるとともに、地質性状を定量的に評価することが可能となる。
(【0011】以降は省略されています)
この特許をJ-PlatPat(特許庁公式サイト)で参照する
関連特許
株式会社フジタ
合成床
17日前
株式会社フジタ
保護具
10日前
株式会社フジタ
合成床
29日前
株式会社フジタ
制振装置
29日前
株式会社フジタ
制振装置
29日前
株式会社フジタ
緑化装置
15日前
株式会社フジタ
水処理装置
19日前
株式会社フジタ
木質建築部材
19日前
株式会社フジタ
ビス打ち装置
16日前
株式会社フジタ
センサユニット
16日前
株式会社フジタ
窓用カバー部材
9日前
株式会社フジタ
情報取得システム
19日前
株式会社フジタ
結露対策設定装置
9日前
株式会社フジタ
コンクリート構造物
1か月前
株式会社フジタ
バイオガス改質装置
15日前
株式会社フジタ
駐車場緑化システム
15日前
株式会社フジタ
エネルギーシステム
29日前
株式会社フジタ
地質性状予測システム
10日前
株式会社フジタ
建築物とその施工方法
29日前
株式会社フジタ
バイオガス改質システム
15日前
株式会社フジタ
エネルギー制御システム
29日前
株式会社フジタ
床衝撃音レベル予測システム
19日前
株式会社フジタ
荷物昇降装置用の荷物載置機構
15日前
株式会社フジタ
昆虫および昆虫の幼虫の飼育装置
11日前
株式会社明電舎
電力系統システム
19日前
大和ハウス工業株式会社
制振装置
29日前
株式会社フジタ
合成床、及び合成床と梁の接合構造
22日前
大和ハウス工業株式会社
制振装置
29日前
株式会社フジタ
ハーフプレキャスト梁とその製作方法
17日前
株式会社フジタ
空調支援ダクト、及び、空調システム
29日前
株式会社フジタ
ビス補給装置およびビス打ちシステム
16日前
株式会社フジタ
飛沫感染、飛沫核感染防止のための衝立
9日前
株式会社フジタ
修繕計画支援システム及び修繕計画支援プログラム
19日前
株式会社フジタ
バイオマスの乾燥システム及びバイオマスの乾燥方法
19日前
株式会社フジタ
コンクリート養生装置およびコンクリートの養生方法
10日前
株式会社フジタ
構造物の補強構造、構造物の補強方法、及び、補強部材の挿入装置
19日前
続きを見る
他の特許を見る