TOP
|
特許
|
意匠
|
商標
特許ウォッチ
Twitter
他の特許を見る
10個以上の画像は省略されています。
公開番号
2025149347
公報種別
公開特許公報(A)
公開日
2025-10-08
出願番号
2024049932
出願日
2024-03-26
発明の名称
保護具
出願人
株式会社フジタ
代理人
弁理士法人高橋・林アンドパートナーズ
主分類
G03B
17/56 20210101AFI20251001BHJP(写真;映画;光波以外の波を使用する類似技術;電子写真;ホログラフイ)
要約
【課題】粉塵および骨材が発生する作業において用いられる機器を保護する保護具を提供すること。
【解決手段】保護具は、作業環境を検出する機器を保護する保護具であって、機器が設置される内部空間を含む筐体と、筐体の一側面において筐体と回転可能に接続される回転体と、回転体を回転するための駆動部と、を含み、駆動部は、筐体の内部に設置されるモータと、モータと回転可能に接続されるシャフトと、を含み、回転体は、機器が筐体の外部の作業環境を検出するための透光性を有する領域を含み、回転体の回転軸は、シャフトと異なる。
【選択図】図2
特許請求の範囲
【請求項1】
作業環境を検出する機器を保護する保護具であって、
前記機器が設置される内部空間を含む筐体と、
前記筐体の一側面において前記筐体と回転可能に接続される回転体と、
前記回転体を回転するための駆動部と、を含み、
前記駆動部は、
前記筐体の内部に設置されるモータと、
前記モータと回転可能に接続されるシャフトと、を含み、
前記回転体は、前記機器が前記筐体の外部の前記作業環境を検出するための透光性を有する領域を含み、
前記回転体の回転軸は、前記シャフトと異なる、保護具。
続きを表示(約 1,000 文字)
【請求項2】
前記駆動部は、さらに、前記シャフトと接続される歯車を含み、
前記筐体の前記一側面と対向する前記回転体の面には、前記歯車と係合する内歯車が設けられている、請求項1に記載の保護具。
【請求項3】
前記内歯車の部材は、前記領域を構成する部材と同じである、請求項2に記載の保護具。
【請求項4】
前記シャフトは、前記回転体の前記回転軸と交差するように配置され、
前記駆動部は、さらに、前記シャフトと接続される傘歯車を含み、
前記回転体には、前記傘歯車と係合する歯車が設けられている、請求項1に記載の保護具。
【請求項5】
前記歯車は、前記回転体の側面に設けられている、請求項4に記載の保護具。
【請求項6】
前記シャフトは、前記回転体の前記回転軸と略直交するように配置され、
前記駆動部は、さらに、前記シャフトと接続されるウォーム歯車および前記ウォーム歯車と係合する歯車を含み、
前記回転体の前記回転軸は、前記歯車と接続されている、請求項5に記載の保護具。
【請求項7】
前記ウォーム歯車、前記歯車、および前記シャフトは、前記筐体の前記内部空間に設置される、請求項6に記載の保護具。
【請求項8】
前記駆動部は、さらに、
前記シャフトと接続される第1の歯車と、
前記第1の歯車に巻き掛けられる巻き掛け部材と、を含み、
前記回転体には、前記巻き掛け部材が巻き掛けられる第2の歯車が設けられている、請求項1に記載の保護具。
【請求項9】
前記第1の歯車、前記巻き掛け部材、前記第2の歯車、および前記シャフトは、前記筐体の前記内部空間に設置される、請求項8に記載の保護具。
【請求項10】
前記筐体の前記一側面と対向する前記回転体の面には、第1の溝および前記第1の溝と直交する第2の溝が設けられ、
前記駆動部は、さらに、
前記シャフトと接続されるクランクシャフトと、
前記クランクシャフトの一端に接続され、前記第1の溝の中を移動可能に配置される第1のクランクピンと、
前記クランクシャフトの他端に接続され、前記第2の溝の中を移動可能に配置される第2のクランクピンと、を含み、
前記シャフトは、前記クランクシャフトの中心に接続される、請求項1に記載の保護具。
(【請求項11】以降は省略されています)
発明の詳細な説明
【技術分野】
【0001】
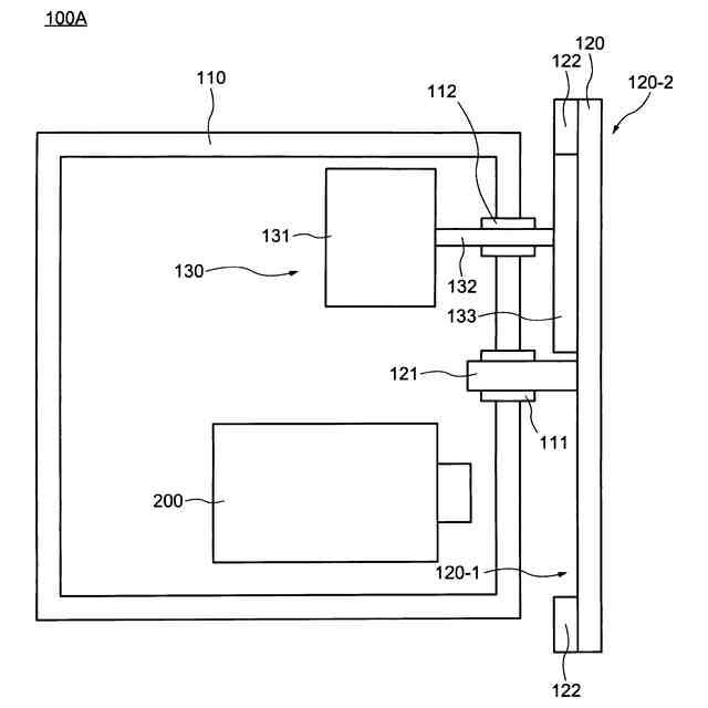
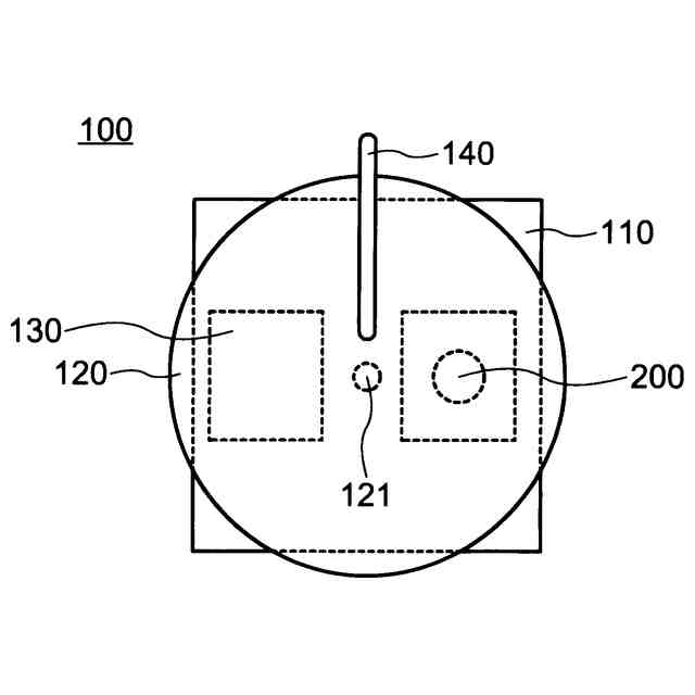
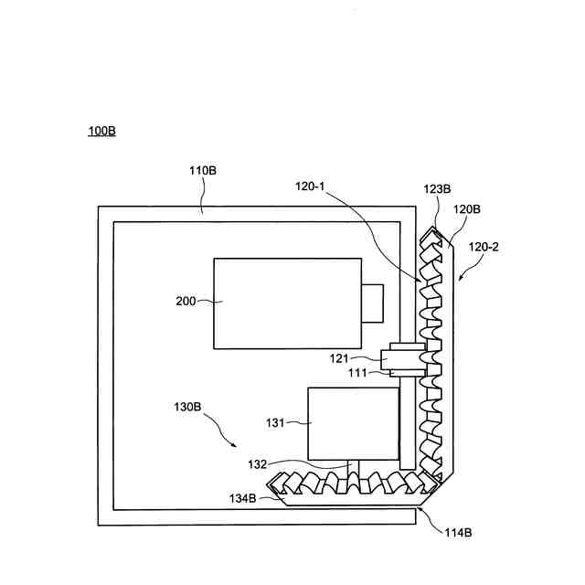
本発明の一実施形態は、粉塵および骨材が発生する作業において用いられる機器を保護する保護具に関する。
続きを表示(約 1,600 文字)
【背景技術】
【0002】
山岳トンネル工事の一工程として、掘削したトンネルの壁を補強するためにコンクリート吹付作業が行われる。コンクリート吹付作業では、作業者が、切羽の近傍(例えば、切羽の直下)においてコンクリートの吹付け状況を目視で確認しながら、吹付機のコントローラを操作する。近年、切羽の近傍における作業者の作業による事故を防止する観点から、吹付機にカメラを設置し、カメラの映像を見ながら遠隔操作によりコンクリート吹付作業を行うシステムが開発されている(例えば、特許文献1および特許文献2参照)。
【先行技術文献】
【特許文献】
【0003】
特開2021-123963号公報
特開2023-43588号公報
【発明の概要】
【発明が解決しようとする課題】
【0004】
コンクリート吹付作業では、吹付機からコンクリートを噴出させるが、切羽に当たった骨材が跳ね返り、吹付機に設置されたカメラを破損させるおそれがある。そのため、カメラは透光性を有する保護具に収容されて吹付機に設置されるが、コンクリートの噴出においては、コンクリートに含まれるセメント成分の粉塵が発生しやすい。セメント成分には急結材が含まれており、保護具にコンクリートが付着すると、付着したコンクリートが急速に硬化し、カメラの撮影範囲を遮蔽することになる。この場合、遠隔操作する作業者は、カメラの映像によって、コンクリートの吹付け状況、すなわち作業環境を確認することはできなくなる。そのため、粉塵および骨材が発生する作業において、カメラのような作業環境を検出するための機器が長時間動作することができる保護具が要望されている。なお、保護具は吹付機に設置されることから、好ましくは小型化可能な保護具が要望されている。
【0005】
そこで、本発明の一実施形態は、粉塵および骨材が発生する作業において用いられる機器を保護する保護具を提供することを目的の一つとする。
【課題を解決するための手段】
【0006】
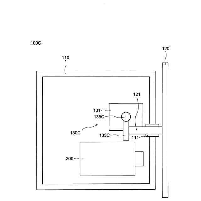
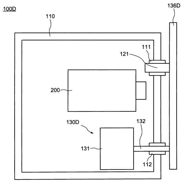
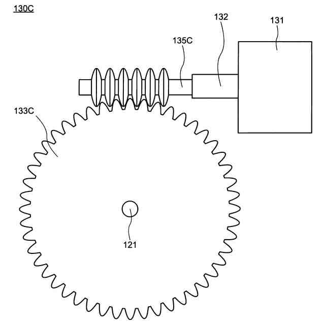
本発明の一実施形態に係る保護具は、作業環境を検出する機器を保護する保護具であって、機器が設置される内部空間を含む筐体と、筐体の一側面において筐体と回転可能に接続される回転体と、回転体を回転するための駆動部と、を含み、駆動部は、筐体の内部に設置されるモータと、モータと回転可能に接続されるシャフトと、を含み、回転体は、機器が筐体の外部の作業環境を検出するための透光性を有する領域を含み、回転体の回転軸は、シャフトと異なる。
【0007】
駆動部は、さらに、シャフトと接続される歯車を含み、筐体の一側面と対向する回転体の面には、歯車と係合する内歯車が設けられていてもよい。内歯車の部材は、領域を構成する部材と同じであってもよい。
【0008】
シャフトは、回転体の回転軸と交差するように配置され、駆動部は、さらに、シャフトと接続される傘歯車を含み、回転体には、傘歯車と係合する歯車が設けられていてもよい。歯車は、回転体の側面に設けられていてもよい。
【0009】
シャフトは、回転体の回転軸と略直交するように配置され、駆動部は、さらに、シャフトと接続されるウォーム歯車およびウォーム歯車と係合する歯車を含み、回転体の回転軸は、歯車と接続されていてもよい。ウォーム歯車、歯車、およびシャフトは、筐体の内部空間に設置されてもよい。
【0010】
駆動部は、さらに、シャフトと接続される第1の歯車と、第1の歯車に巻き掛けられる巻き掛け部材と、を含み、回転体には、巻き掛け部材が巻き掛けられる第2の歯車が設けられていてもよい。第1の歯車、巻き掛け部材、第2の歯車、およびシャフトは、筐体の内部空間に設置されてもよい。
(【0011】以降は省略されています)
この特許をJ-PlatPat(特許庁公式サイト)で参照する
関連特許
株式会社フジタ
掘削機
29日前
株式会社フジタ
保護具
1日前
株式会社フジタ
合成床
20日前
株式会社フジタ
合成床
8日前
株式会社フジタ
制振装置
20日前
株式会社フジタ
制振装置
20日前
株式会社フジタ
緑化装置
6日前
株式会社フジタ
水処理装置
10日前
株式会社フジタ
昇降システム
1か月前
株式会社フジタ
木質建築部材
10日前
株式会社フジタ
ビス打ち装置
7日前
株式会社フジタ
センサユニット
7日前
株式会社フジタ
窓用カバー部材
今日
株式会社フジタ
状態評価システム
1か月前
株式会社フジタ
情報取得システム
10日前
株式会社フジタ
結露対策設定装置
今日
株式会社フジタ
コンクリート構造物
21日前
株式会社フジタ
バイオガス改質装置
6日前
株式会社フジタ
エネルギーシステム
20日前
株式会社フジタ
駐車場緑化システム
6日前
株式会社フジタ
環境音快音化システム
1か月前
株式会社フジタ
建築物とその施工方法
20日前
株式会社フジタ
地質性状予測システム
1日前
株式会社フジタ
木質梁と床の取合構造
21日前
株式会社フジタ
エネルギー制御システム
20日前
株式会社フジタ
バイオガス改質システム
6日前
株式会社フジタ
二酸化炭素分離回収供給装置
29日前
株式会社フジタ
二酸化炭素分離回収供給装置
29日前
株式会社フジタ
床衝撃音レベル予測システム
10日前
株式会社フジタ
荷物昇降装置用の荷物載置機構
6日前
株式会社フジタ
昆虫および昆虫の幼虫の飼育装置
2日前
株式会社フジタ
合成床、及び合成床と梁の接合構造
13日前
株式会社明電舎
電力系統システム
10日前
大和ハウス工業株式会社
制振装置
20日前
大和ハウス工業株式会社
制振装置
20日前
株式会社フジタ
被覆シートおよび二酸化炭素供給方法
29日前
続きを見る
他の特許を見る