TOP
|
特許
|
意匠
|
商標
特許ウォッチ
Twitter
他の特許を見る
10個以上の画像は省略されています。
公開番号
2025144183
公報種別
公開特許公報(A)
公開日
2025-10-02
出願番号
2024043841
出願日
2024-03-19
発明の名称
ビス補給装置およびビス打ちシステム
出願人
株式会社フジタ
代理人
弁理士法人高橋・林アンドパートナーズ
主分類
B65G
47/14 20060101AFI20250925BHJP(運搬;包装;貯蔵;薄板状または線条材料の取扱い)
要約
【課題】調整された本数のビスを補給するビス補給装置を提供すること。
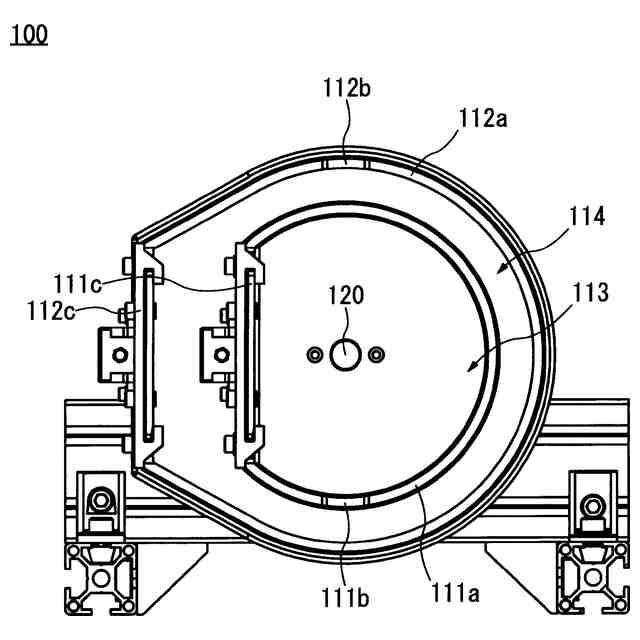
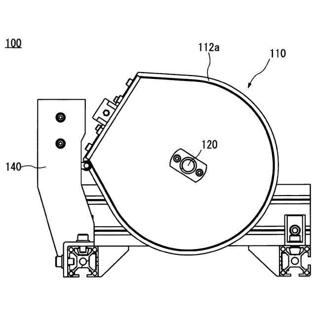
【解決手段】ビス補給装置は、内部にビスを収容する第1の筒状体と、第1の筒状体を覆い、第1の筒状体と接続される第2の筒状体と、第1の筒状体および第2の筒状体と接続される回転軸と、回転軸を回転する駆動部と、を含み、第1の筒状体の湾曲する第1の側壁は、第1の開口部を含み、第2の筒状体の湾曲する第2の側壁は、第2の開口部を含み、第1の筒状体の内部に収容されたビスが、駆動部による回転軸の回転によって、第1の開口部を介して第2の開口部から外部に放出されるように構成され、第2の開口部は、第1の開口部と重畳しない。
【選択図】図1
特許請求の範囲
【請求項1】
内部にビスを収容する第1の筒状体と、
前記第1の筒状体を覆い、前記第1の筒状体と接続される第2の筒状体と、
前記第1の筒状体および前記第2の筒状体と接続される回転軸と、
前記回転軸を回転する駆動部と、を含み、
前記第1の筒状体の湾曲する第1の側壁は、第1の開口部を含み、
前記第2の筒状体の湾曲する第2の側壁は、第2の開口部を含み、
前記第1の筒状体の前記内部に収容された前記ビスが、前記駆動部による前記回転軸の回転によって、前記第1の開口部を介して前記第2の開口部から外部に放出されるように構成され、
前記第2の開口部は、前記第1の開口部と重畳しない、ビス補給装置。
続きを表示(約 730 文字)
【請求項2】
前記第2の開口部は、第1の側壁の第1の領域と対向し、
前記第1の領域は、前記第1の開口部と反対側に位置する、請求項1に記載のビス補給装置。
【請求項3】
前記回転軸は、前記第1の筒状体および前記第2の筒状体を貫通して延在する、請求項1に記載のビス補給装置。
【請求項4】
前記第1の開口部は、複数設けられている、請求項1に記載のビス補給装置。
【請求項5】
前記第1の側壁は、さらに、開閉可能な第1の扉を含み、
前記第2の側壁は、さらに、開閉可能な第2の扉を含み、
前記第2の扉は、前記第1の扉と対向する、請求項1に記載のビス補給装置。
【請求項6】
前記第1の側壁は、さらに、第3の開口部を含み、
前記第2の側壁は、さらに、開閉可能な扉を含み、
前記扉の開口は、前記第3の開口部と接続されている、請求項1に記載のビス補給装置。
【請求項7】
さらに、前記第2の筒状体の一回転を検出するセンサを含む、請求項1に記載のビス補給装置。
【請求項8】
ビス打ち装置と、
前記ビス打ち装置に前記ビスを供給するビス供給装置と、
前記ビス供給装置に前記ビスを落下するように、前記ビス供給装置の上に設置される請求項1乃至請求項6のいずれか一項に記載のビス補給装置と、を含む、ビス打ちシステム。
【請求項9】
さらに、前記ビス打ち装置のビス打ち回数を計測し、前記ビス打ち回数に基づき前記回転軸を回転するように前記駆動部を制御する制御装置を含む、請求項8に記載のビス打ちシステム。
発明の詳細な説明
【技術分野】
【0001】
本発明の一実施形態は、ビスを補給するビス補給装置に関する。また、本発明の一実施形態は、ビス補給装置を利用するビス打ちシステムに関する。
続きを表示(約 1,200 文字)
【背景技術】
【0002】
建築物の内装工事においては、鉄骨などの下地材で構成される壁面に、壁材として石膏ボードを貼り付ける作業が行われる場合がある。近年、作業者の負担を軽減するために、このような内装工事においても自動化が進められている。例えば、特許文献1~特許文献4には、壁面に石膏ボードを貼り付けて、ビスを打ち込むことができる自動化されたボード貼り付け装置が開示されている。
【先行技術文献】
【特許文献】
【0003】
特開2019-011666号公報
特開2020-163553号公報
特開2020-165264号公報
特開2020-165266号公報
【発明の概要】
【発明が解決しようとする課題】
【0004】
このような自動ビス打ちロボットにおいては、ビス供給装置から供給されたビスをビス打ち装置が連続して打ち出す。しかしながら、ビス供給装置においてビス詰まりが発生すると、ビス打ち装置へのビスの供給が停止され、ビス打ち装置の連続したビス打ち動作が中断されてしまう。石膏ボードの貼り付けに用いられるビスは、ボルトと異なり、ネジ山が高く、ビス供給装置内に大量のビスを収容した場合では、ビス詰まりが発生しやすい。ビス詰まりの解消は作業者による手作業で行われるため、作業者の作業効率が低下する。
【0005】
本発明の一実施形態は、上記問題に鑑み、調整された本数のビスを補給するビス補給装置を提供することを目的の一つとする。
【課題を解決するための手段】
【0006】
本発明の一実施形態に係るビス補給装置は、内部にビスを収容する第1の筒状体と、第1の筒状体を覆い、第1の筒状体と接続される第2の筒状体と、第1の筒状体および第2の筒状体と接続される回転軸と、回転軸を回転する駆動部と、を含み、第1の筒状体の湾曲する第1の側壁は、第1の開口部を含み、第2の筒状体の湾曲する第2の側壁は、第2の開口部を含み、第1の筒状体の内部に収容されたビスが、駆動部による回転軸の回転によって、第1の開口部を介して第2の開口部から外部に放出されるように構成され、第2の開口部は、第1の開口部と重畳しない。
【0007】
第2の開口部は、第1の側壁の第1の領域と対向し、第1の領域は、第1の開口部と反対側に位置してもよい。
【0008】
回転軸は、第1の筒状体および第2の筒状体を貫通して延在してもよい。
【0009】
第1の開口部は、複数設けられていてもよい。
【0010】
第1の側壁は、さらに、開閉可能な第1の扉を含み、第2の側壁は、さらに、開閉可能な第2の扉を含み、第2の扉は、前記第1の扉と対向してもよい。
(【0011】以降は省略されています)
この特許をJ-PlatPat(特許庁公式サイト)で参照する
関連特許
株式会社フジタ
掘削機
25日前
株式会社フジタ
合成床
4日前
株式会社フジタ
合成床
16日前
株式会社フジタ
緑化装置
2日前
株式会社フジタ
制振装置
16日前
株式会社フジタ
制振装置
16日前
株式会社フジタ
水処理装置
6日前
株式会社フジタ
昇降システム
1か月前
株式会社フジタ
昇降システム
1か月前
株式会社フジタ
昇降システム
26日前
株式会社フジタ
ビス打ち装置
3日前
株式会社フジタ
木質建築部材
6日前
株式会社フジタ
センサユニット
3日前
株式会社フジタ
情報取得システム
6日前
株式会社フジタ
状態評価システム
26日前
株式会社フジタ
コンクリート構造物
17日前
株式会社フジタ
エネルギーシステム
16日前
株式会社フジタ
バイオガス改質装置
2日前
株式会社フジタ
駐車場緑化システム
2日前
株式会社フジタ
木質梁と床の取合構造
17日前
株式会社フジタ
建築物とその施工方法
16日前
株式会社フジタ
環境音快音化システム
1か月前
株式会社フジタ
建築物とその施工方法
1か月前
株式会社フジタ
エネルギー制御システム
16日前
株式会社フジタ
バイオガス改質システム
2日前
株式会社フジタ
床衝撃音レベル予測システム
6日前
株式会社フジタ
二酸化炭素分離回収供給装置
25日前
株式会社フジタ
二酸化炭素分離回収供給装置
25日前
株式会社フジタ
荷物昇降装置用の荷物載置機構
2日前
株式会社フジタ
荷重計測装置および昇降システム
1か月前
株式会社フジタ
合成床、及び合成床と梁の接合構造
9日前
株式会社明電舎
電力系統システム
6日前
大和ハウス工業株式会社
制振装置
16日前
大和ハウス工業株式会社
制振装置
16日前
株式会社フジタ
空調支援ダクト、及び、空調システム
16日前
株式会社フジタ
状態評価装置および状態評価システム
26日前
続きを見る
他の特許を見る