TOP
|
特許
|
意匠
|
商標
特許ウォッチ
Twitter
他の特許を見る
10個以上の画像は省略されています。
公開番号
2025146755
公報種別
公開特許公報(A)
公開日
2025-10-03
出願番号
2025042616
出願日
2025-03-17
発明の名称
駐車場緑化システム
出願人
株式会社フジタ
代理人
弁理士法人高橋・林アンドパートナーズ
主分類
A01G
7/00 20060101AFI20250926BHJP(農業;林業;畜産;狩猟;捕獲;漁業)
要約
【課題】低照度環境下においても植物を生育可能であるとともに、外部からの熱に対して植物を保護可能な緑化駐車場を提供すること。
【解決手段】駐車場緑化システムは、植物が植栽された植栽部を有し、前記植栽部上に車両を載置可能な駐車部と、大気に対応する第1空気よりも高い濃度の二酸化炭素を含有する第2空気を前記植物の周辺から供給し、前記植物に放出する第1供給部と、を含む。上記駐車場緑化システムにおいて、前記第1供給部は、前記第2空気を生成する生成部と、前記生成部による前記第2空気の生成を制御する制御部と、を含んでもよい。
【選択図】図1
特許請求の範囲
【請求項1】
植物が植栽された植栽部を有し、前記植栽部上に車両を載置可能な駐車部と、
大気に対応する第1空気よりも高い濃度の二酸化炭素を含有する第2空気を前記植物に放出する第1供給部と、を含む、
駐車場緑化システム。
続きを表示(約 1,000 文字)
【請求項2】
前記第1供給部は、前記第2空気を生成する生成部と、
前記生成部による前記第2空気の生成を制御する制御部と、を含む、
請求項1に記載の駐車場緑化システム。
【請求項3】
前記生成部は、
温度に応じて二酸化炭素の吸着または脱着する二酸化炭素吸着放出部と、
前記二酸化炭素吸着放出部に熱を供給する第2供給部と、を含み、
前記制御部は、前記第2供給部の動作を制御する、
請求項2に記載の駐車場緑化システム。
【請求項4】
前記制御部は、時刻情報に応じて前記第2供給部の動作を制御する、
請求項3に記載の駐車場緑化システム。
【請求項5】
前記第1供給部は、前記生成部で生成された前記第2空気を前記植栽部へガイドする第1供給管と、
前記生成部で生成された前記第2空気の温度変化率が前記第1供給管と異なる第2供給管を含み、
前記制御部は、設定温度に応じて前記生成部で生成された前記第2空気が前記第1供給管および前記第2供給管のいずれかを通るように制御する、
請求項2に記載の駐車場緑化システム。
【請求項6】
前記第2供給管は、断熱材料により覆われる、
請求項5に記載の駐車場緑化システム。
【請求項7】
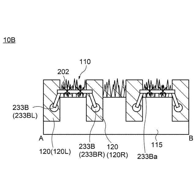
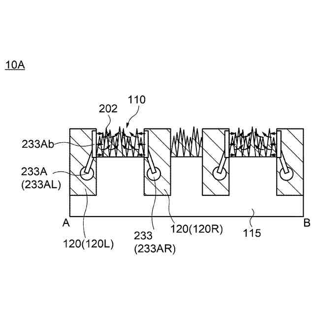
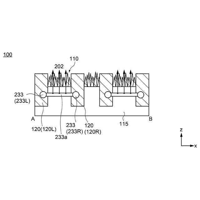
前記駐車部は、前記植栽部に隣接して設けられ、前記車両のタイヤによる衝撃から植物を保護する緑化保護部を含み、
前記第1供給部は、前記緑化保護部および前記植栽部の下側に設けられた土壌層を介して第2空気を供給する、
請求項1に記載の駐車場緑化システム。
【請求項8】
前記第1供給部は、前記第2空気および水分を前記土壌層に供給する、
請求項7に記載の駐車場緑化システム。
【請求項9】
前記植物に前記土壌層を介して水を供給する灌水部をさらに含む、
請求項7に記載の駐車場緑化システム。
【請求項10】
前記駐車部は、
前記植栽部に隣接して設けられ、前記車両のタイヤによる衝撃から前記植物を保護する緑化保護部と、
前記緑化保護部に前記車両が載置されたことを検知する検知部と、
前記駐車部に設けられた点灯部と、をさらに含み、
前記検知部が検知した情報に基づいて、前記点灯部は点灯し、前記第1供給部は前記第2空気を供給する、
請求項1に記載の駐車場緑化システム。
発明の詳細な説明
【技術分野】
【0001】
本発明は、駐車場緑化システムに関する。
続きを表示(約 1,000 文字)
【背景技術】
【0002】
近年、ヒートアイランド現象の軽減を目的とし、駐車場に芝生などを植栽した駐車場緑化構造の試みがなされている(特許文献1参照)。
【先行技術文献】
【特許文献】
【0003】
特開2017-200462号公報
【発明の概要】
【発明が解決しようとする課題】
【0004】
従来の緑化駐車場では、駐車時において植栽された植物は車の影に隠れるため、日中の駐車時間が長いと植栽された植物は日照不足となることが懸念される。また、駐車中はエンジンの輻射熱にさらされるため、植栽された植物はエンジンの輻射熱にさらされてしまう。これらは、植物の生育不良をもたらし、緑化駐車場の植物が枯死してしまうおそれがある。
【0005】
本発明はこのような問題に鑑みなされたものであり、低照度環境下においても植物を生育可能な緑化駐車場を提供することを目的の一つとする。または、外部からの熱に対して植物を保護可能な緑化駐車場を提供することを目的の一つとする。
【課題を解決するための手段】
【0006】
本発明の一実施形態によれば、植物が植栽された植栽部を有し、前記植栽部上に車両を載置可能な駐車部と、大気に対応する第1空気よりも高い濃度の二酸化炭素を含有する第2空気を前記植物に放出する第1供給部と、を含む、駐車場緑化システムが提供される。
【0007】
本態様によれば、高濃度の二酸化炭素を植物の周辺から供給することにより、低照度環境下であっても生育可能である。また、外部(太陽又は車両)から与えられる熱から植物を保護することができる。
【0008】
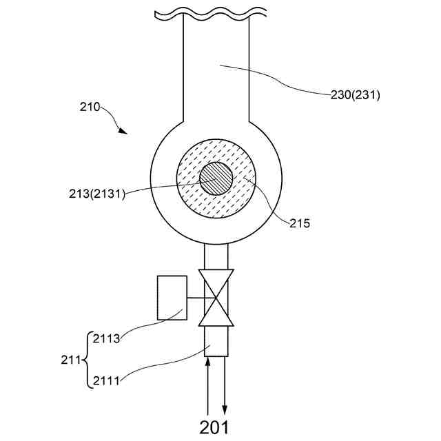
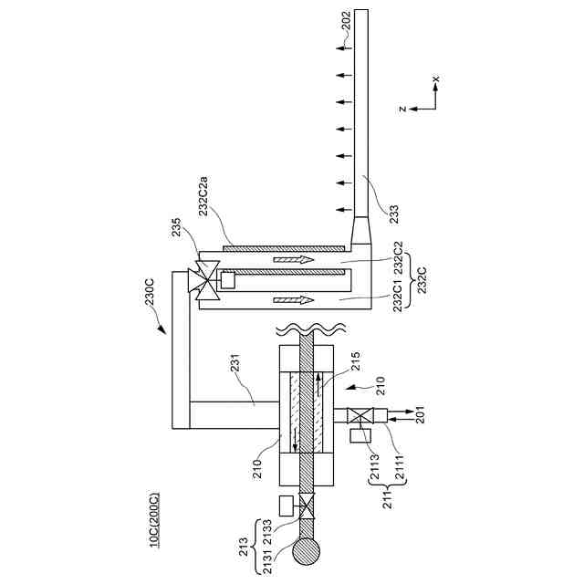
上記駐車場緑化システムにおいて、前記第1供給部は、前記第2空気を生成する生成部と、前記生成部による前記第2空気の生成を制御する制御部と、を含んでもよい。
【0009】
本態様によれば、制御部によって二酸化炭素の放出を制御し、第2空気の供給を安定させることができる。
【0010】
上記駐車場緑化システムにおいて、前記生成部は、温度に応じて二酸化炭素の吸着または脱着する二酸化炭素吸着放出部と、前記二酸化炭素吸着放出部に熱を供給する第2供給部と、を含み、前記制御部は、前記第2供給部の動作を制御してもよい。
(【0011】以降は省略されています)
この特許をJ-PlatPat(特許庁公式サイト)で参照する
関連特許
株式会社フジタ
保護具
3日前
株式会社フジタ
合成床
10日前
株式会社フジタ
緑化装置
8日前
株式会社フジタ
木質建築部材
12日前
株式会社フジタ
ビス打ち装置
9日前
株式会社フジタ
窓用カバー部材
2日前
株式会社フジタ
センサユニット
9日前
株式会社フジタ
結露対策設定装置
2日前
株式会社フジタ
駐車場緑化システム
8日前
株式会社フジタ
バイオガス改質装置
8日前
株式会社フジタ
地質性状予測システム
3日前
株式会社フジタ
バイオガス改質システム
8日前
株式会社フジタ
荷物昇降装置用の荷物載置機構
8日前
株式会社フジタ
昆虫および昆虫の幼虫の飼育装置
4日前
株式会社フジタ
ビス補給装置およびビス打ちシステム
9日前
株式会社フジタ
ハーフプレキャスト梁とその製作方法
10日前
株式会社フジタ
飛沫感染、飛沫核感染防止のための衝立
2日前
株式会社フジタ
コンクリート養生装置およびコンクリートの養生方法
3日前
株式会社フジタ
連絡情報提供装置、連絡情報提供方法、及び連絡情報提供プログラム
9日前
株式会社フジタ
フレッシュコンクリートの品質評価装置およびフレッシュコンクリートの品質評価方法
9日前
株式会社フジタ
建物の内部を3次元計測するために計測位置を演算処理するための前処理方法、プログラム、及び前処理装置
9日前
株式会社フジタ
建物の内部を3Dスキャナを用いて3次元計測するための計測位置を決定するための探索方法、及びプログラム
9日前
個人
虫捕り器
12日前
個人
刈込鋏保持具
8日前
個人
飼育容器
22日前
個人
後付巻降ろし器
12日前
株式会社丹勝
緑化工法
9日前
個人
イカ釣り用ヤエン
12日前
株式会社シマノ
釣竿
12日前
井関農機株式会社
作業車両
2日前
井関農機株式会社
作業車両
12日前
井関農機株式会社
作業車両
10日前
井関農機株式会社
作業車両
12日前
井関農機株式会社
作業車両
2日前
個人
水耕栽培システム
22日前
大栄工業株式会社
捕獲器
2日前
続きを見る
他の特許を見る