TOP
|
特許
|
意匠
|
商標
特許ウォッチ
Twitter
他の特許を見る
公開番号
2025147654
公報種別
公開特許公報(A)
公開日
2025-10-07
出願番号
2024048009
出願日
2024-03-25
発明の名称
昆虫および昆虫の幼虫の飼育装置
出願人
株式会社フジタ
,
株式会社フライハイ
代理人
弁理士法人高橋・林アンドパートナーズ
主分類
A01K
67/34 20250101AFI20250930BHJP(農業;林業;畜産;狩猟;捕獲;漁業)
要約
【課題】飛翔昆虫は空間を自由に飛び回るので、安易に蓋または扉を開けると外部空間に飛散してしまうおそれがあり、給餌を行う際には細心の注意を払う必要がある。
【解決手段】昆虫および昆虫の幼虫の飼育装置は、昆虫を飼育する内部空間と外界とを隔てる飼育容器と、飼育容器の一部に設けられた給餌孔と、飼育容器の外側から給餌孔に接するように設けられる給餌器とを有する。飼育容器は、内部空間に突出する給餌部を有し、給餌孔が給餌部に設けられていてもよい。また、飼育容器は、内部空間から外側に向けて突出する給餌部を有し給餌孔が給餌部に設けられていてもよい。飼育容器は、床面、壁面、天井面を有し、給餌部が、床面、壁面、天井面のいずれか一つに設けられていればよい。例えば、飼育容器は、少なくとも床面を有し、給餌孔が床面に設けられていてもよい。
【選択図】図1
特許請求の範囲
【請求項1】
昆虫を飼育する内部空間と外界とを隔てる飼育容器と、
前記飼育容器の一部に設けられた給餌孔と、
前記飼育容器の外側から前記給餌孔に接するように設けられる給餌器と
を有することを特徴とする昆虫および昆虫の幼虫の飼育装置。
続きを表示(約 700 文字)
【請求項2】
前記飼育容器は、前記内部空間に突出する給餌部を有し、
前記給餌孔が前記給餌部に設けられている、
請求項1に記載の昆虫および昆虫の幼虫の飼育装置。
【請求項3】
前記飼育容器は、前記内部空間から外側に向けて突出する給餌部を有し、
前記給餌孔が前記給餌部に設けられている、
請求項1に記載の昆虫および昆虫の幼虫の飼育装置。
【請求項4】
前記飼育容器が、床面、壁面、天井面を有し、
前記給餌部が、前記床面、壁面、天井面のいずれか一つに設けられている、
請求項2または3に記載の昆虫および昆虫の幼虫の飼育装置。
【請求項5】
前記飼育容器は、少なくとも床面を有し、
前記給餌孔が前記床面に設けられている、
請求項1に記載の昆虫および昆虫の幼虫の飼育装置。
【請求項6】
前記給餌孔の大きさが、前記昆虫の体の大きさより小さく、かつ口器によって餌を摂食できる大きさを有する、
請求項1に記載の昆虫および昆虫の幼虫の飼育装置。
【請求項7】
前記給餌器が、吸水性を有する発泡樹脂体と、前記発泡樹脂体を支持するトレーと、を含み、前記発泡樹脂体が前記給餌部に嵌合する大きさを有する、
請求項2に記載の昆虫および昆虫の幼虫の飼育装置。
【請求項8】
前記給餌器が、飼料が付着されるシート材と、前記シート材を前記給餌孔に当接させる保持部材と、を含む、
請求項1乃至3のいずれか一項に記載の昆虫および昆虫の幼虫の飼育装置。
発明の詳細な説明
【技術分野】
【0001】
本発明の一実施形態は、昆虫および昆虫の幼虫を飼育するための装置の構造に関する。
続きを表示(約 1,300 文字)
【背景技術】
【0002】
昆虫や昆虫の幼虫を飼育する容器は、一般に、容器本体と、容器本体に着脱自在または開閉自在に設けられた蓋体とを有し、容器本体および蓋体の一方または双方に通気孔が設けられた構造を有している(例えば、特許文献1参照)。
【先行技術文献】
【特許文献】
【0003】
特開2002-017204号公報
【発明の概要】
【発明が解決しようとする課題】
【0004】
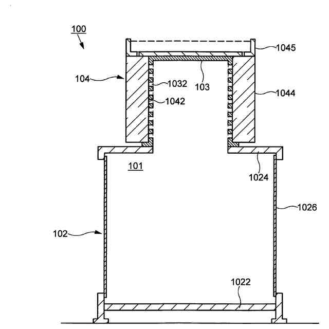
昆虫や昆虫の幼虫を飼育する際には餌を与えること(給餌)が必要となる。給餌をするためには昆虫や昆虫の幼虫を飼育する容器に設けられた蓋または扉を開ける必要がある。蓋または扉を開けると容器の内部空間と容器の外側の外部空間とが通じるため、飼育する昆虫や昆虫の幼虫が外部空間に逃げ出してしまうおそれがある。特に、飛翔昆虫は空間を自由に飛び回るので、安易に蓋または扉を開けると外部空間に飛散してしまうおそれがある。そのため、給餌を行う際には細心の注意を払う必要がある。
【課題を解決するための手段】
【0005】
本発明の一実施形態に係る昆虫および昆虫の幼虫の飼育装置は、昆虫を飼育する内部空間と外界とを隔てる飼育容器と、飼育容器の一部に設けられた給餌孔と、飼育容器の外側から給餌孔に接するように設けられる給餌器とを有する。
【0006】
本発明の一実施形態において、飼育容器は、内部空間に突出する給餌部を有し、給餌孔が給餌部に設けられていてもよい。また、飼育容器は、内部空間から外側に向けて突出する給餌部を有し給餌孔が給餌部に設けられていてもよい。
【0007】
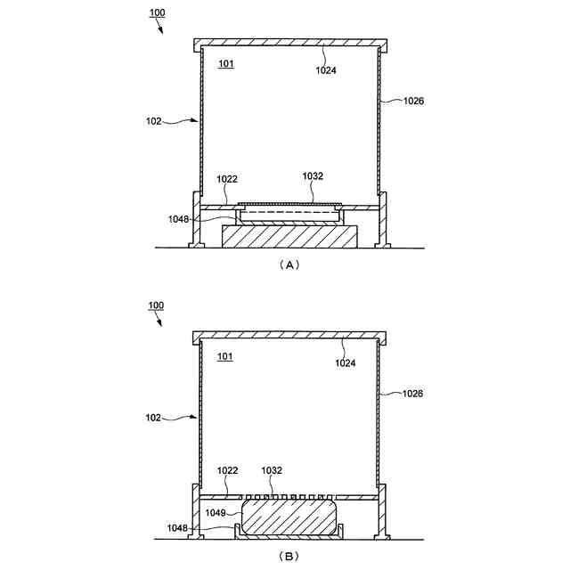
本発明の一実施形態において、飼育容器は、床面、壁面、天井面を有し、給餌部が、床面、壁面、天井面のいずれか一つに設けられていればよい。例えば、飼育容器は、少なくとも床面を有し、給餌孔が床面に設けられていてもよい。
【0008】
本発明の一実施形態において、給餌孔の大きさは、昆虫の体の大きさより小さく、かつ口器によって餌を摂食できる大きさを有することが好ましい。昆虫がハエ目に属する昆虫である場合、給餌孔の大きさが、ハエ目に属する昆虫の体の大きさより小さく、かつ口吻によって餌を摂食できる大きさを有することが好ましい。給餌孔はメッシュで形成されていてもよい。
【0009】
本発明の一実施形態において、給餌器が、吸水性を有する発泡樹脂体と、発泡樹脂体を支持するトレーとを含み、発泡樹脂体が給餌部に嵌合する大きさを有していてもよい。また、給餌器が、飼料が付着されるシート材と、シート材を給餌孔に当接させる保持部材とを含んでいてもよい。
【発明の効果】
【0010】
本発明の一実施形態に係る昆虫および昆虫の幼虫の飼育装置によれば、飼育容器に給餌孔が設けられ、飼育容器の外側から給餌孔に接するように給餌器が設けられることにより、飼育容器の蓋または扉を開けなくても給餌の作業をすることができ、飼育する昆虫を外部に飛散させないようにすることができる。
【図面の簡単な説明】
(【0011】以降は省略されています)
この特許をJ-PlatPat(特許庁公式サイト)で参照する
関連特許
株式会社フジタ
掘削機
29日前
株式会社フジタ
保護具
1日前
株式会社フジタ
合成床
20日前
株式会社フジタ
合成床
8日前
株式会社フジタ
制振装置
20日前
株式会社フジタ
制振装置
20日前
株式会社フジタ
緑化装置
6日前
株式会社フジタ
水処理装置
10日前
株式会社フジタ
昇降システム
1か月前
株式会社フジタ
木質建築部材
10日前
株式会社フジタ
ビス打ち装置
7日前
株式会社フジタ
センサユニット
7日前
株式会社フジタ
窓用カバー部材
今日
株式会社フジタ
状態評価システム
1か月前
株式会社フジタ
情報取得システム
10日前
株式会社フジタ
結露対策設定装置
今日
株式会社フジタ
コンクリート構造物
21日前
株式会社フジタ
バイオガス改質装置
6日前
株式会社フジタ
エネルギーシステム
20日前
株式会社フジタ
駐車場緑化システム
6日前
株式会社フジタ
環境音快音化システム
1か月前
株式会社フジタ
建築物とその施工方法
20日前
株式会社フジタ
地質性状予測システム
1日前
株式会社フジタ
木質梁と床の取合構造
21日前
株式会社フジタ
エネルギー制御システム
20日前
株式会社フジタ
バイオガス改質システム
6日前
株式会社フジタ
二酸化炭素分離回収供給装置
29日前
株式会社フジタ
二酸化炭素分離回収供給装置
29日前
株式会社フジタ
床衝撃音レベル予測システム
10日前
株式会社フジタ
荷物昇降装置用の荷物載置機構
6日前
株式会社フジタ
昆虫および昆虫の幼虫の飼育装置
2日前
株式会社フジタ
合成床、及び合成床と梁の接合構造
13日前
株式会社明電舎
電力系統システム
10日前
大和ハウス工業株式会社
制振装置
20日前
大和ハウス工業株式会社
制振装置
20日前
株式会社フジタ
被覆シートおよび二酸化炭素供給方法
29日前
続きを見る
他の特許を見る