TOP
|
特許
|
意匠
|
商標
特許ウォッチ
Twitter
他の特許を見る
公開番号
2025133397
公報種別
公開特許公報(A)
公開日
2025-09-11
出願番号
2024031325
出願日
2024-03-01
発明の名称
凍結防止剤又は滑り止め剤の散布装置及び散布車、並びに散布盤を備える散布車のホッパに残留する散布剤の排出方法
出願人
株式会社NICHIJO
代理人
弁理士法人有古特許事務所
主分類
E01H
10/00 20060101AFI20250904BHJP(道路,鉄道または橋りょうの建設)
要約
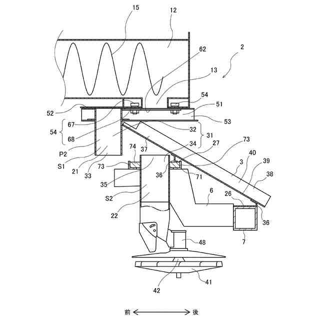
【課題】 ホッパ内で散布剤が固まることを防止することができる凍結防止剤又は滑り止め剤の散布装置2を提供する。
【解決手段】 ホッパ11の吐出口13から吐出され降下する凍結防止剤又は滑り止め剤を案内して投下する上下方向に延びる案内面33、35を含むシュータ31と、上下方向に延びる回転軸42を中心に回転可能であり、シュータ31の下方に位置する散布盤41と、を備え、シュータ31は、案内面33、35の全体又は一部を含み、第1位置P1と第2位置P2との間で移動可能である可動部32を有し、第1位置P1は、シュータ31の案内面33、35によって画定される空間S1、S2が上端から下端に亘って連続する位置であり、第2位置P2は、可動部32の案内面33によって画定される空間S2が第1位置P1に位置する可動部32の空間S2の外に位置する位置である。
【選択図】 図2
特許請求の範囲
【請求項1】
凍結防止剤又は滑り止め剤を収容し、下方向に開口する吐出口を含む吐出管を有するホッパと、
前記ホッパに収容された前記凍結防止剤又は前記滑り止め剤を搬送して前記吐出口に投入するコンベヤと、
前記吐出口から吐出され降下する前記凍結防止剤又は前記滑り止め剤を案内して投下する上下方向に延びる案内面を含むシュータと、
上下方向に延びる回転軸を中心に回転可能であり、前記シュータの下方に位置する散布盤と、を備え、
前記シュータは、前記案内面の全体又は一部を含み、第1位置と第2位置との間で移動可能である可動部を有し、前記第1位置は、前記シュータの前記案内面によって画定される空間が上端から下端に亘って連続する位置であり、前記第2位置は、前記可動部の前記案内面によって画定される空間が前記第1位置に位置する前記可動部の前記案内面によって画定される空間の外に位置する位置である、凍結防止剤又は滑り止め剤の散布装置。
続きを表示(約 1,400 文字)
【請求項2】
前記シュータの前記可動部を前記第1位置と前記第2位置との間で移動可能に支持する支持機構を備える、請求項1に記載の凍結防止剤又は滑り止め剤の散布装置。
【請求項3】
前記支持機構は、前記吐出管に固定され、前記第1位置から前記第2位置に向かう方向に延びるガイドレールと、前記可動部を支持し、前記ガイドレールに沿って移動するスライダとを含む、請求項2に記載の凍結防止剤又は滑り止め剤の散布装置。
【請求項4】
前記支持機構は、前記スライダを前記ガイドレールに固定する締結具を有する、請求項3に記載の凍結防止剤又は滑り止め剤の散布装置。
【請求項5】
前記シュータは、前記可動部である上部シュータと、下部シュータとを含み、
前記上部シュータは、前記支持機構に前記第1位置と前記第2位置との間で移動可能に支持される、請求項2に記載の凍結防止剤又は滑り止め剤の散布装置。
【請求項6】
請求項5に記載の散布装置と、
前記散布装置を搭載する車体フレームと、前記車体フレームから後方に延びる支持フレームと、前記支持フレームに支持され、車幅方向に延びる車両突入防止装置と、を有する車体と、を備え、
前記下部シュータは、前記支持フレームに支持され、
前記上部シュータの下端及び前記下部シュータの上端は、車高方向において前記支持フレームの上方に位置する、凍結防止剤又は滑り止め剤の散布車。
【請求項7】
前記散布装置は、前記支持フレームに支持され、前記下部シュータを支持する下部シュータ支持部を更に備え、
前記下部シュータ支持部は、前記上部シュータを前記第2位置に位置させた状態において、前記第1位置に位置する前記上部シュータの前記案内面によって画定される空間から前記車両突入防止装置の後方の空間に前記吐出口から吐出された前記凍結防止剤又は前記滑り止め剤を案内する排出シュータの基端部が設置される基端側設置部を有する、
請求項6に記載の凍結防止剤又は滑り止め剤の散布車。
【請求項8】
前記車両突入防止装置は、前記排出シュータの先端部が設置される先端側設置部を有する、請求項7に記載の凍結防止剤又は滑り止め剤の散布車。
【請求項9】
回転する散布盤が散布剤である凍結防止剤又は滑り止め剤に与える遠心力により前記散布剤を散布する散布車のホッパに残留する散布剤の排出方法であって、
前記ホッパの吐出管の吐出口から吐出され前記散布剤を案内して投下する上下方向に延びる案内面の全体又は一部を含み、移動可能である可動部を含むシュータの前記可動部を、前記シュータの前記案内面によって画定される空間が上端から下端に亘って連続する第1位置から、前記可動部の前記案内面によって画定される空間が前記第1位置に位置する前記可動部の前記案内面によって画定される空間の外に位置する第2位置に移動させ、
前記第1位置に位置する前記可動部の前記案内面によって画定される空間と前記散布車の車両突入防止装置の上方とを通るように排出シュータを設置し、
コンベヤによって前記ホッパに残留した前記散布剤を搬送して前記吐出口に投入し、
前記吐出口から吐出された前記散布剤を前記排出シュータによって前記第1位置から前記車両突入防止装置の後方の空間に案内して排出する、散布剤の排出方法。
発明の詳細な説明
【技術分野】
【0001】
本開示は、凍結防止剤又は滑り止め剤の散布装置及び散布車、並びに散布盤を備える散布車のホッパに残留する散布剤の排出方法に関する。
続きを表示(約 1,500 文字)
【背景技術】
【0002】
特許文献1に示す道路用塩を散布するための凍結防止剤散布車両が知られている。
【0003】
この凍結防止剤散布車両は、散布用粒体の保持タンクから、シュートを介して散布用粒体放出装置へと散布量粒体を落下させ、散布用粒体が遠心力によって水平方向に放出する。
【先行技術文献】
【特許文献】
【0004】
特開2007―107375号公報
【発明の概要】
【発明が解決しようとする課題】
【0005】
ところで、特許文献1に記載の凍結防止剤散布車両において、保持タンクに収容した状態で散布用粒体を保管すると、保持タンク内で散布用粒体が固まり、次回の作業時に散布用粒体が詰まり、保持タンクから散布用粒体が吐出できない場合があった。また、特許文献1に記載の凍結防止剤散布車両は、散布用粒体を保持タンクから外部に排出することが困難であった。
【課題を解決するための手段】
【0006】
上記課題を解決するため、本開示のある態様に係る凍結防止剤又は滑り止め剤の散布装置は、凍結防止剤又は滑り止め剤を収容し、下方向に開口する吐出口を含む吐出管を有するホッパと、前記ホッパに収容された前記凍結防止剤又は前記滑り止め剤を搬送して前記吐出口に投入するコンベヤと、前記吐出口から吐出され降下する前記凍結防止剤又は前記滑り止め剤を案内して投下する上下方向に延びる案内面を含むシュータと、上下方向に延びる回転軸を中心に回転可能であり、前記シュータの下方に位置する散布盤と、を備え、前記シュータは、前記案内面の全体又は一部を含み、第1位置と第2位置との間で移動可能である可動部を有し、前記第1位置は、前記シュータの前記案内面によって画定される空間が上端から下端に亘って連続する位置であり、前記第2位置は、前記可動部の前記案内面によって画定される空間が前記第1位置に位置する前記可動部の前記案内面によって画定される空間の外に位置する位置である。
【0007】
この構成によれば、シュータを第2位置に退避させて、前記第1位置に位置する前記可動部の前記案内面によって画定される空間を露出させ、当該空間を降下する凍結防止剤又は滑り止め剤である散布剤を装置の外に排出することができる。これによって、ホッパ内で散布剤が固まることを防止することができる。
【発明の効果】
【0008】
本開示のある態様は、ホッパ内で散布剤が固まることを防止することができるという効果を奏する。
【図面の簡単な説明】
【0009】
実施の形態1に係る散布装置を備える散布車の構成例を示す側面図である。
図1の散布車の後端部付近の構成例を示す断面図であり、上部シュータを第1位置に位置させた状態を示す図である。
図1の散布車の後端部付近の構成例を示す断面図であり、上部シュータを第2位置に位置させ、排出シュータを設置した状態を示す図である。
図1の散布車の後端部付近の構成例を示す斜視図であり、上部シュータを第2位置に位置させ、排出シュータを設置した状態を示す図である。
【発明を実施するための形態】
【0010】
以下、実施の形態について、図面を参照しながら説明する。なお、以下の実施の形態によって本発明が限定されるものではない。また、以下では、全ての図を通じて、同一又は相当する要素には同一の参照符号を付して、その重複する説明を省略する。
(【0011】以降は省略されています)
この特許をJ-PlatPat(特許庁公式サイト)で参照する
関連特許
個人
折り畳み式標識具
今日
日本精機株式会社
路面投影装置
1か月前
GX株式会社
仮設防護体
22日前
株式会社熊谷組
床版接合構造
3日前
範多機械株式会社
路面切削機
1か月前
北越消雪機械工業株式会社
消雪装置
今日
GX株式会社
昇降式仮設防護体
13日前
GX株式会社
仮設防護体連結構造
1か月前
前田工繊株式会社
防護柵
15日前
株式会社熊谷組
床版継手装置、及び、床版
3日前
中井商工株式会社
橋梁の桁端止水工法
3日前
浅香工業株式会社
レーキ
10日前
株式会社トップ
立て看板用スロープおよび立て看板
1か月前
株式会社幸和道路
自走式道路路面標示文字描画車両
21日前
株式会社三共
足場用移動屋根装置及び橋梁用足場
23日前
十武建設株式会社
舗装材吹付け装置、および吹付け施工方法
21日前
株式会社NIPPO
法面機械
13日前
共和ゴム株式会社
床版敷設シール材
27日前
株式会社栗本鐵工所
検査路及びステップ
1か月前
株式会社大林組
新設床版の設置工法
1か月前
酒井重工業株式会社
振動ローラ
1か月前
株式会社NIPPO
路面切削装置及び路面切削方法
1か月前
株式会社NIPPO
法面作業装置
13日前
株式会社NIPPO
法面作業装置
13日前
日本環境アメニティ株式会社
吊下げ式減音装置及び高架橋
1か月前
五洋建設株式会社
床版部材設置装置及び床版部材の設置方法
21日前
株式会社NIPPO
コンクリート舗装の施工方法
3日前
大成建設株式会社
床版接合部の設計方法
3日前
株式会社NIPPO
半たわみ性舗装及びその施工方法
1か月前
株式会社奥村組
鉄筋コンクリート柱の補強工法
1か月前
株式会社NIPPO
再生アスファルト混合物の製造方法
21日前
株式会社NIPPO
コンクリート舗装及びその施工方法
3日前
株式会社NIPPO
再生アスファルト混合物の製造方法
21日前
株式会社NIPPO
再生アスファルト混合物の製造方法
1か月前
株式会社奥村組
鉄筋コンクリート柱の補強工法
1か月前
オリエンタル白石株式会社
床版設置高さ調整機構及び床版取替工法
1か月前
続きを見る
他の特許を見る