TOP
|
特許
|
意匠
|
商標
特許ウォッチ
Twitter
他の特許を見る
10個以上の画像は省略されています。
公開番号
2025134357
公報種別
公開特許公報(A)
公開日
2025-09-17
出願番号
2024032208
出願日
2024-03-04
発明の名称
受信装置、放送システム、および、受信方法
出願人
シャープ株式会社
代理人
個人
,
個人
,
個人
,
個人
主分類
H04N
21/438 20110101AFI20250909BHJP(電気通信技術)
要約
【課題】通信コンポーネントの取得情報を放送により更新する。
【解決手段】受信処理部は、放送波を受信して得られる受信信号から放送コンポーネントを取得し、通信処理部は、通信ネットワークで配信される通信コンポーネントを取得し、出力処理部は、取得された放送コンポーネントまたは通信コンポーネントを出力し、選局管理部は、チャンネルごとに受信信号を受信できるか否かを示す放送受信可否情報と、選局された選局チャンネルが受信信号を受信できるか否かを判定し、選局チャンネルが受信信号を受信できるとき、受信処理部に放送コンポーネントを取得させ、選局チャンネルが受信信号を受信できないとき、選局チャンネルに係る取得情報を用いて通信処理部に通信コンポーネントを取得させ、受信信号で伝送され取得情報の変更を示す告知情報を用いて少なくとも変更後の取得情報を含む配信情報を受信し、当該取得情報をサービスリストに設定する。
【選択図】図1
特許請求の範囲
【請求項1】
放送波を受信して得られる受信信号から放送コンポーネントを取得する受信処理部と、
通信ネットワークで配信される通信コンポーネントを取得する通信処理部と、
取得された前記放送コンポーネントまたは前記通信コンポーネントを出力する出力処理部と、
選局管理部と、を備え、
前記選局管理部は、
チャンネルごとに前記受信信号を受信できるか否かを示す放送受信可否情報と、前記放送コンポーネントと並行して配信される前記通信コンポーネントの取得に係る取得情報とを示すサービス情報を含むサービスリストを参照し、
選局された選局チャンネルが前記受信信号を受信できるか否かを判定し、
前記選局チャンネルが前記受信信号を受信できるとき、前記受信処理部に前記放送コンポーネントを取得させ、
前記選局チャンネルが前記受信信号を受信できないとき、前記サービスリストを用いて、前記選局チャンネルに係る前記取得情報を特定し、前記通信処理部に前記通信コンポーネントを取得させ、
前記受信信号で伝送され前記取得情報の変更を示す告知情報を用いて少なくとも変更後の前記取得情報を含む配信情報を受信し、
当該取得情報を前記サービスリストに設定する
受信装置。
続きを表示(約 1,300 文字)
【請求項2】
前記告知情報は、前記配信情報の伝送予定を示し、
前記選局管理部は、
前記伝送予定に従って前記配信情報を受信する
請求項1に記載の受信装置。
【請求項3】
前記告知情報は、チャンネル共通に提供され、
前記配信情報は、チャンネルごとの変更後の前記取得情報を含む
請求項1に記載の受信装置。
【請求項4】
前記選局管理部は、
自装置が使用される地域を特定し、
前記地域において放送サービスを提供するチャンネルに係る前記配信情報を取得する
請求項3に記載の受信装置。
【請求項5】
前記選局管理部は、
前記受信信号で伝送されるSDTT(Software Download Trigger Table)に記述されたテーブル識別拡張子に基づいて前記配信情報の伝送予定を判定する
請求項2に記載の受信装置。
【請求項6】
前記選局管理部は、
前記伝送予定に基づいて前記受信信号からDII(Download Info Indication)とDDB(Download Data Block)を取得し、
前記DIIに記述されたモデル識別子に基づいて前記配信情報の伝送を判定し、
前記DDBから前記配信情報を抽出する
請求項5に記載の受信装置。
【請求項7】
前記放送コンポーネントを伝送する放送波を送出する放送設備と、
請求項1に記載の受信装置と、を備える
放送システム。
【請求項8】
前記放送コンポーネントと共通の前記通信コンポーネントを前記通信ネットワークに送出する配信装置を備える
請求項7に記載の放送システム。
【請求項9】
受信装置における受信方法であって、
前記受信装置は、
チャンネルごとに放送波を受信して得られる受信信号を受信できるか否かを示す放送受信可否情報と、放送コンポーネントと並行して通信ネットワークで配信される通信コンポーネントの取得に係る取得情報とを示すサービス情報を含むサービスリストを参照し、
選局された選局チャンネルが前記受信信号を受信できるか否かを判定するステップと、
前記選局チャンネルが前記受信信号を受信できるとき、前記受信信号から前記放送コンポーネントを取得するステップと、
前記選局チャンネルが前記受信信号を受信できないとき、前記サービスリストを用いて、前記選局チャンネルに係る前記取得情報を特定し、前記通信ネットワークで配信される前記通信コンポーネントを取得するステップと、
取得された前記放送コンポーネントまたは前記通信コンポーネントを出力するステップと、
前記受信信号で伝送され前記取得情報の変更を示す告知情報を用いて少なくとも変更後の前記取得情報を含む配信情報を受信するステップと、
当該取得情報を前記サービスリストに設定するステップと、
を実行する
受信方法。
発明の詳細な説明
【技術分野】
【0001】
本願は、受信装置、放送システム、および、受信方法に関する。
続きを表示(約 3,200 文字)
【背景技術】
【0002】
従来、テレビジョン放送は、もっぱら放送波を用いて放送局から個々の受信装置に提供されていた。受信装置は、通例、使用開始前にチャンネルスキャンを実行し、周波数を変更しながら放送波を受信できる放送局のチャンネルを検出し、検出したチャンネルをサービスリストに登録する。受信装置は、サービスリストに登録されたチャンネルから、選局操作により選ばれたチャンネルで提供される放送波を受信する(非特許文献1参照)。
【0003】
他方、通信技術の進展により、昨今では放送番組のコンテンツのインターネット配信が普及しつつある。
視聴者が多い場合には、放送によるコンテンツの提供は、通信による提供よりも効率が高い。他方、視聴者が少ない地域では、放送設備の維持、管理にかかるコストを賄うことが困難である。例えば、山間部のように人口が少なく、かつ、放送設備の設営にコストがかかる地域では、なおのことである。そこで、視聴者が少ない地域では、放送番組のコンテンツを通信ネットワークで配信することが検討されている。
【先行技術文献】
【非特許文献】
【0004】
地上デジタルテレビジョン放送運用規定 技術資料,ARIB TR-B14 6.6版(第一分冊),2019年12月5日,一般社団法人 電波産業会
【発明の概要】
【発明が解決しようとする課題】
【0005】
放送番組のコンテンツを通信で配信する場合、コンテンツの取得に係るサービス情報を要する。サービス情報には、例えば、URL(Universal Resource Locator )などのアドレスが含まれる。サービス情報を予め受信装置の記憶媒体に設定しておくことも考えられるが、放送波が届かないチャンネルは、地域ごとに異なりうる。放送波の伝搬状態は、地形や放送設備の設置状況に依存するためである。また、放送事業者またはコンテンツ提供者は、設備の運用のために配信に用いるアドレスを変更する場合がある。よって、受信装置に予め一律または固定のアドレスを設定することは現実的ではない。
【課題を解決するための手段】
【0006】
本願は上記の課題を解決するためになされたものであり、本願の一態様は、放送波を受信して得られる受信信号から放送コンポーネントを取得する受信処理部と、通信ネットワークで配信される通信コンポーネントを取得する通信処理部と、取得された前記放送コンポーネントまたは前記通信コンポーネントを出力する出力処理部と、選局管理部と、を備え、前記選局管理部は、チャンネルごとに前記受信信号を受信できるか否かを示す放送受信可否情報と、前記放送コンポーネントと並行して配信される前記通信コンポーネントの取得に係る取得情報とを示すサービス情報を含むサービスリストを参照し、選局された選局チャンネルが前記受信信号を受信できるか否かを判定し、前記選局チャンネルが前記受信信号を受信できるとき、前記受信処理部に前記放送コンポーネントを取得させ、前記選局チャンネルが前記受信信号を受信できないとき、前記サービスリストを用いて、前記選局チャンネルに係る前記取得情報を特定し、前記通信処理部に前記通信コンポーネントを取得させ、前記受信信号で伝送され前記取得情報の変更を示す告知情報を用いて少なくとも変更後の前記取得情報を含む配信情報を受信し、当該取得情報を前記サービスリストに設定する受信装置である。
【0007】
本願の他の態様は、受信装置における受信方法であって、受信装置における受信方法であって、前記受信装置は、チャンネルごとに放送波を受信して得られる受信信号を受信できるか否かを示す放送受信可否情報と、放送コンポーネントと並行して通信ネットワークで配信される通信コンポーネントの取得に係る取得情報とを示すサービス情報を含むサービスリストを参照し、選局された選局チャンネルが前記受信信号を受信できるか否かを判定するステップと、前記選局チャンネルが前記受信信号を受信できるとき、前記受信信号から前記放送コンポーネントを取得するステップと、前記選局チャンネルが前記受信信号を受信できないとき、前記サービスリストを用いて、前記選局チャンネルに係る前記取得情報を特定し、前記通信ネットワークで配信される前記通信コンポーネントを取得するステップと、取得された前記放送コンポーネントまたは前記通信コンポーネントを出力するステップと、前記受信信号で伝送され前記取得情報の変更を示す告知情報を用いて少なくとも変更後の前記取得情報を含む配信情報を受信するステップと、当該取得情報を前記サービスリストに設定するステップと、を実行する受信方法である。
【発明の効果】
【0008】
本願の一実施形態によれば、放送コンポーネントと並行して配信される通信コンポーネントのサービス情報を放送により更新することができる。
【図面の簡単な説明】
【0009】
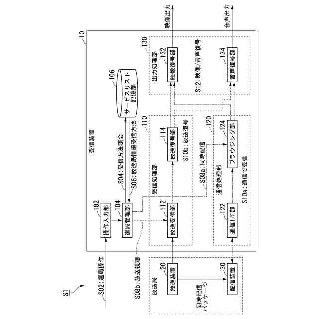
本実施形態に係る放送システムの機能構成例を示す概略ブロック図である。
本実施形態に係る放送局の登録および更新の過程を例示する説明図である。
本実施形態に係るネットワーク情報を例示する図である。
本実施形態に係るサービス情報の一例を示す図である。
本実施形態に係るサービスリストを例示する図である。
本実施形態に係るサービスリスト更新処理を説明するための説明図である。
SDTTのデータ構成例を示す図である。
テーブル識別拡張子の割当例を示す図である。
DIIのデータ構成例を示す図である。
互換性記述子のデータ構成例を示す図である。
同時配信URL情報記述子のデータ構成例を示す図である。
本実施形態に係る地域識別の割当例を示す図である。
広域ごとの割り当て先の地域と地域識別を例示する図である。
ネットワーク情報の再編成を例示する図である。
本実施形態に係るサービスリストの更新処理を例示するフローチャートである。
本実施形態に係る受信確認処理を例示するフローチャートである。
本実施形態に係るサービスリスト更新処理を例示するフローチャートである。
本実施形態に係るダウンロード予約処理を例示するフローチャートである。
本実施形態に係るサービス情報のダウンロード処理を例示するフローチャートである。
本実施形態に係るマージ処理を例示するフローチャートである。
本実施形態に係るサービスリスト登録処理の例を示すフローチャートである。
【発明を実施するための形態】
【0010】
以下、本願の実施形態について、図面を参照して説明する。
まず、本実施形態に係る放送システムS1の概要について説明する。
図1は、本実施形態に係る放送システムS1の機能構成例を示す概略ブロック図である。放送システムS1は、受信装置10と、放送装置20と、配信装置30と、を備える。
放送装置20は、主に放送事業者の放送局に設置される。放送装置20は、放送サービスの提供に用いられる放送設備を構成する。放送サービスでは、放送ネットワークを用いて放送番組のコンテンツが提供される。放送番組のコンテンツは、通例、複数のコンポーネント(component)を構成要素として含むパッケージ(package)として構成される。複数のコンポーネントには、放送番組の音声データ、映像データ、データ放送コンテンツの一部または全部が含まれうる。
(【0011】以降は省略されています)
この特許をJ-PlatPat(特許庁公式サイト)で参照する
関連特許
シャープ株式会社
洗濯機
1か月前
シャープ株式会社
冷蔵庫
13日前
シャープ株式会社
冷蔵庫
21日前
シャープ株式会社
冷蔵庫
1か月前
シャープ株式会社
送風装置
1か月前
シャープ株式会社
加湿装置
1か月前
シャープ株式会社
表示装置
1か月前
シャープ株式会社
送風装置
1か月前
シャープ株式会社
送風装置
1か月前
シャープ株式会社
表示装置
14日前
シャープ株式会社
送風装置
1か月前
シャープ株式会社
加湿装置
3日前
シャープ株式会社
冷却装置
1か月前
シャープ株式会社
空気調和機
7日前
シャープ株式会社
空気調和機
7日前
シャープ株式会社
空気調和機
7日前
シャープ株式会社
加熱調理器
13日前
シャープ株式会社
画像形成装置
7日前
シャープ株式会社
画像形成装置
13日前
シャープ株式会社
画像形成装置
13日前
シャープ株式会社
二成分現像剤
1か月前
シャープ株式会社
画像形成装置
1か月前
シャープ株式会社
画像形成装置
6日前
シャープ株式会社
駐車制御装置
6日前
シャープ株式会社
画像形成装置
6日前
シャープ株式会社
画像形成装置
21日前
シャープ株式会社
画像形成装置
29日前
シャープ株式会社
画像形成装置
1か月前
シャープ株式会社
抗菌光触媒材料
1か月前
シャープ株式会社
イオン発生装置
1か月前
シャープ株式会社
ファクシミリ装置
14日前
シャープ株式会社
収容庫および冷蔵庫
1か月前
シャープ株式会社
電子部品の筐体構造
21日前
シャープ株式会社
回収装置及び清掃具
今日
シャープ株式会社
回収装置及び清掃具
今日
シャープ株式会社
回収装置及び清掃具
今日
続きを見る
他の特許を見る