TOP
|
特許
|
意匠
|
商標
特許ウォッチ
Twitter
他の特許を見る
10個以上の画像は省略されています。
公開番号
2025136723
公報種別
公開特許公報(A)
公開日
2025-09-19
出願番号
2024035521
出願日
2024-03-08
発明の名称
冷蔵庫
出願人
シャープ株式会社
代理人
個人
,
個人
,
個人
,
個人
主分類
F25D
23/08 20060101AFI20250911BHJP(冷凍または冷却;加熱と冷凍との組み合わせシステム;ヒートポンプシステム;氷の製造または貯蔵;気体の液化または固体化)
要約
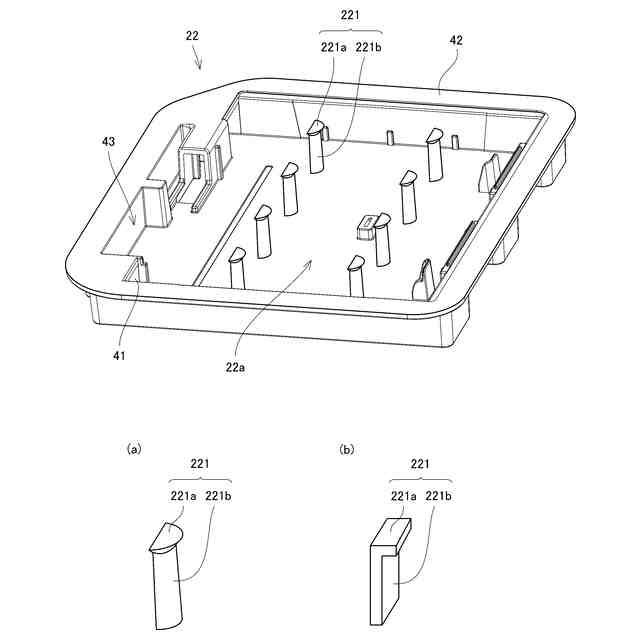
【課題】庫内の壁面に操作パネルが設けられた冷蔵庫において、制御基板の有効面積を小さくすることなく、簡便な方法で、ウレタン充填時に操作パネルのベース部品の変形を抑制する。
【解決手段】ベース部品22は、冷蔵庫の庫内壁51aに取り付けられる操作部2において、表面パネル21の裏面側に配置されるベース部品22である。操作部2は、表面パネル21と、べース部品22と、表面パネル21とベース部品22との間に配置される制御基板23と、を含む。ベース部品22には、表面パネル21側に突出する支持部材221が設けられ、支持部材221は折り取り可能である。
【選択図】図7
特許請求の範囲
【請求項1】
冷蔵庫の庫内壁に取り付けられる操作部において、表面パネルの裏面側に配置されるベース部品であって、
前記操作部は、前記表面パネルと、前記べース部品と、前記表面パネルと前記ベース部品との間に配置される制御基板と、を含み、
前記ベース部品は、前記表面パネル側に突出する折り取り可能な支持部材を有する、ベース部品。
続きを表示(約 1,100 文字)
【請求項2】
前記支持部材は前記ベース部品の底面に立設される柱状の部材であり、
前記支持部材の側壁は、折りやすい方向に正対する向きとなる押圧面が、平坦面または他の面よりも曲率が大きい、請求項1に記載のベース部品。
【請求項3】
前記支持部材は前記ベース部品の底面から複数立設しており、
前記複数の支持部材の押圧面が同じ方向を向いている、請求項2に記載のベース部品。
【請求項4】
コネクタを介して前記制御基板と接続されるハーネスを収納するためのハーネス収納部を有し、
前記支持部材の折りやすい方向が、前記ハーネス収納部と逆方向である、請求項2に記載のベース部品。
【請求項5】
コネクタを介して前記制御基板と接続されるハーネスを収納するためのハーネス収納部を有し、
前記支持部材は、前記ハーネスを固定可能な位置に配置される、請求項1に記載のベース部品。
【請求項6】
前記ベース部品は、前記庫内壁に貼り付けるためのフランジ部を有し、
前記支持部材は、前記フランジ部の高さ以上の高さを有している、請求項1に記載のベース部品。
【請求項7】
前記支持部材は、先端側の断面積が大きく、基端側の断面積が小さい、請求項1に記載のベース部品。
【請求項8】
請求項1に記載のベース部品を用いた、冷蔵庫。
【請求項9】
庫内壁を形成している内箱と、
前記庫内壁に取り付けられている操作部と、を備え、
前記操作部は、
表面パネルと、
前記表面パネルの裏面側に配置されているベース部品と、
前記表面パネルと前記ベース部品との間に配置される制御基板と、を含み、
前記ベース部品は、請求項1に記載のベース部品から前記支持部材が折り取られてなる、冷蔵庫。
【請求項10】
庫内壁を形成している内箱と、
前記庫内壁に取り付けられている操作部と、を備える冷蔵庫の製造方法であって、
前記操作部は、
表面パネルと、
前記表面パネルの裏面側に配置されているベース部品と、
前記表面パネルと前記ベース部品との間に配置される制御基板と、を含み、
前記表面パネル側に突出する折り取り可能な支持部材を有する前記ベース部品を前記表面パネルの裏面側となる位置に配置した状態で、前記内箱の外側に発泡断熱材を充填する、断熱材充填工程と、
前記断熱材充填工程の後に、前記ベース部品から前記支持部材を折り取る、支持部材除去工程と、を含む、製造方法。
(【請求項11】以降は省略されています)
発明の詳細な説明
【技術分野】
【0001】
本開示は、冷蔵庫に関する。
続きを表示(約 2,000 文字)
【背景技術】
【0002】
冷蔵庫には、冷蔵室及び冷凍室の温度設定、製氷装置の操作及び設定、並びに、その他の各種の操作及び設定を行う操作部が内蔵されているものがある。
例えば、特許文献1には、庫内の壁面(側面)に基板等を含むユニット(操作パネル)を配置した冷蔵庫が開示されている。
【先行技術文献】
【特許文献】
【0003】
特開2019-56500号公報
【発明の概要】
【発明が解決しようとする課題】
【0004】
特許文献1のように、庫内の壁面に操作部を配置する場合、庫内の壁面に制御基板等を収納するための凹部を有するベース部品(基板収納部)を設け、その凹部に操作部が設けられる。
ここで、ベース部品の外側(背面側)には、ウレタン発泡によりウレタン(発泡断熱材)が充填される。発泡断熱材の充填時には、庫内の全壁面に沿うように治具(金型)が設置されるが、ベース部品の凹部は壁面よりも外側に凹んでいるため、ウレタン充填時の応力(発泡圧)により、ベース部品が変形して凹部が潰れてしまう可能性がある。このため、ウレタン充填時に、凹部の内側(前面側)からベース部品を支持する必要がある。
特許文献1に記載される冷蔵庫では、ベース部品の表面から内側方向に突出する支持部材(補強部)が設けられているため、ウレタン充填時のベース部品の変形を抑制することができる。
【0005】
しかしながら、ベース部品の凹部(操作部の表面パネルとベース部品の間)に制御基板を収納するためには、支持部材に対応する位置に孔を設ける必要がある。このため、制御基板の有効面積が小さくなってしまうという問題がある。
また、ベース部品の各箇所にかかる均一でない発泡圧による変形(傾き)を十分に防ぐために支持部材の数を増やすと、さらに無駄なスペースが増えて制御基板の有効面積が小さくなってしまう。このため、十分な数の支持部材を設けることが難しかった。
ベース部品の凹部のみに別途の小型の治具(置き治具)を嵌め込んで、ベース部品を内側から支持することも考えられるが、ウレタン充填の操作が煩雑になってしまうため、そのような方法は望ましくない。
【0006】
本開示の目的は、庫内の壁面に操作パネルが設けられた冷蔵庫において、制御基板の有効面積を小さくすることなく、簡便な方法で、ウレタン充填時に操作パネルのベース部品の変形を抑制することである。
【課題を解決するための手段】
【0007】
本開示の一局面にかかるベース部品は、冷蔵庫の庫内壁に取り付けられる操作部において、表面パネルの裏面側に配置される。
前記操作部は、前記表面パネルと、前記べース部品と、前記表面パネルと前記ベース部品との間に配置される制御基板と、を含む。
前記ベース部品は、前記表面パネル側に突出する折り取り可能な支持部材を有する。
【発明の効果】
【0008】
本開示の一局面によれば、庫内の壁面に操作パネルが設けられた冷蔵庫において、制御基板の有効面積を小さくすることなく、簡便な方法で、ウレタン充填時に操作パネルのベース部品の変形を抑制することができる。
【図面の簡単な説明】
【0009】
実施形態に係る冷蔵庫の冷蔵室内の構成を示す斜視図である。
図1に示す冷蔵庫の正面図である。
図2に示す冷蔵庫のA-A線断面図である。
操作部の表面パネルを示す平面図である。
操作部の表面パネル等を取り付ける前の冷蔵室内の構成を示す斜視図である。
図5の操作部(開口部)周辺の部分拡大図である。
実施形態に係る操作部のベース部品の斜視図である。
実施形態に係る操作部のベース部品の変形例の斜視図である。
断熱箱体とウレタン充填用の治具を示す斜視図である。
断熱箱体にウレタン充填用の治具が挿入された状態を示す斜視図である。
図10におけるウレタンの流れを示す模式図である。
図11に示すベース部品周辺の縦断面図(図3のB-B線での断面図)である。
支持部材が折り取られる前の冷蔵室内と表面パネルを示す斜視図である。
支持部材が折り取られた後の冷蔵室内と表面パネルを示す斜視図である。
操作部の表面パネルおよび制御基板を冷蔵室の側壁に取り付ける様子を示す斜視図である。
操作部の各構成部品を分解した状態で示す斜視図である。
【発明を実施するための形態】
【0010】
以下、図面を参照しつつ、本開示の各実施形態について説明する。以下の説明では、同一の部品には同一の符号を付してある。それらの名称及び機能も同じである。
(【0011】以降は省略されています)
この特許をJ-PlatPat(特許庁公式サイト)で参照する
関連特許
シャープ株式会社
冷蔵庫
21日前
シャープ株式会社
冷蔵庫
13日前
シャープ株式会社
加湿装置
3日前
シャープ株式会社
表示装置
14日前
シャープ株式会社
空気調和機
7日前
シャープ株式会社
空気調和機
7日前
シャープ株式会社
空気調和機
7日前
シャープ株式会社
加熱調理器
13日前
シャープ株式会社
画像形成装置
13日前
シャープ株式会社
画像形成装置
7日前
シャープ株式会社
画像形成装置
13日前
シャープ株式会社
駐車制御装置
6日前
シャープ株式会社
画像形成装置
6日前
シャープ株式会社
画像形成装置
21日前
シャープ株式会社
画像形成装置
6日前
シャープ株式会社
ファクシミリ装置
14日前
シャープ株式会社
電子部品の筐体構造
21日前
シャープ株式会社
スタンド及び表示装置
15日前
シャープ株式会社
室外機及び空気調和機
7日前
シャープ株式会社
画像形成装置の定着装置
21日前
シャープ株式会社
断熱箱体、および冷蔵庫
6日前
シャープ株式会社
断熱箱体、および冷蔵庫
6日前
シャープ株式会社
情報処理装置及び表示方法
13日前
シャープ株式会社
集塵装置および電気掃除機
22日前
シャープ株式会社
画像形成装置及び現像装置
6日前
シャープ株式会社
固定機構および画像形成装置
6日前
シャープ株式会社
原稿送り装置及び画像形成装置
13日前
シャープ株式会社
端末装置、方法、および集積回路
3日前
シャープ株式会社
原稿搬送装置および画像形成装置
14日前
シャープ株式会社
カバー部材取付構造および表示装置
13日前
シャープ株式会社
端末装置、方法、および、集積回路
2日前
シャープ株式会社
端末装置、方法、および、集積回路
2日前
シャープ株式会社
表示装置、及び表示装置の制御方法
13日前
シャープ株式会社
表示装置、および表示装置の制御方法
13日前
シャープ株式会社
端末装置、基地局装置および通信方法
13日前
シャープ株式会社
端末装置、基地局装置および通信方法
13日前
続きを見る
他の特許を見る