TOP
|
特許
|
意匠
|
商標
特許ウォッチ
Twitter
他の特許を見る
10個以上の画像は省略されています。
公開番号
2025143624
公報種別
公開特許公報(A)
公開日
2025-10-02
出願番号
2024042947
出願日
2024-03-19
発明の名称
回収装置及び清掃具
出願人
シャープ株式会社
代理人
個人
,
個人
主分類
A47L
9/28 20060101AFI20250925BHJP(家具;家庭用品または家庭用設備;コーヒーひき;香辛料ひき;真空掃除機一般)
要約
【課題】集塵したゴミの量が設定量に達したことを示す報知を適切に更新することができる回収装置及び清掃具を提供する
【解決手段】回収装置は、掃除機からゴミを回収して集塵部に集塵する回収部と、前記集塵部に集塵された集塵ゴミの量を検知する検知部と、制御部と、を備え、前記制御部は、設定が第1の設定である場合は、前記掃除機が装着されたときに前記回収部に前記ゴミを回収することを開始させず、前記設定が第2の設定である場合は、前記掃除機が装着されたときに前記回収部に前記ゴミを回収することを開始させ、前記回収部に前記ゴミを回収させている間に前記量が設定量に達した場合は、前記回収部に前記ゴミを回収することを終了させ、報知を行うことを開始させ、前記設定を前記第2の設定から前記第1の設定に切り替え、前記報知を行わせている間に操作が行われた場合は、前記報知を行うことを終了させる。
【選択図】図5
特許請求の範囲
【請求項1】
掃除機が着脱される着脱部と、
前記掃除機が前記着脱部に装着されているか否かを検知する装着検知部と、
集塵部と、
前記掃除機からゴミを回収して前記集塵部に集塵する回収部と、
前記集塵部に集塵された集塵ゴミの量を検知する検知部と、
操作部と、
報知部と、
制御部と、
を備え、
前記制御部は、
設定が第1の設定である場合は、前記掃除機が前記着脱部に装着されたことが前記装着検知部により検知されたときに前記回収部に前記ゴミを回収することを開始させず、
前記設定が第2の設定である場合は、前記掃除機が前記着脱部に装着されたことが前記装着検知部により検知されたときに前記回収部に前記ゴミを回収することを開始させ、
前記回収部に前記ゴミを回収させている間に前記量が設定量に達したことが前記検知部により検知された場合は、前記回収部に前記ゴミを回収することを終了させ、前記報知部に報知を行うことを開始させ、前記設定を前記第2の設定から前記第1の設定に切り替え、
前記報知部に前記報知を行わせている間に前記操作部に操作が行われた場合は、前記報知部に前記報知を行うことを終了させる
回収装置。
続きを表示(約 1,500 文字)
【請求項2】
前記制御部は、前記設定が前記第1の設定である間に前記操作部に前記操作が行われた場合は、前記設定を前記第1の設定から前記第2の設定へ切り替える、
又は、前記制御部は、前記設定が前記第2の設定である間に前記操作部に前記操作が行われた場合は、前記設定を前記第2の設定から前記第1の設定へ切り替える
請求項1に記載の回収装置。
【請求項3】
前記操作部は、ボタンを備え、
前記操作は、前記ボタンを押す操作である
請求項1に記載の回収装置。
【請求項4】
掃除機が着脱される着脱部と、
前記掃除機が前記着脱部に装着されているか否かを検知する装着検知部と、
集塵部と、
前記掃除機からゴミを回収して前記集塵部に集塵する回収部と、
前記集塵部に集塵された集塵ゴミの量を検知する検知部と、
報知部と、
制御部と、
を備え、
前記制御部は、
設定が第1の設定である場合は、前記掃除機が前記着脱部に装着されたことが前記装着検知部により検知されたときに前記回収部に前記ゴミを回収することを開始させず、
前記設定が第2の設定である場合は、前記掃除機が前記着脱部に装着されたことが前記装着検知部により検知されたときに前記回収部に前記ゴミを回収することを開始させ、
前記回収部に前記ゴミを回収させている間に前記量が設定量に達したことが前記検知部により検知された場合は、前記回収部に前記ゴミを回収することを終了させ、前記報知部に報知を行うことを開始させ、
前記報知部に前記報知を行わせている間に前記掃除機が前記着脱部から脱着されたことが前記装着検知部により検知された場合は、前記報知部に前記報知を行うことを終了させる
回収装置。
【請求項5】
前記回収部に前記ゴミを回収することを終了させることは、前記量が前記設定量に達したことが前記検知部により検知されてから設定された時間が経過するまで前記回収部に前記ゴミを回収することを継続させ、前記量が前記設定量に達したことが前記検知部により検知されてから前記設定された時間が経過した後に前記回収部に前記ゴミを回収することを終了させることを含む
請求項1から4までのいずれかに記載の回収装置。
【請求項6】
前記回収部に前記ゴミを回収することを終了させることは、前記回収部に前記ゴミを回収することを開始させてから設定された時間が経過するまで前記回収部に前記ゴミを回収することを継続させ、前記回収部に前記ゴミを回収することを開始させてから前記設定された時間が経過した後に前記回収部に前記ゴミを回収することを終了させることを含む
請求項1から4までのいずれかに記載の回収装置。
【請求項7】
前記回収部に前記ゴミを回収することを終了させることは、前記量が前記設定量に達したことが前記検知部により検知された時点で前記回収部に前記ゴミを回収することを終了させることを含む
請求項1から4までのいずれかに記載の回収装置。
【請求項8】
前記報知部は、ランプを備え、
前記報知を行うことは、前記ランプを点灯させることである
請求項1から4までのいずれかに記載の回収装置。
【請求項9】
請求項1から4までのいずれかに記載の回収装置と、
前記掃除機と、
を備える清掃具。
発明の詳細な説明
【技術分野】
【0001】
本開示は、回収装置及び清掃具に関する。
続きを表示(約 2,000 文字)
【背景技術】
【0002】
特許文献1は、ロボット床清掃システムを開示する。当該ロボット床清掃システムにおいては、排出ステーションの排出真空部によりロボットの清掃ビンから排出ステーションのデブリキャニスタにデブリが引き込まれる。また、デブリセンサからのフィードバックに基いてデブリキャニスタ内のデブリの量が判断される。また、デブリキャニスタの充満状態が携帯機器の表示画面に表示される(段落0033,0057及び0061)。
【先行技術文献】
【特許文献】
【0003】
特開2020-168428号公報
【発明の概要】
【発明が解決しようとする課題】
【0004】
特許文献1に開示されたロボット床清掃システムのコストを下げるためには、デブリンセンサを省略し、排出真空部に流れる電流に基いてデブリの量を判断することが考えられる。しかし、排出真空部に流れる電流に基いてデブリの量が判断された場合は、デブリが廃棄されたときに、表示されるデブリキャニスタの充満状態を適切に更新することができない。
【0005】
本開示の一態様は、この問題に鑑みてなされた。本開示の一態様は、例えば、集塵したゴミの量が設定量に達したことを示す報知を適切に更新することができる回収装置及び清掃具を提供することを目的とする。
【課題を解決するための手段】
【0006】
本開示の第1の態様の回収装置は、掃除機が着脱される着脱部と、前記掃除機が前記着脱部に装着されているか否かを検知する装着検知部と、集塵部と、前記掃除機からゴミを回収して前記集塵部に集塵する回収部と、前記集塵部に集塵された集塵ゴミの量を検知する検知部と、操作部と、報知部と、制御部と、を備え、前記制御部は、設定が第1の設定である場合は、前記掃除機が前記着脱部に装着されたことが前記装着検知部により検知されたときに前記回収部に前記ゴミを回収することを開始させず、前記設定が第2の設定である場合は、前記掃除機が前記着脱部に装着されたことが前記装着検知部により検知されたときに前記回収部に前記ゴミを回収することを開始させ、前記回収部に前記ゴミを回収させている間に前記量が設定量に達したことが前記検知部により検知された場合は、前記回収部に前記ゴミを回収することを終了させ、前記報知部に報知を行うことを開始させ、前記設定を前記第2の設定から前記第1の設定に切り替え、前記報知部に前記報知を行わせている間に前記操作部に操作が行われた場合は、前記報知部に前記報知を行うことを終了させる。
【0007】
本開示の第2の態様の清掃具は、本開示の第1の態様の回収装置と、前記掃除機と、を備える。
【図面の簡単な説明】
【0008】
第1実施形態の清掃具を模式的に図示する斜視図である。
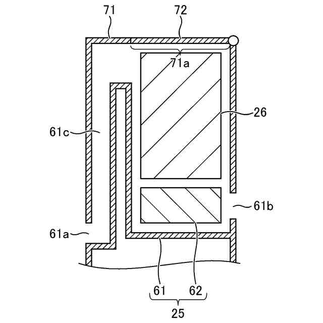
第1実施形態の清掃具に備えられる回収装置の内部構造を模式的に図示する断面図である。
第1実施形態の清掃具に備えられる回収装置の制御系のブロック図である。
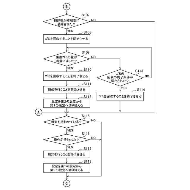
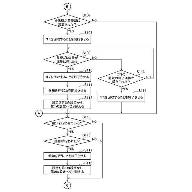
第1実施形態の清掃具に備えられる回収装置の制御部により行われる処理の流れを示すフローチャートである。
第1実施形態の清掃具に備えられる回収装置の制御部により行われる処理の流れを示すフローチャートである。
第1実施形態の清掃具に備えられる回収装置の報知部の状態を模式的に図示する図である。
第1実施形態の清掃具に備えられる回収装置の報知部の状態を模式的に図示する図である。
第1実施形態の清掃具に備えられる回収装置の報知部の状態を模式的に図示する図である。
第1実施形態の第1変形例の清掃具に備えられる回収装置の制御部により行われる処理の流れを示すフローチャートである。
第1実施形態の第2変形例の清掃具に備えられる回収装置の制御部により行われる処理の流れを示すフローチャートである。
第1実施形態の第3変形例の清掃具に備えられる回収装置の制御部により行われる処理の流れを示すフローチャートである。
第1実施形態の第3変形例の清掃具に備えられる回収装置の報知部の状態を模式的に図示する図である。
【発明を実施するための形態】
【0009】
以下、本開示の実施形態について、図面を参照しつつ説明する。なお、図面については、同一又は同等の要素には同一の符号を付し、重複する説明は省略する。
【0010】
1 第1実施形態
1.1 清掃具
図1は、第1実施形態の清掃具を模式的に図示する斜視図である。
(【0011】以降は省略されています)
この特許をJ-PlatPat(特許庁公式サイト)で参照する
関連特許
シャープ株式会社
冷蔵庫
23日前
シャープ株式会社
冷蔵庫
15日前
シャープ株式会社
加湿装置
5日前
シャープ株式会社
表示装置
16日前
シャープ株式会社
加熱調理器
15日前
シャープ株式会社
空気調和機
9日前
シャープ株式会社
空気調和機
9日前
シャープ株式会社
空気調和機
9日前
シャープ株式会社
画像形成装置
8日前
シャープ株式会社
画像形成装置
15日前
シャープ株式会社
画像形成装置
15日前
シャープ株式会社
画像形成装置
23日前
シャープ株式会社
画像形成装置
8日前
シャープ株式会社
駐車制御装置
8日前
シャープ株式会社
画像形成装置
9日前
シャープ株式会社
ファクシミリ装置
16日前
シャープ株式会社
電子部品の筐体構造
23日前
シャープ株式会社
回収装置及び清掃具
2日前
シャープ株式会社
回収装置及び清掃具
2日前
シャープ株式会社
回収装置及び清掃具
2日前
シャープ株式会社
室外機及び空気調和機
9日前
シャープ株式会社
スタンド及び表示装置
17日前
シャープ株式会社
断熱箱体、および冷蔵庫
8日前
シャープ株式会社
断熱箱体、および冷蔵庫
8日前
シャープ株式会社
画像形成装置の定着装置
23日前
シャープ株式会社
情報処理装置及び表示方法
15日前
シャープ株式会社
画像形成装置及び現像装置
8日前
シャープ株式会社
緩衝材及び洗濯機の梱包体
25日前
シャープ株式会社
情報処理装置及び表示方法
25日前
シャープ株式会社
集塵装置および電気掃除機
24日前
シャープ株式会社
固定機構および画像形成装置
8日前
シャープ株式会社
原稿送り装置及び画像形成装置
15日前
シャープ株式会社
端末装置、方法、および集積回路
1日前
シャープ株式会社
端末装置、方法、および集積回路
1日前
シャープ株式会社
端末装置、方法、および集積回路
1日前
シャープ株式会社
原稿搬送装置および画像形成装置
16日前
続きを見る
他の特許を見る