TOP
|
特許
|
意匠
|
商標
特許ウォッチ
Twitter
他の特許を見る
10個以上の画像は省略されています。
公開番号
2025143623
公報種別
公開特許公報(A)
公開日
2025-10-02
出願番号
2024042946
出願日
2024-03-19
発明の名称
回収装置及び清掃具
出願人
シャープ株式会社
代理人
個人
,
個人
主分類
A47L
9/28 20060101AFI20250925BHJP(家具;家庭用品または家庭用設備;コーヒーひき;香辛料ひき;真空掃除機一般)
要約
【課題】操作を行うことにより掃除機からゴミを自動回収する設定と掃除機からゴミを自動回収しない設定との間で設定を切り替えることができ、掃除機からゴミを自動回収している間に当該操作を行った場合でもゴミを適切に回収することができる回収装置及び清掃具を提供する。
【解決手段】回収装置は、掃除機からゴミを回収する回収部を備え、制御部は、前記回収部に前記ゴミを回収させていない間に操作が行われた場合は、前記設定を前記第1の設定と前記第2の設定との間で切り替え、前記回収部に前記ゴミを回収させている間に前記操作が行われた場合は、前記操作を前記回収部の動作に反映させず前記回収部に前記ゴミを回収することを継続させ、前記回収部に前記ゴミを回収することを終了させた後に前記操作を前記動作に反映させる。
【選択図】図5
特許請求の範囲
【請求項1】
掃除機が着脱される着脱部と、
前記掃除機が前記着脱部に装着されているか否かを検知する装着検知部と、
前記掃除機からゴミを回収する回収部と、
操作部と、
制御部と、
を備え、
前記制御部は、
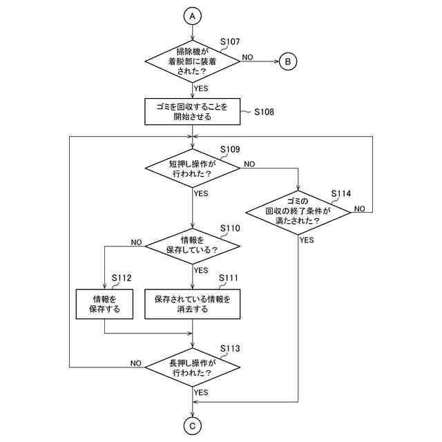
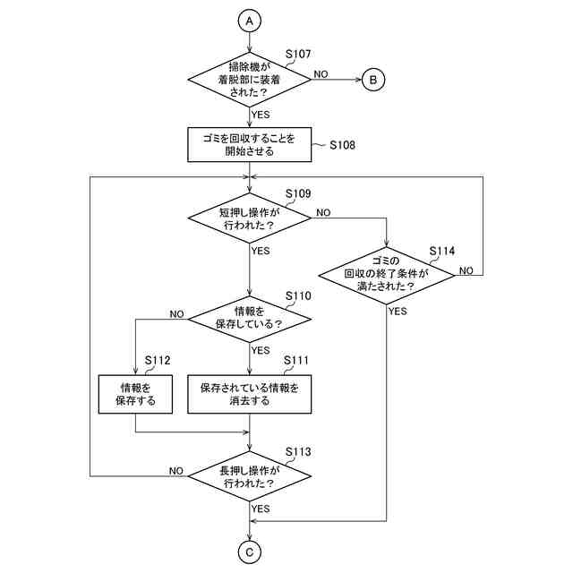
設定が第1の設定である場合は、前記掃除機が前記着脱部に装着されたことが前記装着検知部により検知されたときに前記回収部に前記ゴミを回収することを開始させず、
前記設定が第2の設定である場合は、前記掃除機が前記着脱部に装着されたことが前記装着検知部により検知されたときに前記回収部に前記ゴミを回収することを開始させ、
前記回収部に前記ゴミを回収させていない間に前記操作部に操作が行われた場合は、前記設定を前記第1の設定と前記第2の設定との間で切り替え、
前記回収部に前記ゴミを回収させている間に前記操作部に前記操作が行われた場合は、前記操作を前記回収部の動作に反映させず前記回収部に前記ゴミを回収することを継続させ、前記回収部に前記ゴミを回収することを終了させた後に前記操作を前記動作に反映させる
回収装置。
続きを表示(約 1,700 文字)
【請求項2】
報知部を備え、
前記制御部は、前記回収部に前記ゴミを回収させている間に前記操作部に前記操作が行われた場合は、前記回収部に前記ゴミを回収することを継続させることの報知を前記報知部に行わせる
請求項1に記載の回収装置。
【請求項3】
報知部を備え、
前記制御部は、前記回収部に前記ゴミを回収させている間に前記操作部に前記操作が行われた場合は、前記回収部に前記ゴミを回収することを終了させた後に前記設定を前記第1の設定へ切り替えることの報知を前記報知部に行わせる
請求項1に記載の回収装置。
【請求項4】
前記報知部は、音声又は表示により前記報知を行う
請求項2又は3に記載の回収装置。
【請求項5】
前記操作部は、ボタンを備え、
前記操作は、前記ボタンを短押しする操作であり、
前記制御部は、前記回収部に前記ゴミを回収させている間に前記ボタンに前記ボタンを長押しする操作が行われた場合は、前記回収部に前記ゴミを回収させることを終了させる
請求項1から3までのいずれかに記載の回収装置。
【請求項6】
前記操作を前記動作に反映させず前記回収部に前記ゴミを回収することを継続させ、前記回収部に前記ゴミを回収することを終了させた後に前記操作を前記動作に反映させることは、前記設定を前記第1の設定に切り替えるべきことを示す情報を保存し前記回収部に前記ゴミを回収することを継続させ、前記回収部に前記ゴミを回収することを終了させた後に前記情報にしたがって前記設定を前記第1の設定へ切り替えることを含む
請求項1から3までのいずれかに記載の回収装置。
【請求項7】
前記制御部は、
前記回収部に前記ゴミを回収させている間に前記操作部に前記操作が奇数回行われた場合は、前記設定を前記第1の設定へ切り替えず前記回収部に前記ゴミを回収することを継続させ、前記回収部に前記ゴミを回収することを終了させた後に前記設定を前記第1の設定へ切り替え、
前記回収部に前記ゴミを回収させている間に前記操作部に前記操作が偶数回行われた場合は、前記設定を前記第1の設定へ切り替えず前記回収部に前記ゴミを回収することを継続させ、前記回収部に前記ゴミを回収することを終了させた後に前記設定を前記第2の設定のまま維持する
請求項1から3までのいずれかに記載の回収装置。
【請求項8】
ランプを備え、
前記制御部は、
前記設定が前記第1の設定である場合は、前記ランプを点灯させること及び前記ランプを消灯させることの一方を行い、
前記設定が前記第2の設定である場合は、前記ランプを点灯させること及び前記ランプを消灯させることの他方を行い、
前記回収部に前記ゴミを回収させており、前記回収部に前記ゴミを回収させている間に前記操作部に前記操作が行われていない場合は、前記ランプを第1の点滅周期で点滅させ、
前記回収部に前記ゴミを回収させており、前記回収部に前記ゴミを回収させている間に前記操作部に前記操作が行われた場合は、前記ランプを前記第1の点滅周期より短い第2の点滅周期で点滅させる
請求項1から3までのいずれかに記載の回収装置。
【請求項9】
ランプを備え、
前記制御部は、
前記設定が前記第1の設定である場合は、前記ランプを点灯させること及び前記ランプを消灯させることの一方を行い、
前記設定が前記第2の設定である場合は、前記ランプを点灯させること及び前記ランプを消灯させることの他方を行い、
前記回収部に前記ゴミを回収させており、前記回収部に前記ゴミを回収させている間に前記操作部に前記操作が行われた場合は、前記一方を行い、
前記回収部に前記ゴミを回収させており、前記一方を行っている間に前記操作が行われた場合は、前記他方を行う
請求項1から3までのいずれかに記載の回収装置。
【請求項10】
請求項1から3までのいずれかに記載の回収装置と、
前記掃除機と、
を備える清掃具。
発明の詳細な説明
【技術分野】
【0001】
本開示は、回収装置及び清掃具に関する。
続きを表示(約 2,200 文字)
【背景技術】
【0002】
特許文献1は、掃除機から塵埃を回収する回収装置を開示する。回収装置の塵埃流路の回収口は、掃除機が回収装置に取り付けられた場合に、掃除機の排塵口に対向する。回収装置の吸引源は、掃除機が回収装置に取り付けられた場合に、排塵口及び回収口を通じて塵埃流路に空気を流入させる吸引力を生じる(発明の名称並びに段落0028,0037,0048及び0049)。
【先行技術文献】
【特許文献】
【0003】
特許第7178578号公報
【発明の概要】
【発明が解決しようとする課題】
【0004】
特許文献1に開示された回収装置において、掃除機が回収装置に取り付けられた場合に吸引力を生じない設定と、掃除機が回収装置に取り付けられた場合に吸引力を生じる設定と、の間で設定を切り替えることが望まれることがある。しかし、この切り替えが行われる場合は、吸引源が吸引力を生じている間に切り替え操作が行われて吸引源が吸引力を生じなくなる。このため、掃除機内の塵埃を十分に回収することができない可能性があり、掃除機内に塵埃が残る可能性がある。また、塵埃の塵埃流路に塵埃が残る可能性がある。このため、衛生上の問題が生じる可能性がある。また、次回の掃除のために掃除機が回収装置から取り外された場合に、回収口の付近に残った塵埃が回収口から落下する可能性がある。
【0005】
本開示の一態様は、この問題に鑑みてなされた。本開示の一態様は、例えば、操作を行うことにより掃除機からゴミを自動回収する設定と掃除機からゴミを自動回収しない設定との間で設定を切り替えることができ、掃除機からゴミを自動回収している間に当該操作を行った場合でもゴミを適切に回収することができる回収装置及び清掃具を提供することを目的とする。
【課題を解決するための手段】
【0006】
本開示の第1の態様の回収装置は、掃除機が着脱される着脱部と、前記掃除機が前記着脱部に装着されているか否かを検知する装着検知部と、前記掃除機からゴミを回収する回収部と、操作部と、制御部と、を備え、前記制御部は、設定が第1の設定である場合は、前記掃除機が前記着脱部に装着されたことが前記装着検知部により検知されたときに前記回収部に前記ゴミを回収することを開始させず、前記設定が第2の設定である場合は、前記掃除機が前記着脱部に装着されたことが前記装着検知部により検知されたときに前記回収部に前記ゴミを回収することを開始させ、前記回収部に前記ゴミを回収させていない間に前記操作部に操作が行われた場合は、前記設定を前記第1の設定と前記第2の設定との間で切り替え、前記回収部に前記ゴミを回収させている間に前記操作部に前記操作が行われた場合は、前記操作を前記回収部の動作に反映させず前記回収部に前記ゴミを回収することを継続させ、前記回収部に前記ゴミを回収することを終了させた後に前記操作を前記動作に反映させる。
【0007】
本開示の第2の態様の清掃具は、本開示の第1の態様の回収装置と、前記掃除機と、を備える。
【図面の簡単な説明】
【0008】
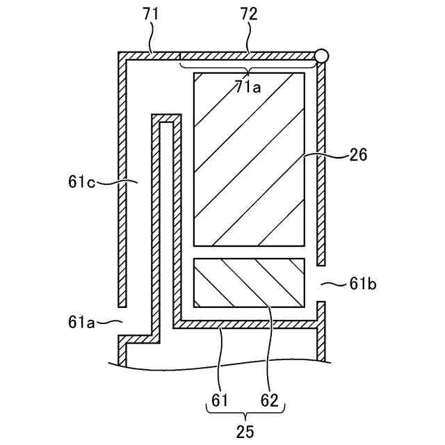
第1実施形態の清掃具を模式的に図示する斜視図である。
第1実施形態の清掃具に備えられる回収装置の内部構造を模式的に図示する断面図である。
第1実施形態の清掃具に備えられる回収装置の制御系のブロック図である。
第1実施形態の清掃具に備えられる回収装置の制御部により行われる処理の流れを示すフローチャートである。
第1実施形態の清掃具に備えられる回収装置の制御部により行われる処理の流れを示すフローチャートである。
第1実施形態の清掃具に備えられる回収装置の制御部により行われる処理の流れを示すフローチャートである。
第1実施形態の清掃具に備えられる回収装置の報知部の状態を模式的に図示する図である。
第1実施形態の清掃具に備えられる回収装置の報知部の状態を模式的に図示する図である。
第1実施形態の清掃具に備えられる回収装置の報知部の状態を模式的に図示する図である。
第1実施形態の清掃具に備えられる回収装置の報知部の状態を模式的に図示する図である。
第1実施形態の第1変形例の清掃具に備えられる回収装置の報知部の状態を模式的に図示する図である。
第1実施形態の第1変形例の清掃具に備えられる回収装置の報知部の状態を模式的に図示する図である。
第1実施形態の第3変形例の清掃具に備えられる回収装置の報知部のブロック図である。
第1実施形態の第4変形例の清掃具に備えられる回収装置の報知部のブロック図である。
【発明を実施するための形態】
【0009】
以下、本開示の実施形態について、図面を参照しつつ説明する。なお、図面については、同一又は同等の要素には同一の符号を付し、重複する説明は省略する。
【0010】
1 第1実施形態
1.1 清掃具
図1は、第1実施形態の清掃具を模式的に図示する斜視図である。
(【0011】以降は省略されています)
この特許をJ-PlatPat(特許庁公式サイト)で参照する
関連特許
シャープ株式会社
冷蔵庫
26日前
シャープ株式会社
冷蔵庫
18日前
シャープ株式会社
加湿装置
8日前
シャープ株式会社
表示装置
19日前
シャープ株式会社
加熱調理器
18日前
シャープ株式会社
空気調和機
12日前
シャープ株式会社
空気調和機
12日前
シャープ株式会社
空気調和機
12日前
シャープ株式会社
画像形成装置
18日前
シャープ株式会社
画像形成装置
18日前
シャープ株式会社
画像形成装置
26日前
シャープ株式会社
画像形成装置
11日前
シャープ株式会社
画像形成装置
12日前
シャープ株式会社
画像形成装置
11日前
シャープ株式会社
駐車制御装置
11日前
シャープ株式会社
ファクシミリ装置
19日前
シャープ株式会社
回収装置及び清掃具
5日前
シャープ株式会社
回収装置及び清掃具
5日前
シャープ株式会社
回収装置及び清掃具
5日前
シャープ株式会社
電子部品の筐体構造
26日前
シャープ株式会社
室外機及び空気調和機
12日前
シャープ株式会社
スタンド及び表示装置
20日前
シャープ株式会社
測定装置及び測定方法
28日前
シャープ株式会社
画像形成装置の定着装置
26日前
シャープ株式会社
断熱箱体、および冷蔵庫
11日前
シャープ株式会社
断熱箱体、および冷蔵庫
11日前
シャープ株式会社
集塵装置および電気掃除機
27日前
シャープ株式会社
情報処理装置及び表示方法
28日前
シャープ株式会社
情報処理装置及び表示方法
18日前
シャープ株式会社
緩衝材及び洗濯機の梱包体
28日前
シャープ株式会社
画像形成装置及び現像装置
11日前
シャープ株式会社
固定機構および画像形成装置
11日前
シャープ株式会社
原稿送り装置及び画像形成装置
18日前
シャープ株式会社
加熱調理機及び加熱調理システム
1か月前
シャープ株式会社
原稿搬送装置および画像形成装置
19日前
シャープ株式会社
端末装置、方法、および集積回路
8日前
続きを見る
他の特許を見る