TOP
|
特許
|
意匠
|
商標
特許ウォッチ
Twitter
他の特許を見る
10個以上の画像は省略されています。
公開番号
2025134524
公報種別
公開特許公報(A)
公開日
2025-09-17
出願番号
2024032492
出願日
2024-03-04
発明の名称
防火設備
出願人
株式会社竹中工務店
,
株式会社日鋼サッシュ製作所
代理人
弁理士法人太陽国際特許事務所
主分類
E06B
5/16 20060101AFI20250909BHJP(戸,窓,シャッタまたはローラブラインド一般;はしご)
要約
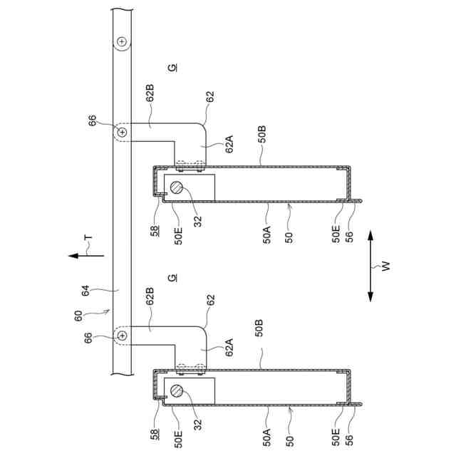
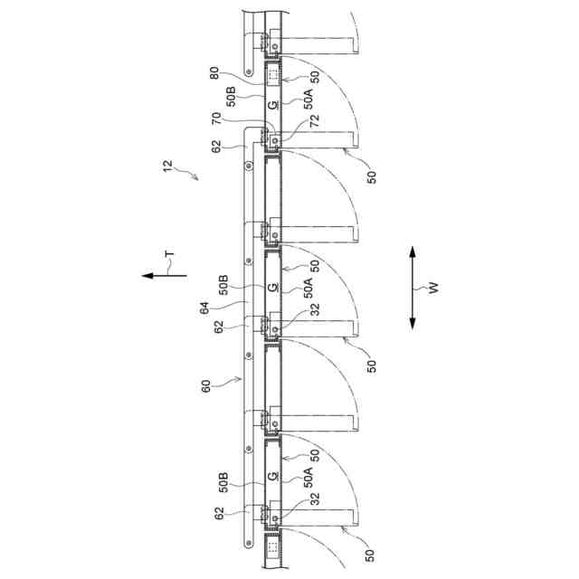
【課題】縦枠を不要にしつつ、遮煙性能を高めることを目的とする。
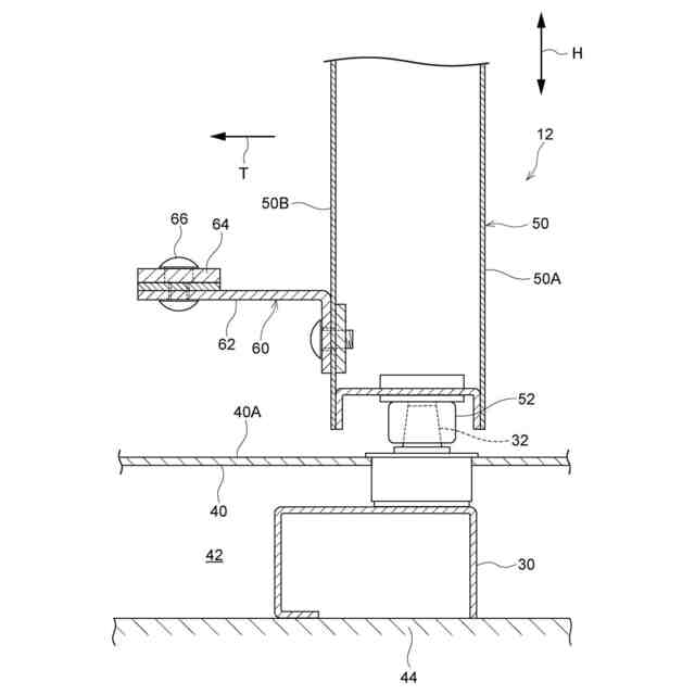
【解決手段】防火設備10は、水平方向に配列され、上下方向に沿った上側回転軸22及び下側回転軸32,72を中心とした回転に伴って、互いの間の開口Gを開閉する同一の開き勝手の複数の鋼製扉50と、開口Gを閉じた閉状態において、隣り合う一方の鋼製扉50の側端部50Eに沿って設けられ、当該側端部50Eから、隣り合う他方の鋼製扉50の側端部50Eの表面50A上へ延出するカバー部56と、を備える。
【選択図】図6
特許請求の範囲
【請求項1】
水平方向に配列され、上下方向に沿った回転軸を中心とした回転に伴って、互いの間の開口を開閉する同一の開き勝手の複数の鋼製扉と、
前記開口を閉じた閉状態において、隣り合う一方の前記鋼製扉の側端部に沿って設けられ、該側端部から、隣り合う他方の前記鋼製扉の側端部の表面上へ延出するカバー部と、
を備える防火設備。
続きを表示(約 460 文字)
【請求項2】
前記回転軸は、前記鋼製扉の幅方向の一端側に設けられる、
請求項1に記載の防火設備。
【請求項3】
前記閉状態において、隣り合う他方の前記鋼製扉の側端部に沿って設けられ、前記カバー部が配置される段状部を備える、
請求項1に記載の防火設備。
【請求項4】
前記鋼製扉の上方に配置され、前記回転軸を介して前記鋼製扉を支持する上側フレームと、
前記上側フレームに設けられ、該上側フレームから下方へ延出し、前記閉状態における前記鋼製扉と対向する遮煙垂れ壁部と、
を備える請求項1に記載の防火設備。
【請求項5】
前記鋼製扉の回転を制限する制限状態と、前記鋼製扉の回転を許容する許容状態とに切り替えられるストッパ装置と、
煙を感知する煙感知器と、
前記煙感知器が煙を感知した場合に、前記ストッパ装置を前記制限状態から前記許容状態に切り替える制御装置と、
を備える請求項1~請求項4の何れか1項に記載の防火設備。
発明の詳細な説明
【技術分野】
【0001】
本発明は、防火設備に関する。
続きを表示(約 900 文字)
【背景技術】
【0002】
水平方向に延びる回転軸を中心として回転する複数の遮蔽板を備える耐火間仕切壁が知られている(例えば、特許文献1参照)。
【0003】
また、水平方向に延びる回転軸を中心として回転する複数の耐火性遮蔽板を備える防火ブラインドが知られている(例えば、特許文献2参照)。
【0004】
さらに、上下方向に延びる回転軸を中心として回転する複数のルーバーを備える防火用のルーバーユニットが知られている(例えば、特許文献3参照)。
【先行技術文献】
【特許文献】
【0005】
特開2002-146949号公報
特開2002-147138号公報
特開2022-120730号公報
【発明の概要】
【発明が解決しようとする課題】
【0006】
特許文献1に開示された耐火間仕切壁では、複数の遮蔽板が水平方向に延びる回転軸を中心として回転するため、これらの遮蔽板の回転軸を支持する縦枠が必要となる。したがって、例えば、開口幅が狭くなる可能性がある。
【0007】
これと同様に、特許文献1に開示された防火ブラインドでは、複数の耐火性遮蔽板が水平方向に延びる回転軸を中心として回転するため、これらの耐火性遮蔽板の回転軸を支持する縦枠が必要となる。したがって、例えば、開口幅が狭くなる可能性がある。
【0008】
一方、特許文献3に開示されたルーバーユニットでは、複数のルーバーが、上下方向に延びる回転軸を中心として回転するため、縦枠を不要にすることができる。
【0009】
しかしながら、特許文献3に開示されたルーバーユニットでは、火災時に、隣り合うルーバーの隙間を煙が通過する可能性があるため、遮煙性能の点で改善の余地がある。
【0010】
本発明は、上記の事実を考慮し、縦枠を不要にしつつ、遮煙性能を高めることを目的とする。
【課題を解決するための手段】
(【0011】以降は省略されています)
この特許をJ-PlatPat(特許庁公式サイト)で参照する
関連特許
株式会社竹中工務店
立体架構
2日前
株式会社竹中工務店
防火設備
18日前
株式会社竹中工務店
吸音構造
3日前
株式会社竹中工務店
補助セット
3日前
株式会社竹中工務店
給湯システム
1か月前
株式会社竹中工務店
管理システム
16日前
株式会社竹中工務店
熱回収システム
1か月前
株式会社竹中工務店
建物の施工方法
26日前
株式会社竹中工務店
木製梁の接合構造
4日前
株式会社竹中工務店
木製梁の接合構造
4日前
株式会社竹中工務店
喫煙室換気システム
24日前
株式会社竹中工務店
冷温水供給システム
2日前
株式会社竹中工務店
冷温水供給システム
2日前
日本製鉄株式会社
耐火構造物
18日前
日本製鉄株式会社
耐火構造物
18日前
日本製鉄株式会社
耐火構造物
18日前
株式会社竹中工務店
床石材設置構造、及び浸透方法
27日前
株式会社竹中工務店
管理システム、及び管理プログラム
10日前
株式会社竹中工務店
表示システム、及び表示プログラム
10日前
株式会社竹中工務店
評価システム、及び評価プログラム
6日前
株式会社竹中工務店
管理システム、及び管理プログラム
3日前
株式会社竹中工務店
情報処理装置、及び情報処理プログラム
18日前
株式会社竹中工務店
CO2固定量評価方法及びセメント量評価方法
16日前
中国電力株式会社
脚立
1か月前
株式会社ESP
止水板
1か月前
株式会社ナカオ
作業台
25日前
三協立山株式会社
構造体
3か月前
三協立山株式会社
構造体
3か月前
三協立山株式会社
開口部装置
1か月前
三協立山株式会社
開口部装置
1か月前
三協立山株式会社
開口部装置
1か月前
三協立山株式会社
開口部装置
27日前
三協立山株式会社
開口部装置
27日前
三協立山株式会社
開口部装置
3か月前
ミサワホーム株式会社
水切り材
1か月前
不二サッシ株式会社
引違いサッシ
1か月前
続きを見る
他の特許を見る