TOP
|
特許
|
意匠
|
商標
特許ウォッチ
Twitter
他の特許を見る
10個以上の画像は省略されています。
公開番号
2025135013
公報種別
公開特許公報(A)
公開日
2025-09-17
出願番号
2025114844,2023563447
出願日
2025-07-08,2021-11-26
発明の名称
量子ビット及び量子演算装置
出願人
富士通株式会社
代理人
弁理士法人ITOH
主分類
H10N
60/12 20230101AFI20250909BHJP()
要約
【課題】遷移金属ダイテルライド層に良好な結晶性を得ることができる量子ビット及び量子演算装置の製造方法を提供する。
【解決手段】量子ビットは、s波超伝導体層と、前記s波超伝導体層上に設けられたTe層と、前記Te層上に設けられた高次トポロジカル絶縁体層と、前記高次トポロジカル絶縁体層上に設けられた第1強磁性絶縁体層と、前記第1強磁性絶縁体層上に設けられた第1ゲート電極と、を有し、前記高次トポロジカル絶縁体層は、第1ヒンジヘリカルチャネルを備えた第1領域と、前記第1ヒンジヘリカルチャネルから離れた第2ヒンジヘリカルチャネルを備えた第2領域と、を有し、前記第1強磁性絶縁体層は、前記第1ヒンジヘリカルチャネル及び前記第2ヒンジヘリカルチャネルを覆う。
【選択図】図7
特許請求の範囲
【請求項1】
s波超伝導体層と、
前記s波超伝導体層上に設けられたTe層と、
前記Te層上に設けられた高次トポロジカル絶縁体層と、
前記高次トポロジカル絶縁体層上に設けられた第1強磁性絶縁体層と、
前記第1強磁性絶縁体層上に設けられた第1ゲート電極と、
を有し、
前記高次トポロジカル絶縁体層は、
第1ヒンジヘリカルチャネルを備えた第1領域と、
前記第1ヒンジヘリカルチャネルから離れた第2ヒンジヘリカルチャネルを備えた第2領域と、
を有し、
前記第1強磁性絶縁体層は、前記第1ヒンジヘリカルチャネル及び前記第2ヒンジヘリカルチャネルを覆うことを特徴とする量子ビット。
続きを表示(約 1,000 文字)
【請求項2】
前記第1ヒンジヘリカルチャネルと前記第2ヒンジヘリカルチャネルとの間の磁束の変化を検出する第1超伝導量子干渉計を有することを特徴とする請求項1に記載の量子ビット。
【請求項3】
前記高次トポロジカル絶縁体層は、前記第1ヒンジヘリカルチャネル及び前記第2ヒンジヘリカルチャネルから離れた第3ヒンジヘリカルチャネルを備えた第3領域を有し、
前記第2ヒンジヘリカルチャネル及び前記第3ヒンジヘリカルチャネルを覆う第2強磁性絶縁体層と、
前記第2強磁性絶縁体層上に設けられた第2ゲート電極と、
前記第3ヒンジヘリカルチャネル及び前記第1ヒンジヘリカルチャネルを覆う第3強磁性絶縁体層と、
前記第3強磁性絶縁体層上に設けられた第3ゲート電極と、
を有することを特徴とする請求項1又は2に記載の量子ビット。
【請求項4】
第2超伝導量子干渉計と、
第3超伝導量子干渉計と、
を有し、
第2超伝導量子干渉計は、前記第2ヒンジヘリカルチャネルと前記第3ヒンジヘリカルチャネルとの間の磁束の変化を検出し、
第3超伝導量子干渉計は、前記第3ヒンジヘリカルチャネルと前記第1ヒンジヘリカルチャネルとの間の磁束の変化を検出することを特徴とする請求項3に記載の量子ビット。
【請求項5】
前記高次トポロジカル絶縁体層に、
前記第1領域と前記第2領域とを画定する第1溝と、
前記第2領域と前記第3領域とを画定する第2溝と、
前記第3領域と前記第1領域とを画定する第3溝と、
が形成されていることを特徴とする請求項3又は4に記載の量子ビット。
【請求項6】
前記第1溝及び前記第3溝は、共通の第1方向に延び、
前記第2溝は、前記第1方向に垂直な第2方向に延び、
前記第1溝、前記第2溝及び前記第3溝が繋がっていることを特徴とする請求項5に記載の量子ビット。
【請求項7】
前記高次トポロジカル絶縁体層は、Mo、Nb、W、Ta、Ti、Zr、Fe、Pd、Ir又はPtを含むことを特徴とする請求項1乃至6のいずれか1項に記載の量子ビット。
【請求項8】
請求項1乃至7のいずれか1項に記載の量子ビットを含むことを特徴とする量子演算装置。
発明の詳細な説明
【技術分野】
【0001】
本開示は、量子ビット及び量子演算装置に関する。
続きを表示(約 2,400 文字)
【背景技術】
【0002】
マヨラナ粒子を用いた量子演算装置についての研究が行われている。マヨラナ粒子を発生させる構造として、二次元トポロジカル絶縁体とs波超伝導体とを組み合わせた構造が提案されている。二次元トポロジカル絶縁体としては、遷移金属ダイテルライドの層状物質であるWTe
2
の単層膜が用いられている。また、多層WTe
2
からなる高次トポロジカル絶縁体層についての研究も行われている。
【先行技術文献】
【特許文献】
【0003】
米国特許出願公開第2019/0131129号明細書
特開2018-9201号公報
【非特許文献】
【0004】
N. Read and D. Green, Phys. Rev. B 61, 10267 (2000)
V. Mourik et al., Science 336, 25 (2012)
J. Alicea, Rep. Prog. Phys. 75, 076501 (2012)
S. Wu et al., Science 359, 76 (2018)
Y.-B. Choi et al., Nat. Mater 19, 974 (2020)
【発明の概要】
【発明が解決しようとする課題】
【0005】
これまで理論に基づく提案はされているものの、結晶性が良好なWTe
2
等の遷移金属ダイテルライド層を安定して得ることは容易ではない。
【0006】
本開示の目的は、遷移金属ダイテルライド層に良好な結晶性を得ることができる量子ビット及び量子演算装置を提供することにある。
【課題を解決するための手段】
【0007】
本開示の一形態によれば、s波超伝導体層と、前記s波超伝導体層上に設けられたTe層と、前記Te層上に設けられた高次トポロジカル絶縁体層と、前記高次トポロジカル絶縁体層上に設けられた第1強磁性絶縁体層と、前記第1強磁性絶縁体層上に設けられた第1ゲート電極と、を有し、前記高次トポロジカル絶縁体層は、第1ヒンジヘリカルチャネルを備えた第1領域と、前記第1ヒンジヘリカルチャネルから離れた第2ヒンジヘリカルチャネルを備えた第2領域と、を有し、前記第1強磁性絶縁体層は、前記第1ヒンジヘリカルチャネル及び前記第2ヒンジヘリカルチャネルを覆う量子ビットが提供される。
【発明の効果】
【0008】
本開示によれば、遷移金属ダイテルライド層に良好な結晶性を得ることができる。
【図面の簡単な説明】
【0009】
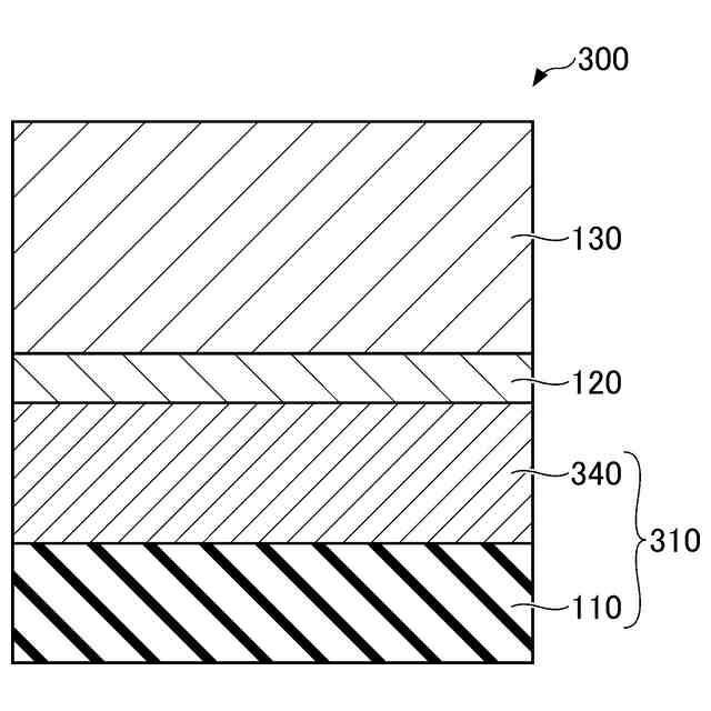
図1は、第1実施形態に係る構造体を示す断面図である。
図2は、第1実施形態に関するラマン分光測定の結果を示す図である。
図3は、第2実施形態に係る構造体を示す断面図である。
図4は、第2実施形態に関するラマン分光測定の結果を示す図である。
図5は、第3実施形態に係る構造体を示す断面図である。
図6は、第3実施形態に関するラマン分光測定の結果を示す図である。
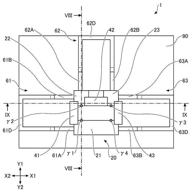
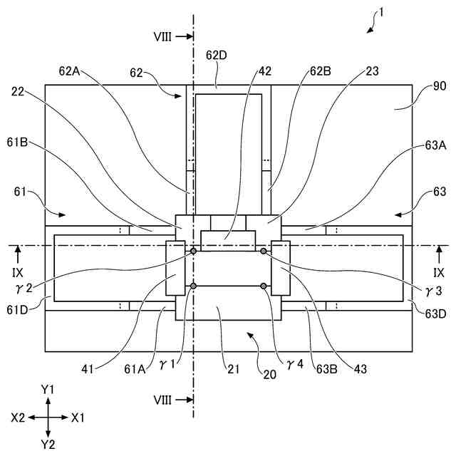
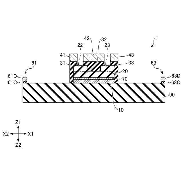
図7は、第4実施形態に係る量子ビットを示す上面図である。
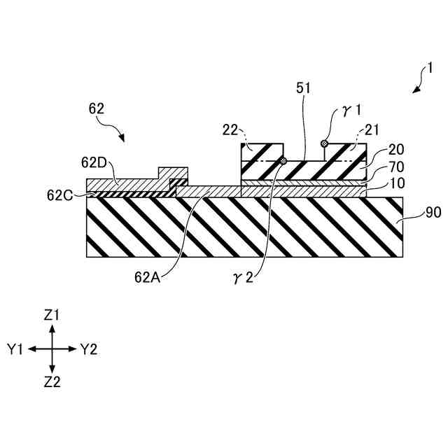
図8は、第4実施形態に係る量子ビットを示す断面図(その1)である。
図9は、第4実施形態に係る量子ビットを示す断面図(その2)である。
図10は、高次トポロジカル絶縁体層を示す斜視図である。
図11は、第4実施形態に係る量子ビットの製造方法を示す上面図(その1)である。
図12は、第4実施形態に係る量子ビットの製造方法を示す上面図(その2)である。
図13は、第4実施形態に係る量子ビットの製造方法を示す上面図(その3)である。
図14は、第4実施形態に係る量子ビットの製造方法を示す上面図(その4)である。
図15は、第4実施形態に係る量子ビットの製造方法を示す上面図(その5)である。
図16は、第4実施形態に係る量子ビットの製造方法を示す上面図(その6)である。
図17は、第4実施形態に係る量子ビットの製造方法を示す断面図(その1)である。
図18は、第4実施形態に係る量子ビットの製造方法を示す断面図(その2)である。
図19は、第4実施形態に係る量子ビットの製造方法を示す断面図(その3)である。
図20は、第4実施形態に係る量子ビットの製造方法を示す断面図(その4)である。
図21は、第4実施形態に係る量子ビットの製造方法を示す断面図(その5)である。
図22は、第4実施形態に係る量子ビットの製造方法を示す断面図(その6)である。
図23は、第5実施形態に係る量子演算装置を示す図である。
【発明を実施するための形態】
【0010】
以下、本開示の実施形態について添付の図面を参照しながら具体的に説明する。なお、本明細書及び図面において、実質的に同一の機能構成を有する構成要素については、同一の符号を付することにより重複した説明を省くことがある。本開示においては、X1-X2方向、Y1-Y2方向、Z1-Z2方向を相互に直交する方向とする。X1-X2方向及びY1-Y2方向を含む面をXY面と記載し、Y1-Y2方向及びZ1-Z2方向を含む面をYZ面と記載し、Z1-Z2方向及びX1-X2方向を含む面をZX面と記載する。なお、便宜上、Z1-Z2方向を上下方向とし、Z1側を上側、Z2側を下側とする。また、平面視とは、Z1側から対象物を視ることをいい、平面形状とは、対象物をZ1側から視た形状のことをいう。
(【0011】以降は省略されています)
この特許をJ-PlatPat(特許庁公式サイト)で参照する
関連特許
富士通株式会社
周波数変換器
7日前
富士通株式会社
行列演算回路
4日前
富士通株式会社
冷却装置及び電子機器
4日前
富士通株式会社
ハイブリッド光増幅器
1か月前
富士通株式会社
通信制御装置及び移動中継装置
1日前
富士通株式会社
演算処理装置及び演算処理方法
15日前
富士通株式会社
動的多次元メディアコンテンツ投影
14日前
富士通株式会社
異常予測方法および異常予測プログラム
14日前
富士通株式会社
視線誘導方法および視線誘導プログラム
1か月前
富士通株式会社
生成人工知能を使用したデータセット符号化
25日前
富士通株式会社
管理装置、管理方法、および管理プログラム
2日前
富士通株式会社
演算システムおよび演算システムの制御方法
22日前
富士通株式会社
シストリック型の演算アレイ装置及び制御方法
16日前
富士通株式会社
予測プログラム、予測方法および情報処理装置
16日前
富士通株式会社
推定プログラム、推定方法および情報処理装置
1か月前
富士通株式会社
画像を記述する構造化テキストを生成する方法
1か月前
富士通株式会社
交通シミュレーションのための方法および装置
14日前
富士通株式会社
推定プログラム、推定方法および情報処理装置
1か月前
富士通株式会社
プログラム、情報処理方法および情報処理装置
今日
富士通株式会社
演算装置、情報処理装置及び演算装置の制御方法
16日前
富士通株式会社
制御プログラム、制御方法、および情報処理装置
2日前
富士通株式会社
情報処理プログラム、情報処理装置及び情報処理方法
22日前
富士通株式会社
異常検出プログラム、異常検出方法及び情報処理装置
14日前
富士通株式会社
光送信機アナログ特性の監視装置と方法及び光送信機
25日前
富士通株式会社
レース内容再現方法およびレース内容再現プログラム
24日前
富士通株式会社
予測制御プログラム、情報処理装置および予測制御方法
1か月前
富士通株式会社
情報処理プログラム,情報処理方法および情報処理装置
23日前
富士通株式会社
施策特定プログラム、施策特定方法および情報処理装置
今日
富士通株式会社
施策特定プログラム、施策特定方法および情報処理装置
14日前
富士通株式会社
機械学習プログラム、機械学習方法および情報処理装置
今日
富士通株式会社
情報処理プログラム、情報処理方法、および情報処理装置
今日
富士通株式会社
情報処理プログラム、情報処理方法、および情報処理装置
7日前
富士通株式会社
情報処理プログラム、情報処理方法、および情報処理装置
28日前
富士通株式会社
情報処理プログラム、情報処理方法、および情報処理装置
7日前
富士通株式会社
データ生成プログラム、データ生成装置、及びデータ生成方法
2日前
富士通株式会社
量子計算支援プログラム、量子計算支援方法、および情報処理装置
1日前
続きを見る
他の特許を見る