TOP
|
特許
|
意匠
|
商標
特許ウォッチ
Twitter
他の特許を見る
10個以上の画像は省略されています。
公開番号
2025137162
公報種別
公開特許公報(A)
公開日
2025-09-19
出願番号
2024036212
出願日
2024-03-08
発明の名称
施策特定プログラム、施策特定方法および情報処理装置
出願人
富士通株式会社
代理人
弁理士法人酒井国際特許事務所
主分類
G06Q
50/40 20240101AFI20250911BHJP(計算;計数)
要約
【課題】施策の選択精度を向上させることを課題とする。
【解決手段】情報処理装置は、予測モデルの特性に基づいて、検討対象の複数の社会施策に対するフィルタリング処理を実行する。情報処理装置は、フィルタリング処理が実行された1以上の社会施策のシミュレーションの結果に基づいて、検討対象の複数の社会施策の中から、実施対象の社会施策を特定する。
【選択図】図6
特許請求の範囲
【請求項1】
コンピュータに、
予測モデルの特性に基づいて、検討対象の複数の社会施策に対するフィルタリング処理を実行し、
前記フィルタリング処理が実行された1以上の社会施策のシミュレーションの結果に基づいて、前記検討対象の複数の社会施策の中から、実施対象の社会施策を特定する、
処理を実行させる施策特定プログラム。
続きを表示(約 2,100 文字)
【請求項2】
前記予測モデルは、機械学習を用いて、シミュレーションを代替するモデルであり、
前記フィルタリング処理は、前記シミュレーションを代替する機械学習モデルを用いて、前記検討対象の複数の社会施策の中から、前記フィルタリング処理が実行された1以上の社会施策を特定し、
前記特定する処理は、前記フィルタリング処理が実行された1以上の社会施策に対する、前記シミュレーションの実行結果に基づいて、前記実施対象の社会施策を特定する、
請求項1に記載の施策特定プログラム。
【請求項3】
機械学習により訓練された前記予測モデルを用いて、前記検討対象の社会施策の中から、前記予測モデルを訓練した学習データに関連する施策を取得し、
取得した前記学習データに関連する施策を前記予測モデルで評価し、
前記予測モデルでの評価結果に基づいて、前記社会施策のシミュレーションを実施する、
請求項1に記載の施策特定プログラム。
【請求項4】
過去データから作られた前記予測モデルの学習データの分布を解析し、
評価される社会施策が前記予測モデルの学習データ分布の範囲内であるか範囲外かを判定し、
前記学習データ分布の範囲内である場合は、前記予測モデルで社会施策を評価した後に、前記予測モデルによる予測結果が高い施策のみを前記社会施策のシミュレーションで再評価し、
前記学習データ分布の範囲外である場合は、前記社会施策のシミュレーションで施策を評価する、
請求項1に記載の施策特定プログラム。
【請求項5】
理論モデルを用いて理論的に算出された拡張データを生成し、
前記拡張データを学習データに用いて、サロゲートモデルの機械学習を実行し、
過去データから生成された学習データを用いて、前記拡張データを用いて学習済みである前記サロゲートモデルのファインチューニングを実行する、処理を前記コンピュータに実行させ、
前記フィルタリング処理は、
前記ファインチューニング後の前記サロゲートモデルの特性に基づいて、前記検討対象の複数の社会施策に対する前記フィルタリング処理を実行する、
請求項1に記載の施策特定プログラム。
【請求項6】
前記複数の社会施策は、所定エリアの道路ネットワークにおけるノード間のリンクの混雑の発生および拡大を回避する施策データであり、
前記理論モデルは、所定の交通需要下での均衡流を算出する理論モデルである、
請求項5に記載の施策特定プログラム。
【請求項7】
過去データから生成された学習データと、学習データとの一致度および対象ドメインの法則との一致度を評価する誤差関数とを用いて、サロゲートモデルの機械学習を実行する、処理を前記コンピュータに実行させ、
前記フィルタリング処理は、
前記学習データおよび前記誤差関数を用いて学習された前記サロゲートモデルの特性に基づいて、前記検討対象の複数の社会施策に対する前記フィルタリング処理を実行する、
請求項1に記載の施策特定プログラム。
【請求項8】
前記複数の社会施策は、所定エリアの道路ネットワークにおけるノード間のリンクの混雑の発生および拡大を回避する施策データであり、
前記誤差関数は、前記学習データとの一致度と、前記道路ネットワーク内の交差点への交通の流出に関するフロー保存則とを満たす誤差関数である、
請求項7に記載の施策特定プログラム。
【請求項9】
前記フィルタリング処理を実行する処理は、
所定のエリアに適用される候補となる複数の社会施策データを取得し、
機械学習により訓練された前記予測モデルを用いて、取得した前記複数の社会施策データに対する前記フィルタリング処理を実行し、
前記特定する処理は、
シミュレータを用いて、前記フィルタリング処理が実行された1以上の社会施策データのシミュレーションの結果を示す、前記所定のエリアの状態を予測し、
予測された前記所定のエリアの状態に基づいて、前記所定のエリアに適用される社会施策データを特定する、
請求項1に記載の施策特定プログラム。
【請求項10】
前記予測モデルは、交通シミュレータのシミュレーションを代替する機械学習モデルであり、
社会施策データは、前記所定のエリアに適用される交通施策であって、当該所定のエリアでの混雑度を解消する施策を示すデータであり、
前記社会施策データのシミュレーションは、前記交通シミュレータを用いて、前記所定のエリアにおける混雑度を予測し、
算出された前記混雑度に基づいて、前記所定のエリアに適用される社会施策データを特定する
請求項9に記載の施策特定プログラム。
(【請求項11】以降は省略されています)
発明の詳細な説明
【技術分野】
【0001】
本発明は、施策特定プログラム、施策特定方法および情報処理装置に関する。
続きを表示(約 1,800 文字)
【背景技術】
【0002】
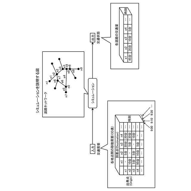
施策分析は、さまざまな場面で必要とされており、シミュレーションの一例である社会シミュレーションを用いて施策分析を高度化することが行われている。例えば、施策分析とは、イベント時の特別バスの運行スケジュールを決める場面において、社会インフラの運営者が混雑の発生や拡大を回避できる運行スケジュールを知るために、発着時間等のさまざまな設定を変化させた選択肢を列挙してそれらの善し悪しを検討することなどが該当する。
【0003】
また、社会シミュレーションとは、交通システムなどの社会システムを計算可能な形で模擬したものあり、社会シミュレーションを用いることで、施策の定量的な評価を実行し、施策分析を高度化できる。しかし、社会シミュレーションは、計算時間が長くかかるので、施策を網羅的に評価し最適な施策を見つける施策最適化が難しい。
【0004】
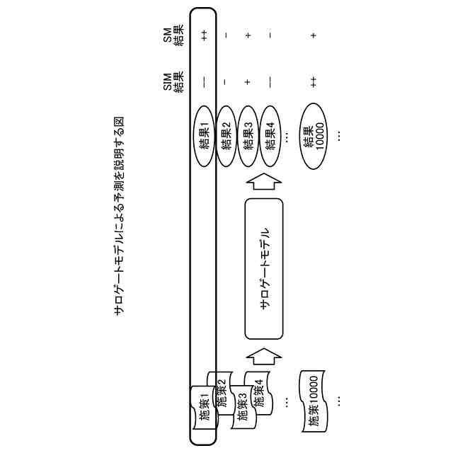
近年では、シミュレーションよりも精度が劣るが計算時間が短いシミュレーションの代替モデルの一例であるサロゲートモデルが知られている。また、複雑な社会シミュレーションの代理モデルの生成技術としては、多量の社会データをニューラルネットワークで学習させた学習済みモデルを代理モデルとする技術が知られている。
【先行技術文献】
【特許文献】
【0005】
特開2023-113928号公報
特開2021-157456号公報
特開2022-3451号公報
米国特許出願公開第2018/0112498号明細書
【発明の概要】
【発明が解決しようとする課題】
【0006】
しかしながら、上記サロゲートモデルなどの代理モデルでは、最適な施策を見つけることが難しい。例えば、サロゲートモデルであれば、短時間で施策を網羅的に評価することができるものの、シミュレーションよりは精度が劣ることから、必ずしも良い施策を見つけられるとは限らない。
【0007】
一つの側面では、施策の選択精度を向上させることができる施策特定プログラム、施策特定方法および情報処理装置を提供することを目的とする。
【課題を解決するための手段】
【0008】
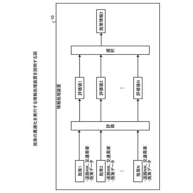
第1の案では、施策特定プログラムは、コンピュータに、予測モデルの特性に基づいて、検討対象の複数の社会施策に対するフィルタリング処理を実行し、前記フィルタリング処理が実行された1以上の社会施策のシミュレーションの結果に基づいて、前記検討対象の複数の社会施策の中から、実施対象の社会施策を特定する、処理を実行させる。
【発明の効果】
【0009】
一実施形態によれば、施策の選択精度を向上させることができる。
【図面の簡単な説明】
【0010】
図1は、施策の最適化を実行する情報処理装置を説明する図である。
図2は、シミュレーションを説明する図である。
図3は、シミュレーションによる予測を説明する図である。
図4は、サロゲートモデルを説明する図である。
図5は、サロゲートモデルによる予測を説明する図である。
図6は、実施例1にかかる情報処理装置による施策最適化システムを説明する図である。
図7は、実施例1にかかる情報処理装置の機能構成を示す機能ブロック図である。
図8は、サロゲートモデルの訓練を説明する図である。
図9は、予測処理を説明する図である。
図10は、サロゲートモデルによる事前フィルタリングを説明する図である。
図11は、サロゲートモデルによる事前フィルタリングを説明する図である。
図12は、シミュレーションによる施策特定を説明する図である。
図13は、施策最適化システムの流れを示すフローチャートである。
図14は、サロゲートモデルに用いる学習データの一般的な拡張例を説明する図である。
図15は、サロゲートモデルの精度向上を図る学習処理1を説明する図である。
図16は、サロゲートモデルの精度向上を図る学習処理2を説明する図である。
図17は、デジタルツインを用いた例を説明する図である。
図18は、ハードウェア構成例を説明する図である。
【発明を実施するための形態】
(【0011】以降は省略されています)
この特許をJ-PlatPat(特許庁公式サイト)で参照する
関連特許
富士通株式会社
周波数変換器
10日前
富士通株式会社
行列演算回路
7日前
富士通株式会社
医用画像処理方法
2か月前
富士通株式会社
冷却装置及び電子機器
7日前
富士通株式会社
ハイブリッド光増幅器
1か月前
富士通株式会社
転倒検出方法及び装置
1か月前
富士通株式会社
量子デバイスの製造方法
1か月前
富士通株式会社
量子ビットデバイスの製造方法
2か月前
富士通株式会社
演算処理装置及び演算処理方法
18日前
富士通株式会社
通信制御装置及び移動中継装置
4日前
富士通株式会社
動的多次元メディアコンテンツ投影
17日前
富士通株式会社
ポイントクラウドレジストレーション
1か月前
富士通株式会社
異常予測方法および異常予測プログラム
17日前
富士通株式会社
視線誘導方法および視線誘導プログラム
1か月前
富士通株式会社
データ転送制御装置および情報処理装置
1か月前
富士通株式会社
データ転送制御装置および情報処理装置
1か月前
富士通株式会社
演算システムおよび演算システムの制御方法
25日前
富士通株式会社
生成人工知能を使用したデータセット符号化
28日前
富士通株式会社
管理装置、管理方法、および管理プログラム
5日前
富士通株式会社
描画プログラム、描画方法および情報処理装置
2か月前
富士通株式会社
学習プログラム、学習方法および情報処理装置
2か月前
富士通株式会社
学習プログラム、学習方法、及び情報処理装置
1か月前
富士通株式会社
交通シミュレーションのための方法および装置
17日前
富士通株式会社
プログラム、情報処理方法および情報処理装置
3日前
富士通株式会社
推定プログラム、推定方法および情報処理装置
1か月前
富士通株式会社
画像を記述する構造化テキストを生成する方法
1か月前
富士通株式会社
予測プログラム、予測方法および情報処理装置
19日前
富士通株式会社
シストリック型の演算アレイ装置及び制御方法
19日前
富士通株式会社
推定プログラム、推定方法および情報処理装置
1か月前
富士通株式会社
電源制御回路,情報処理装置および電源制御方法
1か月前
富士通株式会社
演算プログラム、演算方法、および情報処理装置
2か月前
富士通株式会社
データ処理装置、プログラム及びデータ処理方法
2か月前
富士通株式会社
制御プログラム、制御方法、および情報処理装置
5日前
富士通株式会社
演算装置、情報処理装置及び演算装置の制御方法
19日前
富士通株式会社
光送信機アナログ特性の監視装置と方法及び光送信機
28日前
富士通株式会社
情報処理プログラム、情報処理方法及び情報処理装置
1か月前
続きを見る
他の特許を見る