TOP
|
特許
|
意匠
|
商標
特許ウォッチ
Twitter
他の特許を見る
10個以上の画像は省略されています。
公開番号
2025137391
公報種別
公開特許公報(A)
公開日
2025-09-19
出願番号
2024231383
出願日
2024-12-26
発明の名称
異常検出プログラム、異常検出方法及び情報処理装置
出願人
富士通株式会社
,
ビー.ジー.ネゲブ テクノロジーズ アンド アプリケーションズ リミテッド, アット ベン‐グリオン ユニバーシティー
代理人
弁理士法人酒井国際特許事務所
主分類
G06T
7/00 20170101AFI20250911BHJP(計算;計数)
要約
【課題】任意のタイプの異常を検出することを課題とする。
【解決手段】異常検出プログラムは、物体検出モデルへの入力シーンから検出された物体検出結果と、XAI技術によって得られる入力シーンに対する顕著性マップとに基づいて、入力シーン全体に対する顕著性マップの値を示す第1の値及び入力シーンにおける検出された物体の領域以外の領域における顕著性マップの値を示す第2の値を算出し、算出された第1の値及び第2の値に基づいて、入力シーンの異常を検出する、処理をコンピュータに実行させる。
【選択図】図3
特許請求の範囲
【請求項1】
物体検出モデルへの入力シーンから検出された物体検出結果と、XAI技術によって得られる前記入力シーンに対する顕著性マップとに基づいて、前記入力シーン全体に対する顕著性マップの値を示す第1の値及び前記入力シーンにおける前記検出された物体の領域以外の領域における顕著性マップの値を示す第2の値を算出し、
算出された前記第1の値及び前記第2の値に基づいて、前記入力シーンの異常を検出する、
処理をコンピュータに実行させる異常検出プログラム。
続きを表示(約 1,000 文字)
【請求項2】
前記算出する処理は、前記第1の値及び前記第2の値に基づいて第3の値を算出する処理を含み、
前記検出する処理は、前記第3の値に基づいて前記入力シーンの異常を検出する処理を含む、請求項1に記載の異常検出プログラム。
【請求項3】
前記第3の値は、前記第1の値及び前記第2の値の偏差である請求項2に記載の異常検出プログラム。
【請求項4】
前記XAI技術は、活性値ベースまたは勾配ベースの顕著性マップ出力技術である請求項1に記載の異常検出プログラム。
【請求項5】
One-Stage型の前記物体検出モデルのうち、NMS(Non-Maximum Suppression)が適用された後のレイヤの前記顕著性マップを生成する処理を前記コンピュータにさらに実行させる請求項1に記載の異常検出プログラム。
【請求項6】
Two-Stage型またはMulti-Stage型の前記物体検出モデルのうち、RPN(Region Proposal Network)コンポーネントの最終層の前記顕著性マップを生成する処理を前記コンピュータにさらに実行させる請求項1に記載の異常検出プログラム。
【請求項7】
物体検出モデルへの入力シーンから検出された物体検出結果と、XAI技術によって得られる前記入力シーンに対する顕著性マップとに基づいて、前記入力シーン全体に対する顕著性マップの値を示す第1の値及び前記入力シーンにおける前記検出された物体の領域以外の領域における顕著性マップの値を示す第2の値を算出し、
算出された前記第1の値及び前記第2の値に基づいて、前記入力シーンの異常を検出する、
処理をコンピュータが実行する異常検出方法。
【請求項8】
物体検出モデルへの入力シーンから検出された物体検出結果と、XAI技術によって得られる前記入力シーンに対する顕著性マップとに基づいて、前記入力シーン全体に対する顕著性マップの値を示す第1の値及び前記入力シーンにおける前記検出された物体の領域以外の領域における顕著性マップの値を示す第2の値を算出し、
算出された前記第1の値及び前記第2の値に基づいて、前記入力シーンの異常を検出する、
処理を実行する制御部を有する情報処理装置。
発明の詳細な説明
【技術分野】
【0001】
本発明は、異常検出プログラム、異常検出方法及び情報処理装置に関する。
続きを表示(約 1,700 文字)
【背景技術】
【0002】
画像データの入力に応じて、画像データに写る物体の領域や画像データに写る物体の情報(ラベル)などを出力する物体検出モデル(OD:Object Detector)が知られている。物体検出モデルは、リテール分野、不審者検出の分野など様々な分野で、画像データの一例である入力シーンの入力に応じて、様々な物体を検出することに利用されている。例えば、小売店などでユーザが手に取った商品や購入した商品を特定する物体検出モデル、空港で不審物を検出する物体検出モデルなどが利用されている。
【0003】
このような物体検出モデルへの入力シーンに異常が含まれる場合がある。この「異常」は、攻撃者が意図的に敵対的パッチ(Adversarial Patch)を含めることで発生する場合もあれば、別のオブジェクトまたは認識されないオブジェクトによりオブジェクトが隠されることにより自然に発生する場合もある。
【0004】
意図的なパッチ攻撃の検出は、例えば、敵対的パッチを含む訓練データを用いて敵対的パッチが含まれるシーンを攻撃があったことを示す新しいクラス(敵対的クラス)に分類するように訓練をすることで実現できる。
【先行技術文献】
【非特許文献】
【0005】
Ji, N.; Feng, Y.; Xie, H.; Xiang, X.; and Liu,「Adversarial YOLO:Defense Human Detection Patch Attacks via Detecting Adversarial Patches.」,2021,arXiv preprint arXiv:2103.08860.
【発明の概要】
【発明が解決しようとする課題】
【0006】
しかしながら、異常のタイプごとに特化したアルゴリズムが設計される現状では、ターゲットとするタイプ以外の異常を検出するのが難しい側面がある。他方、リテールや不審者検出などの各種の分野で実用化される現場では、物体検出モデルへの入力シーンに含まれる異常のタイプが不明である場合も少なくない。このため、上記技術には、任意のタイプの異常を検出するという点で改善の余地がある。
【0007】
1つの側面では、任意のタイプの異常を検出できる異常検出プログラム、異常検出方法及び情報処理装置を提供することを目的とする。
【課題を解決するための手段】
【0008】
第1の案では、物体検出モデルへの入力シーンから検出された物体検出結果と、XAI技術によって得られる前記入力シーンに対する顕著性マップとに基づいて、前記入力シーン全体に対する顕著性マップの値を示す第1の値及び前記入力シーンにおける前記検出された物体の領域以外の領域における顕著性マップの値を示す第2の値を算出し、算出された前記第1の値及び前記第2の値に基づいて、前記入力シーンの異常を検出する、処理をコンピュータに実行させる。
【発明の効果】
【0009】
一実施形態によれば、任意のタイプの異常を検出できる。
【図面の簡単な説明】
【0010】
図1は、システム構成例を示す図である。
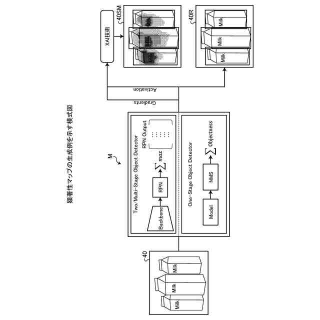
図2は、課題解決アプローチの一側面を示す模式図である。
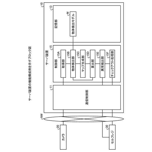
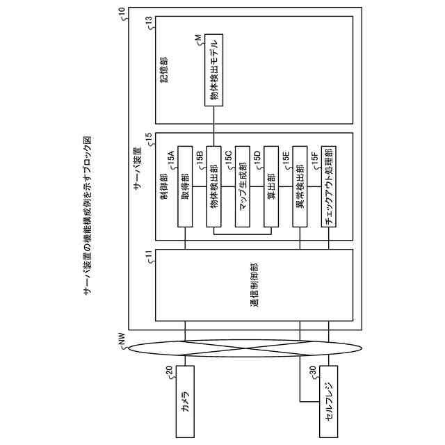
図3は、サーバ装置の機能構成例を示すブロック図である。
図4は、物体検出の一例を示す模式図である。
図5は、顕著性マップの生成例を示す模式図である。
図6は、DiLスコアの算出例を示す模式図(1)である。
図7は、DiLスコアの算出例を示す模式図(2)である。
図8は、DiLスコアの算出例を示す模式図(3)である。
図9は、DiLスコアの算出例を示す模式図(4)である。
図10は、異常検出処理の手順を示すフローチャートである。
図11は、ハードウェア構成例を示す図である。
【発明を実施するための形態】
(【0011】以降は省略されています)
この特許をJ-PlatPat(特許庁公式サイト)で参照する
関連特許
富士通株式会社
周波数変換器
7日前
富士通株式会社
行列演算回路
4日前
富士通株式会社
冷却装置及び電子機器
4日前
富士通株式会社
ハイブリッド光増幅器
1か月前
富士通株式会社
演算処理装置及び演算処理方法
15日前
富士通株式会社
通信制御装置及び移動中継装置
1日前
富士通株式会社
動的多次元メディアコンテンツ投影
14日前
富士通株式会社
異常予測方法および異常予測プログラム
14日前
富士通株式会社
視線誘導方法および視線誘導プログラム
1か月前
富士通株式会社
演算システムおよび演算システムの制御方法
22日前
富士通株式会社
管理装置、管理方法、および管理プログラム
2日前
富士通株式会社
生成人工知能を使用したデータセット符号化
25日前
富士通株式会社
予測プログラム、予測方法および情報処理装置
16日前
富士通株式会社
画像を記述する構造化テキストを生成する方法
1か月前
富士通株式会社
推定プログラム、推定方法および情報処理装置
1か月前
富士通株式会社
交通シミュレーションのための方法および装置
14日前
富士通株式会社
シストリック型の演算アレイ装置及び制御方法
16日前
富士通株式会社
制御プログラム、制御方法、および情報処理装置
2日前
富士通株式会社
演算装置、情報処理装置及び演算装置の制御方法
16日前
富士通株式会社
情報処理プログラム、情報処理装置及び情報処理方法
22日前
富士通株式会社
レース内容再現方法およびレース内容再現プログラム
24日前
富士通株式会社
光送信機アナログ特性の監視装置と方法及び光送信機
25日前
富士通株式会社
異常検出プログラム、異常検出方法及び情報処理装置
14日前
富士通株式会社
予測制御プログラム、情報処理装置および予測制御方法
1か月前
富士通株式会社
施策特定プログラム、施策特定方法および情報処理装置
14日前
富士通株式会社
情報処理プログラム,情報処理方法および情報処理装置
23日前
富士通株式会社
情報処理プログラム、情報処理方法、および情報処理装置
28日前
富士通株式会社
情報処理プログラム、情報処理方法、および情報処理装置
7日前
富士通株式会社
情報処理プログラム、情報処理方法、および情報処理装置
7日前
富士通株式会社
データ生成プログラム、データ生成装置、及びデータ生成方法
2日前
富士通株式会社
量子計算支援プログラム、量子計算支援方法、および情報処理装置
1日前
富士通株式会社
量子計算制御プログラム、量子計算制御方法、および情報処理装置
25日前
富士通株式会社
量子回路軽量化プログラム、情報処理装置及び量子回路軽量化方法
15日前
富士通株式会社
情報処理装置、情報処理方法及びコンピュータ読み取り可能な記憶媒体
4日前
NTT株式会社
情報処理システム、情報処理装置および情報処理方法
1日前
富士通株式会社
アルゴリズム選択プログラム、アルゴリズム選択方法および情報処理装置
24日前
続きを見る
他の特許を見る