TOP
|
特許
|
意匠
|
商標
特許ウォッチ
Twitter
他の特許を見る
10個以上の画像は省略されています。
公開番号
2025145553
公報種別
公開特許公報(A)
公開日
2025-10-03
出願番号
2024045781
出願日
2024-03-21
発明の名称
情報処理プログラム、情報処理方法、および情報処理装置
出願人
富士通株式会社
代理人
個人
主分類
G06N
10/60 20220101AFI20250926BHJP(計算;計数)
要約
【課題】組み合わせ最適化問題を解き易くすること。
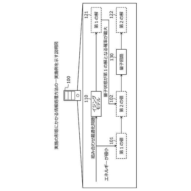
【解決手段】情報処理装置100は、QAOAの量子回路130の量子状態に対応するエネルギーが極小になるよう、量子回路130のパラメータの第1の値101を決定する。情報処理装置100は、取得した組み合わせ最適化問題に対応するイジングモデル110に基づいて、組み合わせ最適化問題の第1の解121を算出する。情報処理装置100は、設定した量子回路130の量子状態が、算出した第1の解121になる確率が最大になるよう、決定した量子回路130のパラメータの第1の値101から、量子回路130のパラメータの第2の値102を決定する。情報処理装置100は、決定したパラメータの第2の値102を設定した量子回路130に基づいて、組み合わせ最適化問題の第2の解122を算出する。
【選択図】図1
特許請求の範囲
【請求項1】
組み合わせ最適化問題に対応する量子近似最適化アルゴリズムの量子回路に関し、前記量子回路の量子状態に対応するエネルギーが極小になるよう、前記量子近似最適化アルゴリズムのパラメータの第1の値を決定し、
前記組み合わせ最適化問題に対応するイジングモデルに基づいて、前記組み合わせ最適化問題の第1の解を算出し、
前記量子回路の量子状態が、算出した前記第1の解になる確率が最大になるよう、決定した前記パラメータの第1の値から、前記パラメータの第2の値を決定し、
決定した前記パラメータの第2の値を設定した、前記量子回路に基づいて、前記組み合わせ最適化問題の第2の解を算出する、
処理をコンピュータに実行させることを特徴とする情報処理プログラム。
続きを表示(約 1,100 文字)
【請求項2】
算出した前記第2の解に基づいて、前記量子回路の量子状態に対応するエネルギーが極小になるよう、前記パラメータの第1の値を新たに算出し、
算出した前記第2の解を初期値に設定した、前記イジングモデルに基づいて、前記組み合わせ最適化問題の第1の解を新たに算出し、
前記量子回路の量子状態が、新たに算出した前記第1の解になる確率が最大になるよう、新たに決定した前記パラメータの第1の値から、前記パラメータの第2の値を新たに決定し、
新たに決定した前記パラメータの第2の値を設定した、前記量子回路に基づいて、前記組み合わせ最適化問題の第2の解を新たに算出する、
処理を所定の条件を満たすまで前記コンピュータに繰り返し実行させることを特徴とする請求項1に記載の情報処理プログラム。
【請求項3】
前記所定の条件は、前記第2の解を所定の回数算出することである、ことを特徴とする請求項2に記載の情報処理プログラム。
【請求項4】
組み合わせ最適化問題に対応する量子近似最適化アルゴリズムの量子回路に関し、前記量子回路の量子状態に対応するエネルギーが極小になるよう、前記量子近似最適化アルゴリズムのパラメータの第1の値を決定し、
前記組み合わせ最適化問題に対応するイジングモデルに基づいて、前記組み合わせ最適化問題の第1の解を算出し、
前記量子回路の量子状態が、算出した前記第1の解になる確率が最大になるよう、決定した前記パラメータの第1の値から、前記パラメータの第2の値を決定し、
決定した前記パラメータの第2の値を設定した、前記量子回路に基づいて、前記組み合わせ最適化問題の第2の解を算出する、
処理をコンピュータが実行することを特徴とする情報処理方法。
【請求項5】
組み合わせ最適化問題に対応する量子近似最適化アルゴリズムの量子回路に関し、前記量子回路の量子状態に対応するエネルギーが極小になるよう、前記量子近似最適化アルゴリズムのパラメータの第1の値を決定し、
前記組み合わせ最適化問題に対応するイジングモデルに基づいて、前記組み合わせ最適化問題の第1の解を算出し、
前記量子回路の量子状態が、算出した前記第1の解になる確率が最大になるよう、決定した前記パラメータの第1の値から、前記パラメータの第2の値を決定し、
決定した前記パラメータの第2の値を設定した、前記量子回路に基づいて、前記組み合わせ最適化問題の第2の解を算出する、
制御部を有することを特徴とする情報処理装置。
発明の詳細な説明
【技術分野】
【0001】
本発明は、情報処理プログラム、情報処理方法、および情報処理装置に関する。
続きを表示(約 1,900 文字)
【背景技術】
【0002】
従来、組み合わせ最適化問題を解く量子近似最適化アルゴリズムが存在する。例えば、量子近似最適化アルゴリズムでは、「量子回路の量子状態を特定し、特定した量子状態に対応するエネルギーを特定し、特定したエネルギーに基づいて、量子回路のパラメータを変更する」という一連の処理を繰り返すことにより、組み合わせ最適化問題を解く。
【0003】
先行技術としては、例えば、組み合わせ最適化問題に関連付けられたコスト関数を、許容量子状態上の最適化問題にマッピングするものがある。また、例えば、AI(Artificial Intelligence)制御ユニットが、計算に対応する1以上の調整可能なパラメータを決定する技術がある。また、例えば、第1の情報から抽出した、組み合わせ最適化問題として定式化される処理に利用される第2の情報から、組み合わせ最適化問題の目的関数を算出する技術がある。また、例えば、ユニタリ量子ダイナミクスを近似する技術がある。また、例えば、形状間の境界距離制約を受ける形状の配置を検索する技術がある。
【先行技術文献】
【特許文献】
【0004】
特表2021-504805号公報
特表2022-509841号公報
国際公開第2022/113720号
米国特許出願公開第2014/0297247号明細書
米国特許出願公開第2011/0035194号明細書
【発明の概要】
【発明が解決しようとする課題】
【0005】
しかしながら、従来技術では、組み合わせ最適化問題を効率よく解くことが難しい。例えば、組み合わせ最適化問題を解く際にかかる所要時間が増大し易い。具体的には、量子近似最適化アルゴリズムでは、エネルギーと、量子回路のパラメータとが、非凸関係であることがあり、パラメータを適切に変更する際にかかる所要時間が増大してしまう傾向があり、最適なパラメータを発見することが難しいという問題がある。
【0006】
1つの側面では、本発明は、組み合わせ最適化問題を解き易くすることを目的とする。
【課題を解決するための手段】
【0007】
1つの実施態様によれば、組み合わせ最適化問題に対応する量子近似最適化アルゴリズムの量子回路に関し、前記量子回路の量子状態に対応するエネルギーが極小になるよう、前記量子近似最適化アルゴリズムのパラメータの第1の値を決定し、前記組み合わせ最適化問題に対応するイジングモデルに基づいて、前記組み合わせ最適化問題の第1の解を算出し、前記量子回路の量子状態が、算出した前記第1の解になる確率が最大になるよう、決定した前記パラメータの第1の値から、前記パラメータの第2の値を決定し、決定した前記パラメータの第2の値を設定した、前記量子回路に基づいて、前記組み合わせ最適化問題の第2の解を算出する情報処理プログラム、情報処理方法、および情報処理装置が提案される。
【発明の効果】
【0008】
一態様によれば、組み合わせ最適化問題を解き易くすることが可能になる。
【図面の簡単な説明】
【0009】
図1は、実施の形態にかかる情報処理方法の一実施例を示す説明図である。
図2は、情報処理システム200の一例を示す説明図である。
図3は、情報処理装置100のハードウェア構成例を示すブロック図である。
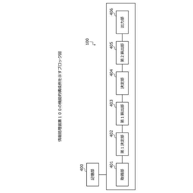
図4は、情報処理装置100の機能的構成例を示すブロック図である。
図5は、情報処理装置100の動作の一例を示す説明図(その1)である。
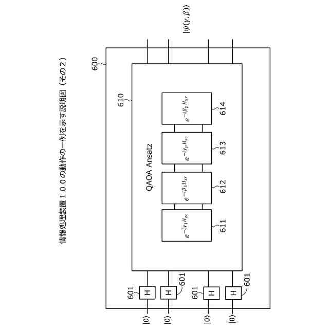
図6は、情報処理装置100の動作の一例を示す説明図(その2)である。
図7は、情報処理装置100の動作の一例を示す説明図(その3)である。
図8は、情報処理装置100の動作の一例を示す説明図(その4)である。
図9は、情報処理装置100の動作の一例を示す説明図(その5)である。
図10は、全体処理手順の一例を示すフローチャートである。
図11は、第1決定処理手順の一例を示すフローチャートである。
図12は、第2決定処理手順の一例を示すフローチャートである。
図13は、第3決定処理手順の一例を示すフローチャートである。
【発明を実施するための形態】
【0010】
以下に、図面を参照して、本発明にかかる情報処理プログラム、情報処理方法、および情報処理装置の実施の形態を詳細に説明する。
(【0011】以降は省略されています)
この特許をJ-PlatPat(特許庁公式サイト)で参照する
関連特許
富士通株式会社
周波数変換器
9日前
富士通株式会社
行列演算回路
6日前
富士通株式会社
医用画像処理方法
2か月前
富士通株式会社
ハイブリッド光増幅器
1か月前
富士通株式会社
転倒検出方法及び装置
1か月前
富士通株式会社
冷却装置及び電子機器
6日前
富士通株式会社
量子デバイスの製造方法
1か月前
富士通株式会社
制御装置及び基地局制御方法
2か月前
富士通株式会社
信号相関量の確定装置と方法
3か月前
富士通株式会社
データセット特徴タイプ推論
3か月前
富士通株式会社
マーキング方法及びプログラム
2か月前
富士通株式会社
量子ビットデバイスの製造方法
2か月前
富士通株式会社
演算処理装置及び演算処理方法
17日前
富士通株式会社
通信制御装置及び移動中継装置
3日前
富士通株式会社
動的多次元メディアコンテンツ投影
16日前
富士通株式会社
バイアスのための生成人工知能の検査
2か月前
富士通株式会社
ポイントクラウドレジストレーション
1か月前
富士通株式会社
視線誘導方法および視線誘導プログラム
1か月前
富士通株式会社
データ転送制御装置および情報処理装置
1か月前
富士通株式会社
データ転送制御装置および情報処理装置
1か月前
富士通株式会社
制御プログラム、制御方法及び決済装置
3か月前
富士通株式会社
異常予測方法および異常予測プログラム
16日前
富士通株式会社
量子デバイス及び量子デバイスの制御方法
2か月前
富士通株式会社
無線アクセスネットワークプロビジョニング
3か月前
富士通株式会社
生成人工知能を使用したデータセット符号化
27日前
富士通株式会社
演算システムおよび演算システムの制御方法
24日前
富士通株式会社
光送信機サブ信号光位相差の確定装置と方法
3か月前
富士通株式会社
管理装置、管理方法、および管理プログラム
4日前
富士通株式会社
学習プログラム、学習方法、及び情報処理装置
1か月前
富士通株式会社
画像を記述する構造化テキストを生成する方法
1か月前
富士通株式会社
交通シミュレーションのための方法および装置
16日前
富士通株式会社
描画プログラム、描画方法および情報処理装置
2か月前
富士通株式会社
学習プログラム、学習方法および情報処理装置
2か月前
富士通株式会社
推定プログラム、推定方法および情報処理装置
1か月前
富士通株式会社
推定プログラム、推定方法および情報処理装置
1か月前
富士通株式会社
シストリック型の演算アレイ装置及び制御方法
18日前
続きを見る
他の特許を見る