TOP
|
特許
|
意匠
|
商標
特許ウォッチ
Twitter
他の特許を見る
10個以上の画像は省略されています。
公開番号
2025146425
公報種別
公開特許公報(A)
公開日
2025-10-03
出願番号
2024047184
出願日
2024-03-22
発明の名称
施策特定プログラム、施策特定方法および情報処理装置
出願人
富士通株式会社
代理人
弁理士法人酒井国際特許事務所
主分類
A01G
33/00 20060101AFI20250926BHJP(農業;林業;畜産;狩猟;捕獲;漁業)
要約
【課題】施策分析の精度を向上させることを課題とする。
【解決手段】情報処理装置は、実世界の水域の状態を仮想空間上に再現するデジタルツインを生成する。情報処理装置は、生成したデジタルツインにおいて、シミュレーションを実施する。情報処理装置は、実施されたシミュレーションの結果に基づいて、複数の施策候補の中から、適用対象の施策を特定し、特定した施策に関する情報を表示画面に表示する。
【選択図】図1
特許請求の範囲
【請求項1】
コンピュータに、
実世界の水域の状態を仮想空間上に再現するデジタルツインを生成し、
生成した前記デジタルツインにおいて、シミュレーションを実施し、
実施した前記シミュレーションの結果に基づいて、複数の施策候補の中から、適用対象の施策を特定し、
特定した前記施策に関する情報を表示画面に表示する、
処理を実行させることを特徴とする施策特定プログラム。
続きを表示(約 1,900 文字)
【請求項2】
前記生成する処理は、
前記実世界での海洋状態を仮想空間に再現したデジタルツインを生成し、
前記特定する処理は、
前記海洋状態が再現されたデジタルツインにおいて、前記施策を適用する対象物を位置させるエリアでの時系列での海洋状態を分析することで、前記適用対象の施策として、前記エリアに位置させる対象物に適用する施策を特定する、
ことを特徴とする請求項1に記載の施策特定プログラム。
【請求項3】
前記生成する処理は、
前記実世界での海洋状態を仮想空間に再現したデジタルツインを生成し、
前記実施する処理は、
前記海洋状態が再現されたデジタルツインにおいて、前記施策を適用する対象物を位置させるエリアでの海洋状態のシミュレーションを実施し、
前記特定する処理は、
前記海洋状態のシミュレーションの結果に基づいて、前記エリアに位置させる対象物に適用する施策を特定する、
ことを特徴とする請求項1に記載の施策特定プログラム。
【請求項4】
前記実施する処理は、
前記海洋状態が再現されたデジタルツインにおいて、推定モデルを用いて、前記施策を適用する対象物を位置させるエリアでの海洋状態のシミュレーションを実施し、
前記特定する処理は、
前記海洋状態のシミュレーションの結果に基づいて、複数の施策候補のそれぞれの、前記対象物の状態を予測し、予測された前記対象物の状態が所定の条件を満たす施策を、前記エリアに位置させる対象物に適用する施策として特定する、
ことを特徴とする請求項3に記載の施策特定プログラム。
【請求項5】
前記生成する処理は、
前記仮想空間と前記実世界とが時刻同期されたデジタルツインを用いて、現在の海洋状態から予め指定された未来の海洋状態として光量、水温、栄養塩濃度を推定し、
前記実施する処理は、
前記未来の海洋状態として推定された前記光量、前記水温、前記栄養塩濃度を用いて、前記シミュレーションを実行する、
ことを特徴とする請求項4に記載の施策特定プログラム。
【請求項6】
前記生成する処理は、
前記デジタルツイン上で訓練済みである機械学習モデルに現在の海洋状態に関する情報を入力して、前記未来の海洋状態に関する情報を取得することで、前記デジタルツインで前記未来の海洋状態を実現し、
前記特定する処理は、
前記未来の海洋状態のシミュレーションの結果に基づいて、前記適用対象の施策として、前記複数の施策候補の中から、前記対象物に適用する施策を特定する、
ことを特徴とする請求項5に記載の施策特定プログラム。
【請求項7】
前記生成する処理は、
前記実世界での海洋状態を仮想空間に再現したデジタルツインを生成し、
前記実施する処理は、
前記デジタルツインを用いて、前記デジタルツインで再現される海域に造成した海藻の成長をシミュレーションする、
ことを特徴とする請求項1に記載の施策特定プログラム。
【請求項8】
前記施策は、
海藻を造成する造成海域、海藻を造成する造成範囲、造成対象の藻種、海藻を造成する造成時期を定義した各造成パターンであり、
前記生成する処理は、
前記各造成パターンで指定される前記造成海域を再現した前記デジタルツインを生成し、
前記実施する処理は、
前記デジタルツインに用いて、前記各造成パターンにおける前記藻種の成長をシミュレーションする、
ことを特徴とする請求項7に記載の施策特定プログラム。
【請求項9】
前記実施する処理は、
前記デジタルツインを用いて、前記各造成パターンにおける前記藻種の成長をシミュレーションし、
前記シミュレーションの結果を用いて、前記各造成パターンにおける前記藻種の二酸化炭素の吸収量を推定する、
ことを特徴とする請求項8に記載の施策特定プログラム。
【請求項10】
前記実施する処理は、
前記デジタルツインを用いて前記各造成パターンを実行した場合の環境価値を算出し、
前記海藻の成長、前記環境価値、前記造成パターンのコストのそれぞれを評価し、
前記特定する処理は、
評価結果が最も良い前記造成パターンを特定する、
ことを特徴とする請求項8に記載の施策特定プログラム。
(【請求項11】以降は省略されています)
発明の詳細な説明
【技術分野】
【0001】
本発明は、施策特定プログラム、施策特定方法および情報処理装置に関する。
続きを表示(約 1,500 文字)
【背景技術】
【0002】
施策分析は、さまざまな場面で必要とされており、シミュレーションを用いて施策分析を行い、最適な施策を特定することが行われている。
【先行技術文献】
【特許文献】
【0003】
特開2023-182560号公報
【発明の概要】
【発明が解決しようとする課題】
【0004】
しかしながら、従来技術は、予め設定した計算式などを用いたシミュレーションを実施するために、特定の条件下でのシミュレーション結果しか得ることができず、再現性の高いシミュレーションデータを提供できるとは言い難い。また、シミュレーションの結果を用いて、施策を立案することが考えられるが、シミュレーションの結果に依存するため、導入効果の高い施策の立案をすることができない。
【0005】
一つの側面では、施策分析の精度を向上させることができる施策特定プログラム、施策特定方法および情報処理装置を提供することを目的とする。
【課題を解決するための手段】
【0006】
第1の案では、施策特定プログラムは、コンピュータに、実世界の水域の状態を仮想空間上に再現するデジタルツインを生成し、生成した前記デジタルツインにおいて、シミュレーションを実施し、実施した前記シミュレーションの結果に基づいて、複数の施策候補の中から、適用対象の施策を特定し、特定した前記施策に関する情報を表示画面に表示する、処理を実行させることを特徴とする。
【発明の効果】
【0007】
一実施形態によれば、施策分析の精度を向上させることができる。
【図面の簡単な説明】
【0008】
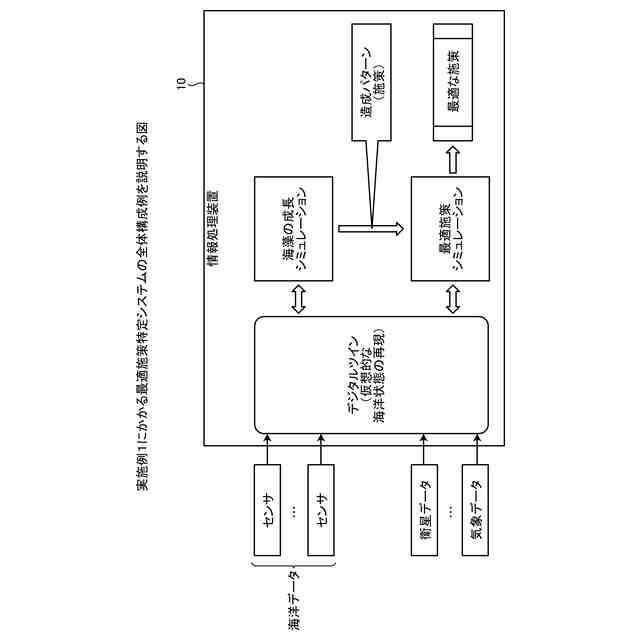
図1は、実施例1にかかる最適施策特定システムの全体構成例を説明する図である。
図2は、海洋の定義を説明する図である。
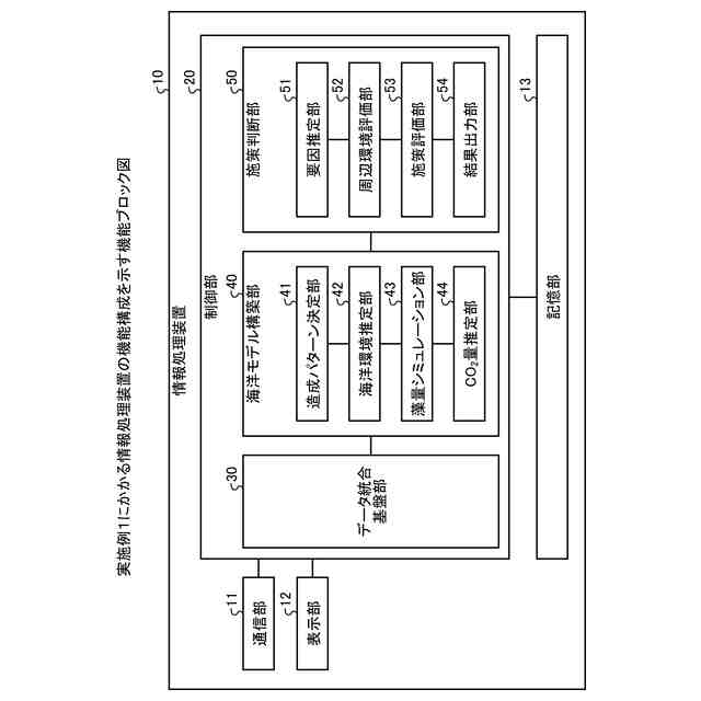
図3は、実施例1にかかる情報処理装置の機能構成を示す機能ブロック図である。
図4は、造成候補の選択例を説明する図である。
図5は、造成パターンの例を説明する図である。
図6は、海洋環境の推定を説明する図である。
図7は、藻量のシミュレーションの結果例を説明する図である。
図8は、要因推定の手法を説明する図である。
図9は、要因推定の手法を説明する図である。
図10は、要因推定の結果を説明する図である。
図11は、スコアリング結果を説明する図である。
図12は、表示例を説明する図である。
図13は、全体的な処理の流れを示すフローチャートである。
図14は、シミュレーション処理の流れを示すフローチャートである。
図15は、施策の評価処理の流れを示すフローチャートである。
図16は、適用対象の施策を特定する処理の流れを説明する図である。
図17は、施策評価の別例を説明する図である。
図18は、ハードウェア構成例を説明する図である。
【発明を実施するための形態】
【0009】
以下に、本願の開示する施策特定プログラム、施策特定方法および情報処理装置の実施例を図面に基づいて詳細に説明する。なお、この実施例によりこの発明が限定されるものではない。
【実施例】
【0010】
(全体構成)
図1は、実施例1にかかる最適施策特定システムの全体構成例を説明する図である。図1に示すように、最適施策特定システムは、複数のセンサと情報処理装置10とを有し、例えば海藻の成長や藻場の造成に関するシミュレーションを実施するシステムである。
(【0011】以降は省略されています)
この特許をJ-PlatPat(特許庁公式サイト)で参照する
関連特許
富士通株式会社
半導体装置
7日前
富士通株式会社
周波数変換器
20日前
富士通株式会社
行列演算回路
17日前
富士通株式会社
メッシュ微細化
8日前
富士通株式会社
半導体デバイス
7日前
富士通株式会社
演算器及び演算方法
8日前
富士通株式会社
ハイブリッド光増幅器
1か月前
富士通株式会社
転倒検出方法及び装置
2か月前
富士通株式会社
ポイントクラウド分類
2日前
富士通株式会社
冷却装置及び電子機器
17日前
富士通株式会社
量子デバイスの製造方法
1か月前
富士通株式会社
電子機器筐体及び電子機器
6日前
富士通株式会社
アレイアンテナモジュール
9日前
富士通株式会社
光送信器及び光トランシーバ
6日前
富士通株式会社
基板及びこれを備えた電子装置
9日前
富士通株式会社
通信制御装置及び移動中継装置
14日前
富士通株式会社
演算処理装置及び演算処理方法
28日前
富士通株式会社
テキスト案内される画像エディタ
2日前
富士通株式会社
動的多次元メディアコンテンツ投影
27日前
富士通株式会社
メモリ管理装置及びメモリ管理方法
1日前
富士通株式会社
ポイントクラウドレジストレーション
1か月前
富士通株式会社
データ転送制御装置および情報処理装置
2か月前
富士通株式会社
異常予測方法および異常予測プログラム
27日前
富士通株式会社
データ転送制御装置および情報処理装置
2か月前
富士通株式会社
視線誘導方法および視線誘導プログラム
1か月前
富士通株式会社
管理装置、管理方法、および管理プログラム
15日前
富士通株式会社
生成人工知能を使用したデータセット符号化
1か月前
富士通株式会社
演算システムおよび演算システムの制御方法
1か月前
富士通株式会社
シストリック型の演算アレイ装置及び制御方法
29日前
富士通株式会社
プログラム、情報処理方法および情報処理装置
13日前
富士通株式会社
予測プログラム、予測方法および情報処理装置
29日前
富士通株式会社
生成プログラム、生成方法および情報処理装置
今日
富士通株式会社
画像を記述する構造化テキストを生成する方法
1か月前
富士通株式会社
学習プログラム、学習方法、及び情報処理装置
2か月前
富士通株式会社
交通シミュレーションのための方法および装置
27日前
富士通株式会社
推定プログラム、推定方法および情報処理装置
1か月前
続きを見る
他の特許を見る