TOP
|
特許
|
意匠
|
商標
特許ウォッチ
Twitter
他の特許を見る
10個以上の画像は省略されています。
公開番号
2025133456
公報種別
公開特許公報(A)
公開日
2025-09-11
出願番号
2024031416
出願日
2024-03-01
発明の名称
情報処理プログラム、情報処理装置及び情報処理方法
出願人
富士通株式会社
代理人
弁理士法人真田特許事務所
,
個人
主分類
G06Q
10/10 20230101AFI20250904BHJP(計算;計数)
要約
【課題】オンライン会議において、発言の促しを適切にできる。
【解決手段】オンライン会議に参加する複数の人物のうち第1の人物101によって選択されたオンライン会議での第1の人物101の意思表示103を受け付け、受け付けた意思表示103が条件を満たす場合、条件に応じたテキストであって第1の人物101に発言を促すテキストを特定し、複数の人物のうち、第1の人物101とは異なる第2の人物101に対し、特定したテキストを提示する処理をコンピュータに実行させる。
【選択図】図1
特許請求の範囲
【請求項1】
オンライン会議に参加する複数の人物のうち第1の人物によって選択された前記オンライン会議での前記第1の人物の意思表示を受け付け、
受け付けた前記意思表示が条件を満たす場合、前記条件に応じたテキストであって前記第1の人物に発言を促す前記テキストを特定し、
前記複数の人物のうち、前記第1の人物とは異なる第2の人物に対し、特定した前記テキストを提示する
処理をコンピュータに実行させる情報処理プログラム。
続きを表示(約 1,000 文字)
【請求項2】
前記テキストは、前記第1の人物に発言を促すフレーズまたは前記フレーズを示唆する情報を含むテキストである
請求項1に記載の情報処理プログラム。
【請求項3】
前記第1の人物は、前記複数の人物各々の発言状況に基づいて特定される人物である
請求項1又は2に記載の情報処理プログラム。
【請求項4】
前記第1の人物は、前記複数の人物のうち発言量が相対的に低い人物であり、
前記第2の人物は、前記複数の人物のうち前記発言量が相対的に高い人物である
請求項1又は2に記載の情報処理プログラム。
【請求項5】
前記条件は、前記第1の人物の前記意思表示と、前記第1の人物以外の前記複数の人物各々の前記意思表示との関係性に基づく条件である
請求項1又は2に記載の情報処理プログラム。
【請求項6】
前記特定する処理は、受け付けた前記意思表示が条件を満たす場合、前記テキストと、前記テキストを提示するタイミングとを特定する処理であり、
前記提示する処理は、前記第2の人物に対し、特定した前記タイミングにおいて特定した前記テキストを提示する処理である
請求項1又は2に記載の情報処理プログラム。
【請求項7】
オンライン会議に参加する複数の人物のうち第1の人物によって選択された前記オンライン会議での前記第1の人物の意思表示を受け付け、
受け付けた前記意思表示が条件を満たす場合、前記条件に応じたテキストであって前記第1の人物に発言を促す前記テキストを特定し、
前記複数の人物のうち、特定した前記第1の人物とは異なる第2の人物に対し、特定した前記テキストを提示する
処理を実行するプロセッサを備える情報処理装置。
【請求項8】
オンライン会議に参加する複数の人物のうち第1の人物によって選択された前記オンライン会議での前記第1の人物の意思表示を受け付け、
受け付けた前記意思表示が条件を満たす場合、前記条件に応じたテキストであって前記第1の人物に発言を促す前記テキストを特定し、
前記複数の人物のうち、特定した前記第1の人物とは異なる第2の人物に対し、特定した前記テキストを提示する
処理をコンピュータが実行する情報処理方法。
発明の詳細な説明
【技術分野】
【0001】
本発明は、情報処理プログラム、情報処理装置及び情報処理方法に関する。
続きを表示(約 1,600 文字)
【背景技術】
【0002】
コロナ禍によってリモート勤務が普及している。リモート勤務では、コミュニケーション量が減少するため、チームで行う業務の活性化が難しいことがある。チームで行う業務としては、例えば会議があり、リモート勤務ではオンライン会議が開催されることがある。
【0003】
オンライン会議の進行を支援する技術として、従来技術では、会議における議論の活性度を算出し、ファシリテーターが参加者に発言を促すタイミングを認識し、ファシリテーターを支援する技術が知られている。
【先行技術文献】
【特許文献】
【0004】
国際公開第2023/038125号
特開2022-068904号公報
特開2022-139436号公報
米国特許公開公報第2014/0145936号明細書
【発明の概要】
【発明が解決しようとする課題】
【0005】
しかしながら、発言を促すタイミングを特定するのみでは、どのように発言を促せばよいか分からないなど、発言の促しにつながらない場合がある。例えば、ファシリテーターが発言の促し方が分からずに発言の促し自体をしなかったり、発言の促し自体はしても効果的な発言の促しができず結果的に対象の参加者が発言できなかったりするおそれがある。
【0006】
1つの側面では、オンライン会議において、発言の促しを適切にできるようにすることを目的とする。
【課題を解決するための手段】
【0007】
1つの側面では、情報処理プログラムは、オンライン会議に参加する複数の人物のうち第1の人物によって選択された前記オンライン会議での前記第1の人物の意思表示を受け付け、受け付けた前記意思表示が条件を満たす場合、前記条件に応じたテキストであって前記第1の人物に発言を促す前記テキストを特定し、前記複数の人物のうち、前記第1の人物とは異なる第2の人物に対し、特定した前記テキストを提示する処理をコンピュータに実行させる。
【発明の効果】
【0008】
1つの側面では、オンライン会議において、発言の促しを適切にできる。
【図面の簡単な説明】
【0009】
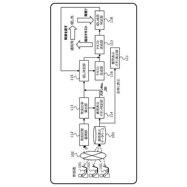
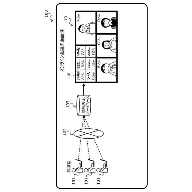
実施形態におけるオンライン会議システムの構成例を模式的に示すブロック図である。
図1に示したオンライン会議システムにおけるソフトウェア構成例を模式的に示すブロック図である。
図1に示したオンライン会議システムにおける意思表示パタン条件を例示するテーブルである。
図1に示したオンライン会議システムにおける発言促し画面を例示する図である。
図1に示したオンライン会議システムにおける促し成否情報を例示するテーブルである。
図1に示したオンライン会議画面の意思表示領域の詳細を示す図である。
実施形態における意思表示パタンの判定処理を説明するフローチャートである。
実施形態における通知先及び促し先の決定処理を説明するフローチャートである。
実施形態における促し成否の判定処理を説明するフローチャートである。
実施形態における情報処理装置のハードウェア構成例を模式的に示すブロック図である。
【発明を実施するための形態】
【0010】
〔A〕実施形態
以下、図面を参照して一実施の形態を説明する。ただし、以下に示す実施形態はあくまでも例示に過ぎず、実施形態で明示しない種々の変形例や技術の適用を排除する意図はない。すなわち、本実施形態を、その趣旨を逸脱しない範囲で種々変形して実施することができる。また、各図は、図中に示す構成要素のみを備えるという趣旨ではなく、他の構成要素等を含むことができる。
(【0011】以降は省略されています)
この特許をJ-PlatPat(特許庁公式サイト)で参照する
関連特許
富士通株式会社
行列演算回路
6日前
富士通株式会社
周波数変換器
9日前
富士通株式会社
医用画像処理方法
2か月前
富士通株式会社
冷却装置及び電子機器
6日前
富士通株式会社
転倒検出方法及び装置
1か月前
富士通株式会社
ハイブリッド光増幅器
1か月前
富士通株式会社
量子デバイスの製造方法
1か月前
富士通株式会社
制御装置及び基地局制御方法
2か月前
富士通株式会社
演算処理装置及び演算処理方法
17日前
富士通株式会社
マーキング方法及びプログラム
2か月前
富士通株式会社
量子ビットデバイスの製造方法
2か月前
富士通株式会社
通信制御装置及び移動中継装置
3日前
富士通株式会社
動的多次元メディアコンテンツ投影
16日前
富士通株式会社
バイアスのための生成人工知能の検査
2か月前
富士通株式会社
ポイントクラウドレジストレーション
1か月前
富士通株式会社
視線誘導方法および視線誘導プログラム
1か月前
富士通株式会社
データ転送制御装置および情報処理装置
1か月前
富士通株式会社
異常予測方法および異常予測プログラム
16日前
富士通株式会社
データ転送制御装置および情報処理装置
1か月前
富士通株式会社
量子デバイス及び量子デバイスの制御方法
2か月前
富士通株式会社
生成人工知能を使用したデータセット符号化
27日前
富士通株式会社
管理装置、管理方法、および管理プログラム
4日前
富士通株式会社
演算システムおよび演算システムの制御方法
24日前
富士通株式会社
推定プログラム、推定方法および情報処理装置
1か月前
富士通株式会社
学習プログラム、学習方法、及び情報処理装置
1か月前
富士通株式会社
シストリック型の演算アレイ装置及び制御方法
18日前
富士通株式会社
予測プログラム、予測方法および情報処理装置
18日前
富士通株式会社
推定プログラム、推定方法および情報処理装置
1か月前
富士通株式会社
画像を記述する構造化テキストを生成する方法
1か月前
富士通株式会社
プログラム、情報処理方法および情報処理装置
2日前
富士通株式会社
交通シミュレーションのための方法および装置
16日前
富士通株式会社
学習プログラム、学習方法および情報処理装置
2か月前
富士通株式会社
描画プログラム、描画方法および情報処理装置
2か月前
富士通株式会社
データ処理装置、プログラム及びデータ処理方法
2か月前
富士通株式会社
制御プログラム、制御方法、および情報処理装置
4日前
富士通株式会社
演算プログラム、演算方法、および情報処理装置
1か月前
続きを見る
他の特許を見る