TOP
|
特許
|
意匠
|
商標
特許ウォッチ
Twitter
他の特許を見る
公開番号
2025144814
公報種別
公開特許公報(A)
公開日
2025-10-03
出願番号
2024044674
出願日
2024-03-21
発明の名称
給油認証システム
出願人
株式会社タツノ
代理人
個人
主分類
B67D
7/32 20100101AFI20250926BHJP(びん,広口びんまたは類似の容器の開封または密封;液体の取扱い)
要約
【課題】燃料油を容器(携行缶等)に給油する際、及び燃料油を容器から給油対象物(農機具、発電機等)に給油する際に信頼性の高い認証を行うことのできる給油認証システムを提供する。
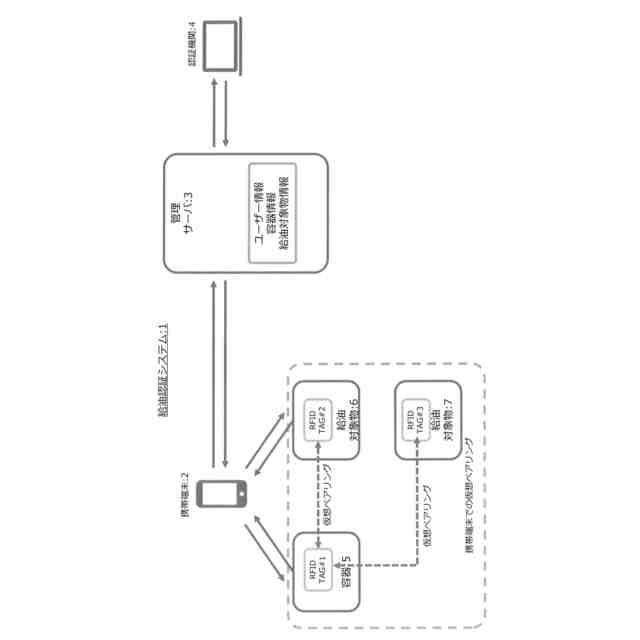
【解決手段】顧客のユーザー情報と、燃料油を貯留する容器5の情報と、容器5から給油を行う給油対象物6、7の情報を入力する携帯端末2と、携帯端末2から入力された各種情報を記録及び管理する管理サーバ3とを備え、管理サーバ3は、携帯端末2より入力した容器5及び給油対象物6、7に対する給油の可否を携帯端末2へ出力する給油認証システム1。管理サーバ3は、携帯端末2から入力された容器情報に紐づく給油対象物情報が管理サーバ3に登録され、かつ容器情報の対象となる容器5が指定の場所に存在する場合に容器5への給油を認証し、認証したことを携帯端末2へ出力する給油認証システム。
【選択図】図1
特許請求の範囲
【請求項1】
顧客のユーザー情報と、燃料油を貯留する容器の情報と、該容器から給油を行う給油対象物の情報を入力する携帯端末と、
該携帯端末から入力された前記各種情報を記録及び管理する管理サーバとを備え、
該管理サーバは、前記携帯端末より入力した容器及び給油対象物に対する給油の可否を前記携帯端末へ出力することを特徴とする給油認証システム。
続きを表示(約 600 文字)
【請求項2】
前記管理サーバは、前記携帯端末から入力された容器情報に紐づく給油対象物情報が該管理サーバに登録され、かつ前記容器情報の対象となる容器が指定の場所に存在する場合に該容器への給油を認証し、認証したことを前記携帯端末へ出力することを特徴とする請求項1に記載の給油認証システム。
【請求項3】
前記管理サーバは、前記携帯端末から入力された容器情報に紐づく給油対象物情報と、前記携帯端末から入力された給油対象物情報が一致している場合に給油を認証し、認証したことを前記携帯端末へ出力することを特徴とする請求項1に記載の給油認証システム。
【請求項4】
前記携帯端末は、給油が認証されると前記容器へロック解除信号を出力し、
前記容器は、前記携帯端末からのロック解除信号により給油口のロックが解除されることを特徴とする請求項1、2又は3に記載の給油認証システム。
【請求項5】
前記管理サーバは、前記給油対象物が登録された場所に存在する場合に前記容器から前記給油対象物への給油を認証することを特徴とする請求項1、2又は3に記載の給油認証システム。
【請求項6】
前記管理サーバは、前記容器が登録されている場所に存在する場合に前記容器から前記給油対象物への給油を認証することを特徴とする請求項1、2又は3に記載の給油認証システム。
発明の詳細な説明
【技術分野】
【0001】
本発明は、携行缶等の容器への給油の際、及び燃料油を容器から給油対象物(農機具、発電機等)に給油する際に必要な本人確認等の手間を省きつつ、信頼性の高い認証を行うことのできる給油認証システムに関する。
続きを表示(約 1,700 文字)
【背景技術】
【0002】
燃料油を容器に給油する装置として、本出願人は特許文献1、2において、長年使用しても油漏れを起こす虞が少ない給油装置や、効率よく携行缶等へ給油ができる給油装置を提案している。
【0003】
一方、令和元年7月に発生した京都府京都市伏見区の爆発火災を受け、同様の事案の発生を抑止するため、危険物の規制に関する規則の一部を改正する省令(令和元年総務省令第67号)により、ガソリンを販売するために容器に詰め替えるときは、顧客の本人確認、使用目的の確認及び販売記録の作成が義務付けられたが、令和3年12月に大阪市北区において、多数の死傷者を伴うビル火災が発生してしまうなど、不審者への販売及び利用を完全には防ぎきれていないのが現状である。
【先行技術文献】
【特許文献】
【0004】
特開平10-264999号公報
特開平11-91887号公報
【発明の概要】
【発明が解決しようとする課題】
【0005】
そこで、本発明は、燃料油を容器(携行缶等)に給油する際、及び燃料油を容器から給油対象物(農機具、発電機等)に給油する際に信頼性の高い認証を行うことのできる給油認証システムを提供することを目的とする。
【課題を解決するための手段】
【0006】
上記目的を達成するため、本発明は給油認証システムであって、顧客のユーザー情報と、燃料油を貯留する容器の情報と、該容器から給油を行う給油対象物の情報を入力する携帯端末と、該携帯端末から入力された前記各種情報を記録及び管理する管理サーバとを備え、該管理サーバは、前記携帯端末より入力した容器及び給油対象物に対する給油の可否を前記携帯端末へ出力することを特徴とする。
【0007】
本発明によれば、燃料油を容器に給油する際、及び容器から給油対象物に給油する際に、信頼性の高い認証及び給油を行うことができる。また、管理サーバを用いることで、給油所における顧客の本人確認情報(ユーザー情報)の入力が不要となり、スタッフの業務負荷軽減となると共に、クラウドサーバを用いることで、システムを利用している給油所であれば全国どこでもユーザー情報の記録を不要とすることができる。さらに、管理サーバで顧客の利用履歴管理を行うことで、顧客がいつどのくらい燃料油の購入が必要なのか、過去のデータから導き、計画的な購入を顧客に促すことができる。
【0008】
前記管理サーバは、前記携帯端末から入力された容器情報に紐づく給油対象物情報が該管理サーバに登録され、かつ前記容器情報の対象となる容器が指定の場所に存在する場合に該容器への給油を認証(給油を許可)し、認証したことを前記携帯端末へ出力することができる。これにより、給油所等における容器への給油時に、給油しようとしている容器に、その容器から給油する対象物の情報が登録されていないと容器への給油を認証しないため、不審な容器への給油を防ぐことが可能となる。
【0009】
前記管理サーバは、前記携帯端末から入力された容器情報に紐づく給油対象物情報と、前記携帯端末から入力された給油対象物情報が一致している場合に給油を認証し、認証したことを前記携帯端末へ出力することができる。これにより、自宅等における容器から給油対象物への給油時に、予め登録しておいた給油対象物情報と、給油しようとしている給油対象物が一致していない場合には、給油対象物への給油を認証しないため、不審な給油対象物への給油を防ぐことが可能となる。
【0010】
前記携帯端末は、給油が認証されると前記容器へロック解除信号を出力し、前記容器は、前記携帯端末からのロック解除信号により給油口のロックが解除されるようにすることで、給油が認証されないと容器のロックが解除されないため、信頼性の高い給油を行うことができる。
(【0011】以降は省略されています)
この特許をJ-PlatPat(特許庁公式サイト)で参照する
関連特許
株式会社タツノ
充填ノズル
25日前
株式会社タツノ
給油認証システム
11日前
個人
万能シリコン漏斗。
3か月前
株式会社タツノ
給油装置
1か月前
澁谷工業株式会社
キャッパ
9か月前
株式会社タツノ
給油認証システム
11日前
澁谷工業株式会社
充填装置
5か月前
有限会社ユウアイ
内容物充填装置
1か月前
株式会社サイレック
キャッパー装置
12か月前
靜甲株式会社
キャップの巻締め機構
3か月前
個人
ボトルキャップ用開栓具
10か月前
個人
開封具
4か月前
富士電機株式会社
液体供給装置
11か月前
株式会社青木製作所
タンクローリの配管装置
11か月前
澁谷工業株式会社
キャッピング装置
8か月前
澁谷工業株式会社
キャッピング装置
3か月前
ホシザキ株式会社
飲料供給装置
7か月前
ホシザキ株式会社
飲料供給装置
8か月前
個人
液体注出補助具
3か月前
ホシザキ株式会社
飲料供給装置
8か月前
キリンホールディングス株式会社
飲料注出装置
3か月前
日本クロージャー株式会社
ボトルケース
11か月前
AW・ウォーター株式会社
液体供給装置
12か月前
株式会社吉野工業所
高温充填方法
8か月前
キリンホールディングス株式会社
容器の保管装置
2か月前
靜甲株式会社
キャップ保持機構並びにキャッパー
3か月前
サッポロビール株式会社
カラン
9か月前
アサヒ飲料株式会社
炭酸飲料製造ラインの制御方法
8か月前
澁谷工業株式会社
充填装置の洗浄・殺菌システム
1か月前
富士電機株式会社
飲料供給装置
9か月前
サッポロビール株式会社
飲料サーバー
9か月前
富士電機株式会社
飲料供給装置
3か月前
富士電機株式会社
飲料供給装置
9か月前
サッポロビール株式会社
飲料サーバー
3か月前
富士電機株式会社
飲料供給装置
9か月前
Kyopalab合同会社
詰替装置および詰替方法
1か月前
続きを見る
他の特許を見る