TOP
|
特許
|
意匠
|
商標
特許ウォッチ
Twitter
他の特許を見る
公開番号
2025135748
公報種別
公開特許公報(A)
公開日
2025-09-19
出願番号
2024033687
出願日
2024-03-06
発明の名称
ベルト取付具、及び背負い鞄
出願人
株式会社日乃本錠前
代理人
弁理士法人英知国際特許商標事務所
主分類
A45F
3/04 20060101AFI20250911BHJP(手持品または旅行用品)
要約
【課題】 背負いベルトへの腕の出し入れがし易く、背負い鞄を身体に好適にフィットさせることのできるベルト取付具及び背負い鞄を提供する。
【解決手段】 背負い鞄1の背板に取付け固定されるケース体20と、ケース体20に設けられる左右一対のアーム部材40と、を備え、左右一対のアーム部材40の各上端部には、それぞれ、背負い鞄1に設けられた左右一対の背負いベルト4の各一端部が取り付けられるベルト取付部40Bが設けられ、左右一対のアーム部材40は、それぞれ、ケース体20に対して揺動可能かつ斜め上下方向にスライド移動可能に設けられることで、ベルト取付部40B同士を近接又は離隔する方向に移動可能とした。
【選択図】 図2
特許請求の範囲
【請求項1】
背負い鞄の背板に取付け固定されるケース体と、
前記ケース体に設けられる左右一対のアーム部材と、
を備え、
前記左右一対のアーム部材の各上端部には、それぞれ、前記背負い鞄に設けられた左右一対の背負いベルトの各一端部が取り付けられるベルト取付部が設けられ、
前記左右一対のアーム部材は、それぞれ、前記ケース体に対して揺動可能かつ斜め上下方向にスライド移動可能に設けられることで、前記ベルト取付部同士を近接又は離隔する方向に移動可能とした
ことを特徴とするベルト取付具。
続きを表示(約 720 文字)
【請求項2】
前記ケース体に斜め上下方向にスライド移動可能に支持される左右一対のスライド部材を備え、
前記左右一対のアーム部材は、それぞれ、前記左右一対のスライド部材に揺動可能に支持されることで、前記ケース体に対して揺動可能かつ斜め上下方向にスライド移動可能に設けられる
ことを特徴とする請求項1に記載のベルト取付具。
【請求項3】
前記ケース体は、
前記左右一対のスライド部材をそれぞれ斜め上下方向に案内する案内溝が形成されたケース本体と、
前記ケース本体を正面側からカバーするカバー部材と、を有する
ことを特徴とする請求項2記載のベルト取付具。
【請求項4】
前記案内溝は、
前記スライド部材の斜め上方の移動を規制する上部移動規制面と、
前記スライド部材の斜め下方の移動を規制する下部移動規制面と、
前記スライド部材を斜め上下方向に案内するスライド部材案内面と、を有する
ことを特徴とする請求項3記載のベルト取付具。
【請求項5】
前記左右一対のアーム部材は、それぞれ、前記左右一対のスライド部材に対して、前記各アーム部材の上端部同士が近接方向に揺動するように弾性付勢されるとともに、
前記左右一対の各スライド部材は、それぞれ、前記ケース体に対して、前記各アーム部材の上端部同士が近接する斜め下方にスライド移動するように弾性付勢されている
ことを特徴とする請求項2記載のベルト取付具。
【請求項6】
請求項1から請求項5のいずれか1項に記載のベルト取付具を備える背負い鞄。
発明の詳細な説明
【技術分野】
【0001】
本発明は、ランドセル、通学用リュック等の背負い鞄に用いられるベルト取付具、及びこのベルト取付具を有する背負い鞄に関する。
続きを表示(約 2,000 文字)
【背景技術】
【0002】
従来、ランドセルの背負いベルトをランドセル本体に取り付けるベルト取付具として、ベルト取付具を構成する連結体の対向側面にそれぞれ歯部を設け、これら歯部を互いに噛み合わせて連結体をそれぞれ左右方向に揺動自在に取り付けると共に、連結体にそれぞれ内方向の弾力を付した技術が知られている(特許文献1)
【先行技術文献】
【特許文献】
【0003】
特開2004-081800号公報
【発明の概要】
【発明が解決しようとする課題】
【0004】
上記従来技術においては、ベルト取付具の連結体がそれぞれ左右方向に揺動自在に設けられていることから、背負いベルトの位置を、連結体の揺動幅内において、使用者の体格に応じて左右方向に移動することができ、また、連結体に付される内方向の弾力によって、使用者の体格に応じた位置に維持することができるものである。
しかし、連結体は、揺動幅内の移動に制限されるため、依然として、ランドセルを背負う時や下ろす時に、腕の出し入れがし難く、窮屈に感じる等、改善の余地があった。
【0005】
本発明は、上述の事情に鑑みてなされたものであって、ランドセル等の背負い鞄を背負う時や下ろす時に、背負いベルトへの腕の出し入れがし易く、また、背負い鞄を身体に好適にフィットさせることのできるベルト取付具、及びこのベルト取付具を有する背負い鞄を提供することを課題とする。
【課題を解決するための手段】
【0006】
このような課題に鑑みて、本発明の一つは、以下の構成を具備するものである。
背負い鞄の背板に取付け固定されるケース体と、前記ケース体に設けられる左右一対のアーム部材と、を備え、前記左右一対のアーム部材の各上端部には、それぞれ、前記背負い鞄に設けられた左右一対の背負いベルトの各一端部が取り付けられるベルト取付部が設けられ、前記左右一対のアーム部材は、それぞれ、前記ケース体に対して揺動可能かつ斜め上下方向にスライド移動可能に設けられることで、前記ベルト取付部同士を近接又は離隔する方向に移動可能としたことを特徴とするベルト取付具。
【発明の効果】
【0007】
以上の構成により、本発明のベルト取付具及び背負い鞄は、背負い鞄を背負う時や下ろす時に、背負いベルトへの腕の出し入れがし易く、また、背負い鞄を身体に好適にフィットさせることができる。
【図面の簡単な説明】
【0008】
本発明の実施形態に係るベルト取付具を取り付けた背負い鞄を背面からみた正面概要図である。
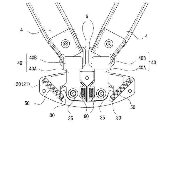
同ベルト取付具の内部構造を示す正面概要図である。
同ベルト取付具を構成するケース体を説明する正面概要図であり、図3(a)は、同ケース体のケース本体を示し、図3(b)は、同ケース体のカバー部材を示し、図3(c)は、同ケース体を補強する補強部材を示している。
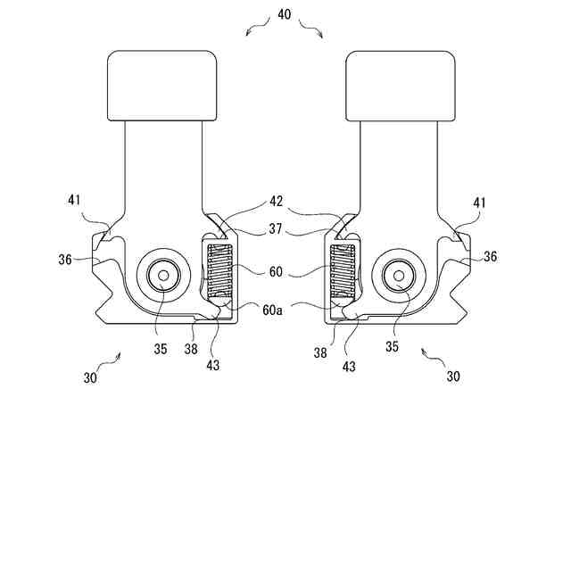
同ベルト取付具を構成するスライド部材とアーム部材とを分解した状態を示す正面概要図である。
同ベルト取付具を構成するスライド部材とアーム部材とを組み付けた状態を示す正面概要図である。
同ベルト取付具を構成するケース体とスライド部材とアーム部材との組み付け構造を説明する正面概要図である。
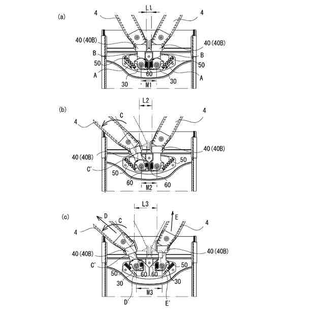
同ベルト取付具の可動態様を説明する概要図であり、図7(a)は、背負いベルトに外力(負荷)が作用していない通常状態を示し、図7(b)は、片側の背負いベルトに外力(負荷)が作用した一態様を示し、図7(c)は、一対の背負いベルトに外力(負荷)が作用した一態様を示している。
本発明の実施形態に係るベルト取付具の変形例を説明する正面概要図であり、図8(a)は、同ベルト取付具を構成するケース本体の正面概要図であり、図8(b)及び図8(c)は、同ケース本体にスライド部材を組み付けた状態を説明する正面概要図である。
【発明を実施するための形態】
【0009】
(第1の実施形態)
先ずは、本発明の実施形態に係る背負い鞄の一例として、ランドセル1の全体構造について説明する。図1は、本発明の実施形態に係るベルト取付具を取り付けた背負い鞄(ランドセル)を背面からみた正面概要図であり、図2は、同ベルト取付具の内部構造を示す正面概要図である。
【0010】
なお、以下の説明において、ランドセル1を背負った状態を基準として、その上下の方向(図1の上下方向)を「上下方向」又は「鉛直方向」といい、この上下方向(鉛直方向)に直交するランドセル1の横幅方向(図1の左右方向)を「左右方向」という。また、「斜め上下方向」とは、「鉛直方向」に対して鋭角に交わる斜めの方向を意味する。
(【0011】以降は省略されています)
この特許をJ-PlatPat(特許庁公式サイト)で参照する
関連特許
株式会社日乃本錠前
ベルト取付具、及び背負い鞄
16日前
個人
包み箱
1か月前
個人
傘
5か月前
個人
傘
1か月前
個人
杖
3か月前
個人
財布
3か月前
個人
二重把手袋
5か月前
個人
折り畳み傘
2か月前
個人
眼鏡ホルダー
2か月前
個人
シール
5か月前
個人
バッグ
2か月前
個人
肩ベルトカバー
1か月前
個人
傘
8か月前
個人
美容用具
2か月前
個人
シート状パック
5か月前
個人
刺抜き具
6か月前
個人
耳カバー
12か月前
個人
滑らないヘアピン
8か月前
個人
傘の先端キャップ
4か月前
個人
補助持ち手付き傘
4か月前
ベス工業株式会社
整髪具
4か月前
個人
香りカプセル
10か月前
個人
電動爪削り器
9か月前
大忠株式会社
バッグ
7か月前
個人
手提げ袋携帯ホルダー
7か月前
個人
スマートフォンカバー
6か月前
個人
折りたたみ式提げ手。
6か月前
個人
リュックサック
9か月前
株式会社文殊
巾着袋
2か月前
個人
傘の折り畳み式滴受け具
10か月前
コクヨ株式会社
バッグ
5か月前
個人
エクステプレート
1か月前
株式会社バンビ
長財布
7か月前
株式会社イケテイ
袋物
4か月前
個人
傘巻き取り補助具
10日前
個人
髪処理装置
11か月前
続きを見る
他の特許を見る