TOP
|
特許
|
意匠
|
商標
特許ウォッチ
Twitter
他の特許を見る
公開番号
2025135755
公報種別
公開特許公報(A)
公開日
2025-09-19
出願番号
2024033696
出願日
2024-03-06
発明の名称
転てつ棒連結構造
出願人
西日本旅客鉄道株式会社
,
大和軌道製造株式会社
代理人
弁理士法人有古特許事務所
主分類
E01B
7/02 20060101AFI20250911BHJP(道路,鉄道または橋りょうの建設)
要約
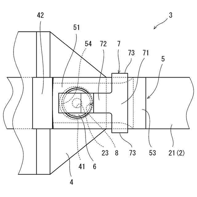
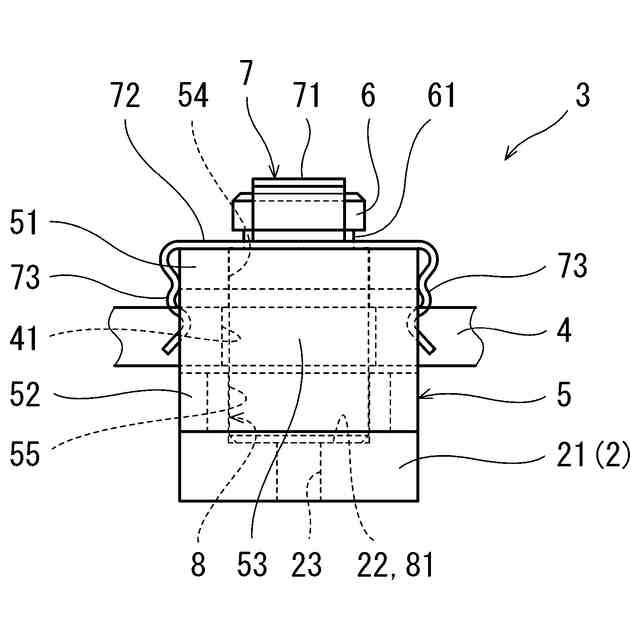
【課題】連結ピンを挿通穴から容易に引き抜くことができる転てつ棒連結構造を提供する。
【解決手段】一実施形態に係る転てつ棒連結構造3は、トングレールに固定された連結板4と、転てつ棒2に固定された連結金具5を含む。連結板4には係合穴41が設けられ、連結金具5は連結板4を挟み込む上側挟持片51および下側挟持片52を含む。上側挟持片51および下側挟持片52には、係合穴41と共に挿通穴8を構成する保持穴54,55が設けられている。さらに、転てつ棒連結構造3は、挿通穴8に挿入されて当該挿通穴8の底81に支持される連結ピン6を含む。連結ピン6には、連結金具5よりも上方に、周方向に連続する環状溝61が形成されている。
【選択図】図2
特許請求の範囲
【請求項1】
トングレールに固定された、係合穴が設けられた連結板と、
転てつ棒に固定された、前記連結板を挟み込む上側挟持片および下側挟持片を含む連結金具であって、前記係合穴と共に挿通穴を構成する保持穴が前記上側挟持片および前記下側挟持片に設けられた連結金具と、
前記挿通穴に挿入されて当該挿通穴の底に支持される連結ピンと、を備え、
前記連結ピンには、前記連結金具よりも上方に、周方向に連続する環状溝が形成されている、転てつ棒連結構造。
続きを表示(約 160 文字)
【請求項2】
前記連結ピンの下端から前記環状溝の下側側面までの長さは、前記挿通穴の底から前記上側挟持片の上面までの距離と等しい、請求項1に記載の転てつ棒連結構造。
【請求項3】
前記連結金具に装着されて、前記連結ピンを下向きに付勢する座金をさらに備える、請求項1または2に記載の転てつ棒連結構造。
発明の詳細な説明
【技術分野】
【0001】
本出願は、トングレールに対する転てつ棒の連結構造に関する。
続きを表示(約 1,100 文字)
【背景技術】
【0002】
鉄道軌道の分岐器は、一対のトングレールが転てつ棒によって連結されたポイントを含む。ポイントは、転てつ棒が軌間方向にスライドされることにより、本線側軌道と分岐線側軌道との間で切り換えられる。
【0003】
一般的に、トングレールには連結板が固定され、この連結板に、転てつ棒に固定されたU字状の連結金具がボルトおよびナットにより回動可能に連結される。近年では、ボルトおよびナットの代わりに連結ピンを用いた転てつ棒連結構造も提案されている。
【0004】
例えば、特許文献1に開示された転てつ棒連結構造では、トングレールに固定された連結板に係合穴が設けられるとともに、連結金具における連結板を挟み込む上側挟持片および下側挟持片に保持穴が設けられている。連結金具の保持穴は、当該連結金具の上側挟持片と下側挟持片の間に連結板が挿入されたときに、連結板の係合穴と共に挿通穴を構成する。この挿通穴に連結ピンが挿入される。
【0005】
特許文献1の転てつ棒連結構造では、下側挟持片の保持穴が当該下側挟持片を貫通する貫通穴であり、上述した挿通穴の底が転てつ棒で構成される。連結ピンは、挿通穴の底に支持される。
【先行技術文献】
【特許文献】
【0006】
特開2017-31569号公報
【発明の概要】
【発明が解決しようとする課題】
【0007】
しかしながら、特許文献1の転てつ棒連結構造では連結ピンを挿通穴から引き抜くことが困難である。
【0008】
そこで、本出願は、連結ピンを挿通穴から容易に引き抜くことができる転てつ棒連結構造を提供することを目的とする。
【課題を解決するための手段】
【0009】
本出願は、トングレールに固定された、係合穴が設けられた連結板と、転てつ棒に固定された、前記連結板を挟み込む上側挟持片および下側挟持片を含む連結金具であって、前記係合穴と共に挿通穴を構成する保持穴が前記上側挟持片および前記下側挟持片に設けられた連結金具と、前記挿通穴に挿入されて当該挿通穴の底に支持される連結ピンと、を備え、前記連結ピンには、前記連結金具よりも上方に、周方向に連続する環状溝が形成されている、転てつ棒連結構造を提供する。
【発明の効果】
【0010】
本出願によれば、連結ピンを挿通穴から容易に引き抜くことができる転てつ棒連結構造が提供される。
【図面の簡単な説明】
(【0011】以降は省略されています)
この特許をJ-PlatPat(特許庁公式サイト)で参照する
関連特許
日本精機株式会社
路面投影装置
1か月前
GX株式会社
仮設防護体
21日前
範多機械株式会社
路面切削機
1か月前
株式会社熊谷組
床版接合構造
2日前
GX株式会社
昇降式仮設防護体
12日前
GX株式会社
仮設防護体連結構造
1か月前
前田工繊株式会社
防護柵
14日前
株式会社熊谷組
床版継手装置、及び、床版
2日前
浅香工業株式会社
レーキ
9日前
中井商工株式会社
橋梁の桁端止水工法
2日前
株式会社トップ
立て看板用スロープおよび立て看板
1か月前
株式会社幸和道路
自走式道路路面標示文字描画車両
20日前
株式会社三共
足場用移動屋根装置及び橋梁用足場
22日前
株式会社NIPPO
法面機械
12日前
十武建設株式会社
舗装材吹付け装置、および吹付け施工方法
20日前
酒井重工業株式会社
振動ローラ
1か月前
共和ゴム株式会社
床版敷設シール材
26日前
株式会社栗本鐵工所
検査路及びステップ
29日前
株式会社大林組
新設床版の設置工法
1か月前
株式会社NIPPO
法面作業装置
12日前
株式会社NIPPO
路面切削装置及び路面切削方法
1か月前
株式会社NIPPO
法面作業装置
12日前
日本環境アメニティ株式会社
吊下げ式減音装置及び高架橋
1か月前
五洋建設株式会社
床版部材設置装置及び床版部材の設置方法
20日前
株式会社NIPPO
コンクリート舗装の施工方法
2日前
株式会社NIPPO
半たわみ性舗装及びその施工方法
1か月前
大成建設株式会社
床版接合部の設計方法
2日前
オリエンタル白石株式会社
床版設置高さ調整機構及び床版取替工法
1か月前
株式会社NIPPO
再生アスファルト混合物の製造方法
29日前
株式会社奥村組
鉄筋コンクリート柱の補強工法
1か月前
株式会社奥村組
鉄筋コンクリート柱の補強工法
1か月前
株式会社NIPPO
再生アスファルト混合物の製造方法
20日前
株式会社NIPPO
コンクリート舗装及びその施工方法
2日前
株式会社NIPPO
再生アスファルト混合物の製造方法
20日前
株式会社NIPPO
アスファルトフィニッシャ
23日前
オリエンタル白石株式会社
床版切断装置の逸走防止構造及び床版撤去工法
1か月前
続きを見る
他の特許を見る