TOP
|
特許
|
意匠
|
商標
特許ウォッチ
Twitter
他の特許を見る
公開番号
2025102372
公報種別
公開特許公報(A)
公開日
2025-07-08
出願番号
2023219784
出願日
2023-12-26
発明の名称
冷却用熱交換器
出願人
住友理工株式会社
代理人
弁理士法人笠井中根国際特許事務所
,
個人
,
個人
主分類
H01M
10/6556 20140101AFI20250701BHJP(基本的電気素子)
要約
【課題】冷却対象に重ね合わされる金属製の冷却面構成部材と、冷却面構成部材に重ね合わされて固着される合成樹脂製の流路部材との熱膨張による変形量の差を許容することができる、新規な構造の冷却用熱交換器を提供する。
【解決手段】冷却対象Bに重ね合わされる金属製の冷却面構成部材12と合成樹脂製の流路部材14とが相互に重ね合わされた積層構造とされており、それら冷却面構成部材12と流路部材14との重ね合わせ面間には冷却用の熱媒体が流れる冷却流路58が形成されている冷却用熱交換器10であって、冷却面構成部材12と流路部材14とが外周領域において弾性を備えた接着剤層54によって相互に接着されており、冷却面構成部材12と流路部材14とが、流路部材14の中央領域に設けられた直接接合部44において、接着剤を介しない直接接合によって相互に固定されている。
【選択図】図3
特許請求の範囲
【請求項1】
冷却対象に重ね合わされる金属製の冷却面構成部材と合成樹脂製の流路部材とが相互に重ね合わされた積層構造とされており、それら冷却面構成部材と流路部材との重ね合わせ面間には冷却用の熱媒体が流れる冷却流路が形成されている冷却用熱交換器であって、
前記冷却面構成部材と前記流路部材とが、外周領域において弾性を備えた接着剤層によって相互に接着されており、該流路部材の中央領域に設けられた直接接合部において、接着剤を介しない直接接合によって相互に固定されている冷却用熱交換器。
続きを表示(約 610 文字)
【請求項2】
前記流路部材における前記冷却面構成部材との接着部分には、接着剤が塗布されて前記接着剤層が形成される接着面が設けられていると共に、該接着面よりも該冷却面構成部材側へ突出して該接着剤層の厚さを規定する位置規定部が、該接着面の周囲に設けられている請求項1に記載の冷却用熱交換器。
【請求項3】
前記接着面と前記位置規定部との間には、前記接着剤層を構成する接着剤のはみ出しを許容する接着剤逃し部が、前記流路部材と前記冷却面構成部材との重ね合わせ面間に設けられている請求項2に記載の冷却用熱交換器。
【請求項4】
前記接着剤逃し部が該接着面の周囲に全周に亘って連続して設けられており、前記位置規定部が該接着剤逃し部の周囲に全周に亘って連続して設けられている請求項2又は3に記載の冷却用熱交換器。
【請求項5】
1つの前記冷却面構成部材に対して複数の前記流路部材が重ね合わされており、各該流路部材の前記中央領域にそれぞれ前記直接接合部が設けられている請求項1又は2に記載の冷却用熱交換器。
【請求項6】
1つの前記冷却面構成部材に対して1つの前記流路部材が重ね合わされている請求項1又は2に記載の冷却用熱交換器。
【請求項7】
前記直接接合部は、前記流路部材の中央の一か所だけに設けられている請求項1又は2に記載の冷却用熱交換器。
発明の詳細な説明
【技術分野】
【0001】
本発明は、例えば、電気自動車等の電動化車両におけるバッテリーパック等の冷却対象の冷却に用いられる冷却用熱交換器に関するものである。
続きを表示(約 1,900 文字)
【背景技術】
【0002】
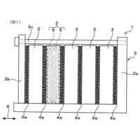
例えば、電気自動車やハイブリッド自動車等の電動化車両において、冷却対象であるバッテリーパックや電子機器等は、小型化や高性能化によって発熱量が大きくなっており、冷却性能の重要性が増している。従来では、相互に重ね合わされた金属製のプレート間に冷却流路が形成された構造の冷却用熱交換器が採用されていた。この冷却用熱交換器は、一方のプレートがバッテリーパック等の冷却対象に重ね合わされており、当該一方のプレートが冷却流路を流れる冷媒で冷却されることによって冷却対象が冷却されるようになっている。
【0003】
また、電動化車両では車両の軽量化への強い要求があることから、冷却用熱交換器の軽量化も検討されている。例えば、国際公開第2020/196878号(特許文献1)には、冷却対象に重ね合わされて熱伝導性が重要となる一方のプレートを金属製とし、熱伝導性を求められない他方のプレートを金属よりも比重が小さい合成樹脂製の樹脂部材とすることが提案されている。特許文献1において、樹脂部材は、上面において開口する箱体とされており、箱体内には流路形成用リブが箱体と一体的に設けられている。
【先行技術文献】
【特許文献】
【0004】
国際公開第2020/196878号
【発明の概要】
【発明が解決しようとする課題】
【0005】
しかし、本発明者が検討したところ、特許文献1の構造では、金属プレートと樹脂部材とを重ね合わせて接着等の手段で相互に固定すると、線膨張率の違いによる板厚方向の撓みが発生することが分かった。従って、著しく高温又は低温の環境下では、金属プレートと樹脂部材との熱膨張による変形量の差によって冷却用熱交換器が撓む等して、金属プレートと樹脂部材の剥離や冷却性能の低下を引き起こすことも考えられた。特に、電動化車両に用いられる冷却用熱交換器は、金属プレートと樹脂部材との重ね合わせ方向と直交する長さ方向及び幅方向のサイズが大きいことから、金属プレートと樹脂部材との線膨張率の違いによる変形量の差が問題になり易かった。
【0006】
本発明の解決課題は、冷却対象に重ね合わされる金属製の冷却面構成部材と、冷却面構成部材に重ね合わされて固着される合成樹脂製の流路部材との線膨張率の違いによる変形量の差を許容することができる、新規な構造の冷却用熱交換器を提供することにある。
【課題を解決するための手段】
【0007】
以下、本発明を把握するための好ましい態様について記載するが、以下に記載の各態様は、例示的に記載したものであって、適宜に互いに組み合わせて採用され得るだけでなく、各態様に記載の複数の構成要素についても、可能な限り独立して認識及び採用することができ、適宜に別の態様に記載の何れかの構成要素と組み合わせて採用することもできる。それによって、本発明では、以下に記載の態様に限定されることなく、種々の別態様が実現され得る。
【0008】
第一の態様は、冷却対象に重ね合わされる金属製の冷却面構成部材と合成樹脂製の流路部材とが相互に重ね合わされた積層構造とされており、それら冷却面構成部材と流路部材との重ね合わせ面間には冷却用の熱媒体が流れる冷却流路が形成されている冷却用熱交換器であって、前記冷却面構成部材と前記流路部材とが、外周領域において弾性を備えた接着剤層によって相互に接着されており、該流路部材の中央領域に設けられた直接接合部において、接着剤を介しない直接接合によって相互に固定されているものである。
【0009】
本態様に従う構造とされた冷却用熱交換器によれば、金属製の冷却面構成部材と合成樹脂製の流路部材とが、弾性を有する接着剤層によって相互に接着されていることから、例えば温度変化に対して、流路部材と冷却面構成部材との線膨張率の違いによる変形量の差が、接着剤層の弾性変形によって許容される。それゆえ、流路部材と冷却面構成部材との線膨張率の差に起因する冷却用熱交換器の反り等が軽減乃至は防止される。
【0010】
また、流路部材と冷却面構成部材は、流路部材の外周領域において、接着剤層で接着されていると共に、流路部材の中央領域に設けられた直接接合部において、接着剤層が介在しない直接接合によって相互に固定されている。このような直接接合部が設けられていることにより、流路部材と冷却面構成部材とのズレや分離が防止されると共に、流路部材と冷却面構成部材との線膨張率の違いによる接着剤層の損傷(剥離)等も防止される。
(【0011】以降は省略されています)
この特許をJ-PlatPat(特許庁公式サイト)で参照する
関連特許
住友理工株式会社
断熱材
21日前
住友理工株式会社
仕切り部材
今日
住友理工株式会社
摩擦ダンパ
11日前
住友理工株式会社
シール部材
1日前
住友理工株式会社
圧力センサ
今日
住友理工株式会社
防振ゴム部材
今日
住友理工株式会社
筒型防振装置
2日前
住友理工株式会社
防振ゴム部材
今日
住友理工株式会社
冷却用熱交換器
1日前
住友理工株式会社
筒型モータマウント
9日前
住友理工株式会社
電子写真機器用帯電ロール
2日前
住友理工株式会社
電子写真機器用帯電ロール
2日前
住友理工株式会社
ラテックス組成物の評価方法
今日
住友理工株式会社
電池モジュール用緩衝シート
今日
住友理工株式会社
シート用振動低減装置および乗員状態推定システム
今日
住友理工株式会社
建造物用ゴム製品の補修工法および建造物用ゴム製品
1日前
住友理工株式会社
押出成形用ゴム組成物、ホース、およびホースの製造方法
今日
住友理工株式会社
咬合力センサシート
21日前
個人
フレキシブル電気化学素子
今日
日本発條株式会社
積層体
11日前
株式会社ユーシン
操作装置
今日
ローム株式会社
半導体装置
2日前
ローム株式会社
半導体装置
9日前
ローム株式会社
半導体装置
9日前
個人
防雪防塵カバー
11日前
ローム株式会社
半導体装置
7日前
ローム株式会社
半導体装置
9日前
個人
半導体パッケージ用ガラス基板
10日前
株式会社ホロン
冷陰極電子源
7日前
オムロン株式会社
電磁継電器
1日前
株式会社GSユアサ
蓄電装置
7日前
株式会社GSユアサ
蓄電設備
今日
太陽誘電株式会社
全固体電池
7日前
太陽誘電株式会社
コイル部品
今日
株式会社GSユアサ
蓄電設備
今日
株式会社GSユアサ
蓄電装置
11日前
続きを見る
他の特許を見る