TOP
|
特許
|
意匠
|
商標
特許ウォッチ
Twitter
他の特許を見る
10個以上の画像は省略されています。
公開番号
2025135978
公報種別
公開特許公報(A)
公開日
2025-09-19
出願番号
2024034092
出願日
2024-03-06
発明の名称
ガラスシートの製造方法およびガラスキャップの製造方法
出願人
株式会社テクニスコ
代理人
弁理士法人ATEN
,
弁理士法人愛宕綜合特許事務所
主分類
C03B
23/035 20060101AFI20250911BHJP(ガラス;鉱物またはスラグウール)
要約
【課題】ドーム状のガラスキャップを量産する際の生産性の向上が可能となるガラスシートの製造方法を提供する。
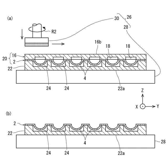
【解決手段】ガラスシートの製造方法は、複数の円形凹部18を形成した基板16にガラスシート2の第1面2aと反対側の第2面2bを仮接合する仮接合工程と、ガラスシート2の軟化点を上回る温度にガラスシート2および基板16を加熱するとともにガラスシート2および基板16の周囲の圧力を低下させることによってガラスシート2における複数の円形凹部18に対応する部分をガラスシート2の第1面2a側にドーム状に突出させて複数の突出部4をガラスシート2に形成する突出部形成工程と、ガラスシート2に仮接合された基板16を研削または研磨することによってガラスシート2に仮接合された基板16を除去する除去工程とを含む。
【選択図】図10
特許請求の範囲
【請求項1】
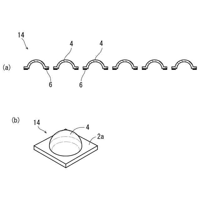
ドーム状に突出する複数の突出部を有する平面状のガラスシートであって、
前記ガラスシートの前記複数の突出部を有する第1面に直交する方向に見て、前記突出部の直径が50mmより小さいガラスシート。
続きを表示(約 810 文字)
【請求項2】
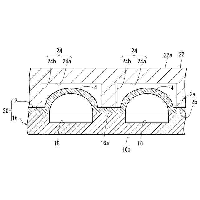
前記複数の突出部は前記ガラスシートの前記第1面側に突出しており、前記ガラスシートの前記第1面と反対側の第2面のうち前記複数の突出部の周囲の前記複数の突出部が形成されていない部分に、はんだ材で被覆された少なくとも1つのはんだ部を有する、請求項1に記載のガラスシート。
【請求項3】
前記はんだ部の数量は前記複数の突出部の数量と同じであり、
複数の前記はんだ部は、前記複数の突出部のそれぞれの周囲に形成される、請求項1または2に記載のガラスシート。
【請求項4】
第1面にドーム状に突出する複数の突出部を有する平面状のガラスシートの製造方法であって、
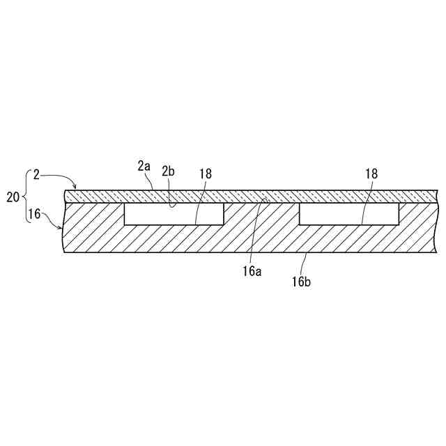
複数の円形凹部を形成した基板に前記ガラスシートの前記第1面と反対側の第2面を仮接合する仮接合工程と、
前記ガラスシートの軟化点を上回る温度に前記ガラスシートおよび前記基板を加熱するとともに、前記ガラスシートおよび前記基板の周囲の圧力を低下させることによって、前記ガラスシートにおける前記複数の円形凹部に対応する部分を前記ガラスシートの前記第1面側に前記ドーム状に突出させて前記複数の突出部を前記ガラスシートに形成する突出部形成工程と、
前記ガラスシートに仮接合された前記基板を研削または研磨することによって、前記ガラスシートに仮接合された前記基板を除去する除去工程と、を含むガラスシートの製造方法。
【請求項5】
前記除去工程を実施した後、前記ガラスシートの前記第2面のうち前記複数の突出部の周囲の前記複数の突出部が形成されていない部分に、はんだ材で被覆されたはんだ部を形成する被覆工程を実施する、請求項4に記載のガラスシートの製造方法。
【請求項6】
前記基板はガラス製またはシリコン製である、請求項4または5に記載のガラスシートの製造方法。
発明の詳細な説明
【技術分野】
【0001】
本発明は、ドーム状(中空の半球状)のガラスキャップを量産する際の生産性の向上を可能とするガラスシートおよびガラスシートの製造方法に関する。
続きを表示(約 1,600 文字)
【背景技術】
【0002】
近年、ドーム状のガラスキャップが様々な装置(たとえば、レーザダイオード、フォトダイオード、発光ダイオード、MEMSミラー等)に搭載されている。一般的にドーム状のガラスキャップは、封止用はんだ材によって各種装置に装着される(たとえば特許文献1参照)。
【先行技術文献】
【特許文献】
【0003】
特開2021-174852号公報
【発明の概要】
【発明が解決しようとする課題】
【0004】
しかし、ドーム状のガラスキャップは、モールド工法によりチップ単位で製造されているため、量産には不向きである。また、封止用はんだ材をガラスキャップに被覆する工程もチップ単位で行わなくてはならない。さらに、ガラスキャップの寸法または形状を変更する場合には、新たな金型を作製する必要がある。そして、金型を用いる場合は、金型材料とガラス材料の膨張係数の違いによる影響があり、量産できるガラスキャップの大きさ(例えば、ガラスキャップの直径が50mm以上)に限界があった。このようなことから、ドーム状のガラスキャップを量産する際の生産性の向上が求められている。
【0005】
本発明の課題は、ドーム状のガラスキャップを量産する際の生産性の向上が可能となるガラスシートおよびガラスシートの製造方法を提供することである。
【課題を解決するための手段】
【0006】
本発明によれば、上記課題を解決する以下のガラスシートが提供される。すなわち、
「ドーム状に突出する複数の突出部を有する平面状のガラスシートであって、前記ガラスシートの前記複数の突出部を有する第1面に直交する方向に見て、前記突出部の直径が50mmより小さいガラスシート」が提供される。
【0007】
前記複数の突出部は前記ガラスシートの前記第1面側に突出しており、前記ガラスシートの前記第1面と反対側の第2面のうち前記複数の突出部の周囲の前記複数の突出部が形成されていない部分に、はんだ材で被覆された少なくとも1つのはんだ部を有するのが好適である。前記はんだ部の数量は前記複数の突出部の数量と同じであり、複数の前記はんだ部は、前記複数の突出部のそれぞれの周囲に形成されるのが好都合である。
【0008】
また、本発明によれば、上記課題を解決する以下のガラスシートの製造方法が提供される。すなわち、
「第1面にドーム状に突出する複数の突出部を有する平面状のガラスシートの製造方法であって、
複数の円形凹部を形成した基板に前記ガラスシートの前記第1面と反対側の第2面を仮接合する仮接合工程と、
前記ガラスシートの軟化点を上回る温度に前記ガラスシートおよび前記基板を加熱するとともに、前記ガラスシートおよび前記基板の周囲の圧力を低下させることによって、前記ガラスシートにおける前記複数の円形凹部に対応する部分を前記ガラスシートの前記第1面側に前記ドーム状に突出させて前記複数の突出部を前記ガラスシートに形成する突出部形成工程と、
前記ガラスシートに仮接合された前記基板を研削または研磨することによって、前記ガラスシートに仮接合された前記基板を除去する除去工程と、を含むガラスシートの製造方法」が提供される。
【0009】
前記除去工程を実施した後、前記ガラスシートの前記第2面のうち前記複数の突出部の周囲の前記複数の突出部が形成されていない部分に、はんだ材で被覆されたはんだ部を形成する被覆工程を実施するのが望ましい。前記基板はガラス製またはシリコン製でよい。
【発明の効果】
【0010】
本発明のガラスシートおよび本発明の製造方法によれば、ドーム状のガラスキャップを量産する際の生産性の向上が可能となる。
【図面の簡単な説明】
(【0011】以降は省略されています)
この特許をJ-PlatPat(特許庁公式サイト)で参照する
関連特許
株式会社テクニスコ
ガラスシートの製造方法およびガラスキャップの製造方法
17日前
日本電気硝子株式会社
ガラス材
5か月前
個人
ガラス製品の製造方法
3か月前
株式会社フジクラ
シール装置
4か月前
日本電気硝子株式会社
ガラスの製造方法
3か月前
日本電気硝子株式会社
ガラス繊維用組成物
4か月前
日本電気硝子株式会社
ガラス繊維用組成物
3か月前
日本板硝子株式会社
自動車用窓ガラス
5か月前
株式会社オハラ
光学ガラス
4か月前
AGC株式会社
ガラス板の製造方法
5か月前
信越化学工業株式会社
ガラス母材の延伸方法
3か月前
AGC株式会社
車両用窓ガラスとその製造方法
4日前
日本電気硝子株式会社
フィーダー
4か月前
AGC株式会社
感光性ガラス
25日前
日本電気硝子株式会社
ガラスの製造方法
1か月前
AGC株式会社
複層ガラス、高地対応複層ガラス
18日前
AGC株式会社
ガラスペースト
4か月前
信越化学工業株式会社
光ファイバ母材の製造方法
2か月前
日本電気硝子株式会社
ガラス製造装置
4日前
日本板硝子株式会社
ビル用複層ガラス
1か月前
株式会社オハラ
光学ガラスおよび光学素子
4か月前
AGC株式会社
合わせガラス
1か月前
信越化学工業株式会社
石英ガラス棒およびその製造方法
10日前
日本電気硝子株式会社
ガラス板の製造方法
17日前
AGC株式会社
複層ガラス、及び複層ガラスの製造方法
5か月前
AGC株式会社
複層ガラス、及び複層ガラスの製造方法
5か月前
日本板硝子株式会社
車両用合わせガラス体
3か月前
白金科技股分有限公司
微小球およびその調製方法
2か月前
信越化学工業株式会社
光ファイバ用多孔質母材の搬送装置
4か月前
AGC株式会社
ガラス及びその製造方法
3か月前
AGC株式会社
洗浄部材の位置決め方法
4か月前
AGC株式会社
成形装置、及び成形方法
3か月前
日本電気硝子株式会社
ガラス物品の製造方法
1か月前
東洋ガラス株式会社
ガラス製造装置
5か月前
日本電気硝子株式会社
ガラス物品の製造方法
5か月前
日本板硝子株式会社
車両用調光合わせガラス
2か月前
続きを見る
他の特許を見る