TOP
|
特許
|
意匠
|
商標
特許ウォッチ
Twitter
他の特許を見る
公開番号
2025140048
公報種別
公開特許公報(A)
公開日
2025-09-29
出願番号
2024039200
出願日
2024-03-13
発明の名称
プリンタ、及び切断ユニット
出願人
ブラザー工業株式会社
代理人
個人
,
個人
主分類
B41J
29/00 20060101AFI20250919BHJP(印刷;線画機;タイプライター;スタンプ)
要約
【課題】簡単な構成で切断刃に発生するノイズを除去できるプリンタ、及び切断ユニットを提供する。
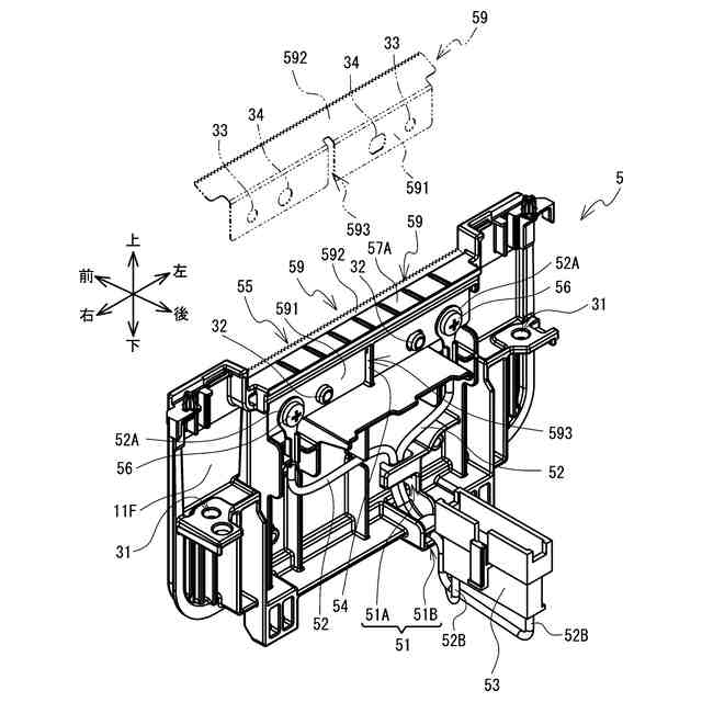
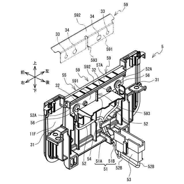
【解決手段】第一ユニット5は、第一切断刃59、第一ハーネス52、第二コネクタ53を備える。第一切断刃59は、印刷部で印刷された媒体を切断する。第一ハーネス52は、第一切断刃59に一端が接続する。第二コネクタ53は、第一コネクタに接続可能であり、第一ハーネス52の他端に接続する。第一ユニット5が装着部に装着され、且つ第二コネクタ53が第一コネクタに接続された状態で、第一切断刃59は、第一ハーネス52と第二コネクタ53と第一コネクタとを介して、基板のグラウンドに導通する。
【選択図】図5
特許請求の範囲
【請求項1】
筐体と、
前記筐体の内部に収容され、媒体に印刷を行う印刷部と、
前記筐体の内部に収容される基板と、
前記基板に電気的に接続される第一コネクタと、
前記筐体に設けられた装着部と、
前記装着部に着脱可能に装着される第一ユニットと
を備え、
前記第一ユニットは、
前記印刷部で印刷された前記媒体を切断する第一切断刃と、
前記第一切断刃に一端が接続する第一ハーネスと、
前記第一コネクタに接続可能であり、前記第一ハーネスの他端に接続する第二コネクタと
を備え、
前記第一ユニットが前記装着部に装着され、且つ前記第二コネクタが前記第一コネクタに接続された状態で、前記第一切断刃は、前記第一ハーネスと前記第二コネクタと前記第一コネクタとを介して、前記基板のグラウンドに導通する
ことを特徴とするプリンタ。
続きを表示(約 1,700 文字)
【請求項2】
前記装着部には、前記第一ユニットと第二ユニットが選択的に装着可能であって、
前記第二ユニットは、
所定の電気信号に基づき駆動される駆動機構と、
前記駆動機構に電気的に一端が接続される第二ハーネスと、
前記第二ハーネスの他端が接続され、前記第一コネクタと接続可能な第三コネクタと
を備えた
ことを特徴とする請求項1に記載のプリンタ。
【請求項3】
前記筐体は、
前記装着部を備え、上方に開口する本体部と、
前記本体部の前記開口を開閉する開閉カバーと
を備え、
前記開閉カバーには、前記開閉カバーが閉じた状態で、前記第一切断刃に前記上方から対向する第二切断刃が設けられる
ことを特徴とする請求項1に記載のプリンタ。
【請求項4】
前記印刷部は、
前記媒体を搬送するプラテンローラと、
前記媒体へ印刷を実行する印刷ヘッドと
を含み、
前記開閉カバーは、
前記プラテンローラへ向けて前記印刷ヘッドを下方に付勢する付勢部材と、
前記付勢部材を支持する導電性の板部材と
を備え、
前記第二切断刃は、前記板部材に電気的に接続される
ことを特徴とする請求項3に記載のプリンタ。
【請求項5】
前記第一ハーネスは、複数設けられる
ことを特徴とする請求項1に記載のプリンタ。
【請求項6】
前記第二コネクタには、直線状に並ぶ複数のピンが設けられ、
前記複数のピンのうち、最も端に配置された両端のピンが前記グラウンドに導通され、
二本の前記第一ハーネスが設けられ、
前記二本の前記第一ハーネスの前記他端は、夫々、前記第二コネクタの前記両端のピンに接続される
ことを特徴とする請求項5に記載のプリンタ。
【請求項7】
前記第一ユニットは、
前記印刷部で印刷した前記媒体を支持する支持面を備えた板状部材
を備え、
前記支持面で支持された前記媒体の下方に前記第一切断刃が配置され、
前記第一切断刃は、
前記板状部材の前記支持面とは反対側の固定面に配置され、前記媒体の搬送方向に直交する延伸方向に延びる板状の第一部分と、
上方に位置する前記支持面で支持された前記媒体に向けて、前記第一部分の前記搬送方向の下流側の端部から前記上方に延び、前記媒体を切断する板状の第二部分と
を備え、
二つの前記第一ハーネスが設けられ、
一方の前記第一ハーネスの前記一端が、前記第一部分の前記延伸方向における一方側の端部を介して前記固定面にネジで固定され、
他方の前記第一ハーネスの前記一端が、前記第一部分の前記延伸方向における他方側の端部を介して前記固定面にネジで固定される
ことを特徴とする請求項5に記載のプリンタ。
【請求項8】
前記第一ユニットは、上下方向に延び、下方から前記板状部材の前記延伸方向の中央部を支持する支持部材を備え、
前記第一部分は、前記延伸方向の中央部にスリットを備え、
前記スリットが前記支持部材に差し込まれた状態で、前記第一部分は、前記固定面に固定される
ことを特徴とする請求項7に記載のプリンタ。
【請求項9】
媒体に印刷を実行する印刷部と、基板と、前記基板に電気的に接続される本体コネクタとを備えたプリンタの装着部に装着される切断ユニットであって、
前記印刷部で印刷された前記媒体を切断する切断刃と、
前記切断刃に一端が接続するハーネスと、
前記ハーネスの他端が接続され、前記本体コネクタに接続可能なコネクタと
を備え、
前記切断ユニットが前記装着部に装着され、且つ前記コネクタが前記本体コネクタに接続された状態で、前記切断刃は、前記ハーネスと前記コネクタと前記本体コネクタとを介して、前記基板のグラウンドに導通する
ことを特徴とする切断ユニット。
発明の詳細な説明
【技術分野】
【0001】
本発明は、プリンタ、及び切断ユニットに関する。
続きを表示(約 2,000 文字)
【背景技術】
【0002】
特許文献1のプリンタは、本体部、可動部、排出口、第一切断部、及び第二切断部を備える。本体部は、ロール紙を収容する。可動部は、本体部に対して開閉可能に設けられる。排出口は、本体部と可動部とにより形成される。第一切断部と第二切断部は、カッター刃で夫々構成される。第一切断部は、本体部に設けられる。第一切断部は、排出口から排出されるロール紙をカッター刃で切断する。第二切断部は、可動部に設けられる。第二切断部は、排出口から排出されるロール紙をカッター刃で切断する。
【先行技術文献】
【特許文献】
【0003】
特開2014-176916号公報
【発明の概要】
【発明が解決しようとする課題】
【0004】
上記プリンタの切断部には、カッター刃と媒体との摺動により静電気が発生する。静電気を除去する手段として、カッター刃をプリンタの筐体又は金属フレームに接続することが考えられる。仮に、カッター刃を筐体の金属フレーム等にネジやはんだ付けで接続する場合、作業者にとって作業が手間であった。
【0005】
本発明の目的は、簡単な構成で切断刃に発生するノイズを除去できるプリンタ、及び切断ユニットを提供することである。
【課題を解決するための手段】
【0006】
本発明の第一態様に係るプリンタは、筐体と、前記筐体の内部に収容され、媒体に印刷を行う印刷部と、前記筐体の内部に収容される基板と、前記基板に電気的に接続される第一コネクタと、前記筐体に設けられた装着部と、前記装着部に着脱可能に装着される第一ユニットとを備え、前記第一ユニットは、前記印刷部で印刷された前記媒体を切断する第一切断刃と、前記第一切断刃に一端が接続する第一ハーネスと、前記第一コネクタに接続可能であり、前記第一ハーネスの他端に接続する第二コネクタとを備え、前記第一ユニットが前記装着部に装着され、且つ前記第二コネクタが前記第一コネクタに接続された状態で、前記第一切断刃は、前記第一ハーネスと前記第二コネクタと前記第一コネクタとを介して、前記基板のグラウンドに導通することを特徴とする。
【0007】
上記プリンタでは、第一ユニットのプリンタへの装着時、作業者は、第一ユニットの第二コネクタを第一コネクタに接続させる。その後、作業者は、第一ユニットを装着部に装着する。故に、作業者は、簡単な作業で第一ユニットをプリンタに装着できる。また、第一切断刃がグラウンドに導通するので、プリンタは、第一切断刃に発生する静電気などのノイズを除去できる。故に、プリンタは、簡単な構成で切断刃に発生するノイズを除去できる。
【0008】
本発明において、前記装着部には、前記第一ユニットと第二ユニットが選択的に装着可能であって、前記第二ユニットは、所定の電気信号に基づき駆動される駆動機構と、前記駆動機構に電気的に一端が接続される第二ハーネスと、前記第二ハーネスの他端が接続され、前記第一コネクタと接続可能な第三コネクタとを備えてもよい。作業者は、第一ユニットを装着部から取り外す。作業者は、第二コネクタを第一コネクタから取り外す。故に、第一ユニットは、プリンタから取り外される。次いで、作業者は、第三コネクタを第一コネクタへ接続する。作業者は、第二ユニットを装着部へ装着する。故に、第二ユニットは、プリンタに装着される。第一ユニットと第二ユニットは、夫々のコネクタがプリンタの第一コネクタに共通して接続するので、組み立てが簡単である。なお、第二ユニットから第一ユニットへ交換する場合も同様である。故に、作業者は、第一ユニットと第二ユニットの交換を容易に行うことができる。
【0009】
本発明において、前記筐体は、前記装着部を備え、上方に開口する本体部と、前記本体部の前記開口を開閉する開閉カバーとを備え、前記開閉カバーには、前記開閉カバーが閉じた状態で、前記第一切断刃に前記上方から対向する第二切断刃が設けられてもよい。作業者は、印刷済の媒体を下方に引っ張ることで、第一切断刃で媒体を切断できる。また、作業者は、印刷済の媒体を上方へ引っ張ることで、第二切断刃で媒体を切断できる。
【0010】
本発明において、前記印刷部は、前記媒体を搬送するプラテンローラと、前記媒体へ印刷を実行する印刷ヘッドとを含み、前記開閉カバーは、前記プラテンローラへ向けて前記印刷ヘッドを下方に付勢する付勢部材と、前記付勢部材を支持する導電性の板部材とを備え、前記第二切断刃は、前記板部材に電気的に接続されてもよい。プリンタは、第二切断刃の静電気も板部材を介して除去できる。
(【0011】以降は省略されています)
この特許をJ-PlatPat(特許庁公式サイト)で参照する
関連特許
ブラザー工業株式会社
制御装置
5日前
ブラザー工業株式会社
搬送装置
3日前
ブラザー工業株式会社
画像形成装置
1日前
ブラザー工業株式会社
画像形成装置
1日前
ブラザー工業株式会社
画像形成装置
1日前
ブラザー工業株式会社
画像形成装置
1日前
ブラザー工業株式会社
画像形成装置
2日前
ブラザー工業株式会社
画像形成装置
9日前
ブラザー工業株式会社
画像形成装置
5日前
ブラザー工業株式会社
液体吐出ヘッド
1日前
ブラザー工業株式会社
液体吐出ヘッド
5日前
ブラザー工業株式会社
サポートプログラム
8日前
ブラザー工業株式会社
システム及び管理装置
3日前
ブラザー工業株式会社
システム及びプログラム
3日前
ブラザー工業株式会社
システム及びプログラム
3日前
ブラザー工業株式会社
プリンタ、及び切断ユニット
5日前
ブラザー工業株式会社
プログラム及び情報処理装置
5日前
ブラザー工業株式会社
システムおよび画像形成装置
9日前
ブラザー工業株式会社
仮想プリンタ管理プログラム
1日前
ブラザー工業株式会社
カシメ装置及び缶製品作製装置
9日前
ブラザー工業株式会社
プログラムおよび情報処理装置
5日前
ブラザー工業株式会社
プログラム、および、画像処理装置
1日前
ブラザー工業株式会社
画像形成装置及び画像形成システム
1日前
ブラザー工業株式会社
トナーカートリッジのリサイクル方法
2日前
ブラザー工業株式会社
画像処理プログラム及び情報処理装置
5日前
ブラザー工業株式会社
プログラム、および、データ処理装置
5日前
ブラザー工業株式会社
回転継手装置、モータ、及び工作機械
9日前
ブラザー工業株式会社
画像処理プログラム及び情報処理装置
1日前
ブラザー工業株式会社
情報処理プログラム及び情報処理装置
1日前
ブラザー工業株式会社
情報処理プログラム及び情報処理装置
2日前
ブラザー工業株式会社
画像処理装置、画像処理方法、および、プログラム
5日前
ブラザー工業株式会社
プリンタ及びプリンタのためのコンピュータプログラム
1日前
ブラザー工業株式会社
通信装置及び通信装置のためのコンピュータプログラム
5日前
ブラザー工業株式会社
画像処理プログラム、情報処理装置、及び画像処理方法
5日前
ブラザー工業株式会社
サポートプログラム
4日前
ブラザー工業株式会社
通信装置、画像処理装置、及びそれらのためのコンピュータプログラム
5日前
続きを見る
他の特許を見る