TOP
|
特許
|
意匠
|
商標
特許ウォッチ
Twitter
他の特許を見る
公開番号
2025136402
公報種別
公開特許公報(A)
公開日
2025-09-19
出願番号
2024034960
出願日
2024-03-07
発明の名称
燃料噴射ポンプ
出願人
株式会社ジャパンエンジンコーポレーション
代理人
弁理士法人酒井国際特許事務所
主分類
F02M
59/26 20060101AFI20250911BHJP(燃焼機関;熱ガスまたは燃焼生成物を利用する機関設備)
要約
【課題】プランジャバレルの変形を抑えつつ燃料噴射ポンプを小型化する。
【解決手段】本発明に係る燃料噴射ポンプは、軸方向に形成された孔を中心部に有する本体部と、前記本体部に接して配置され、軸方向に形成された孔を中心部に有するプランジャバレルと、前記本体部の前記孔と前記プランジャバレルの前記孔に沿って移動するプランジャと、前記プランジャバレルの前記孔に面し、前記プランジャと対向する吐出弁と、を有し、前記プランジャバレルの前記孔において前記プランジャの先端と前記吐出弁との間に燃料圧縮室が設けられ、前記本体部と前記プランジャを介して前記燃料圧縮室に燃料が供給され、前記燃料圧縮室で前記プランジャにより前記燃料が圧縮され、前記プランジャバレルの肉厚は、前記燃料圧縮室の径方向において前記プランジャの直径より厚くなっている。
【選択図】図4
特許請求の範囲
【請求項1】
軸方向に形成された孔を中心部に有する本体部と、
前記本体部に接して配置され、軸方向に形成された孔を中心部に有するプランジャバレルと、
前記本体部の前記孔と前記プランジャバレルの前記孔に沿って移動するプランジャと、
前記プランジャバレルの前記孔に面し、前記プランジャと対向する吐出弁と、
を有し、
前記プランジャバレルの前記孔において前記プランジャの先端と前記吐出弁との間に燃料圧縮室が設けられ、
前記本体部と前記プランジャを介して前記燃料圧縮室に燃料が供給され、
前記燃料圧縮室で前記プランジャにより前記燃料が圧縮され、
前記プランジャバレルの肉厚は、前記燃料圧縮室の径方向において前記プランジャの直径より厚い
燃料噴射ポンプ。
続きを表示(約 280 文字)
【請求項2】
前記プランジャバレルは、前記本体部に挿入される細径部を有し、
前記本体部、前記細径部、及び前記プランジャを介して前記プランジャバレル内に燃料が供給される
請求項1に記載の燃料噴射ポンプ。
【請求項3】
前記燃料圧縮室は、前記本体部において前記プランジャバレルと接する端部より前記吐出弁側にある
請求項1に記載の燃料噴射ポンプ。
【請求項4】
前記プランジャバレルにおいて前記燃料圧縮室より径方向外側の部分は前記本体部の外に位置する
請求項1に記載の燃料噴射ポンプ。
発明の詳細な説明
【技術分野】
【0001】
本発明は、燃料噴射ポンプに関する。
続きを表示(約 1,400 文字)
【背景技術】
【0002】
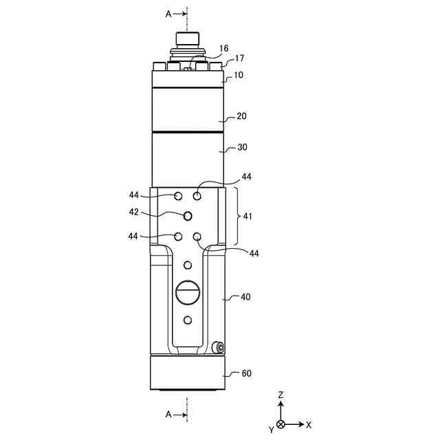
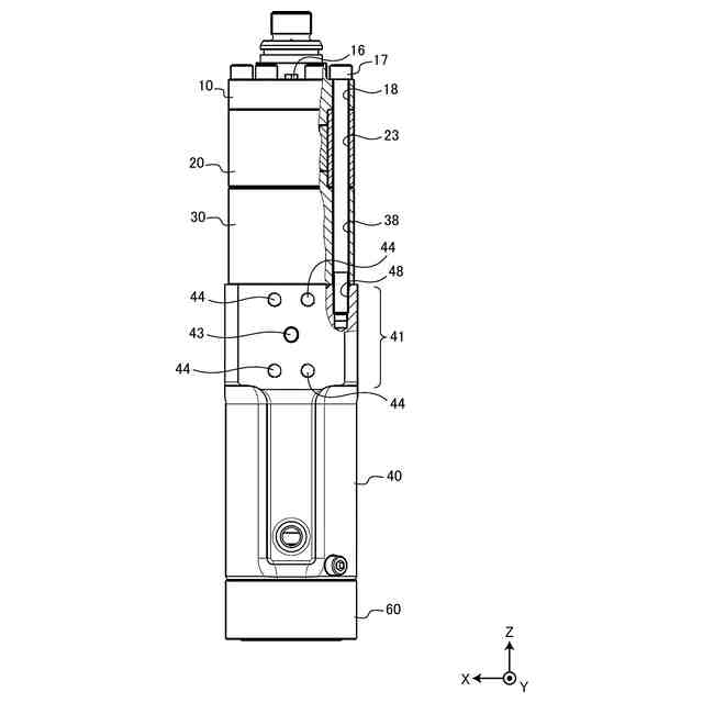
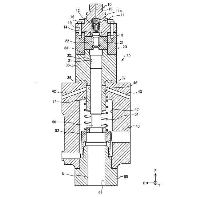
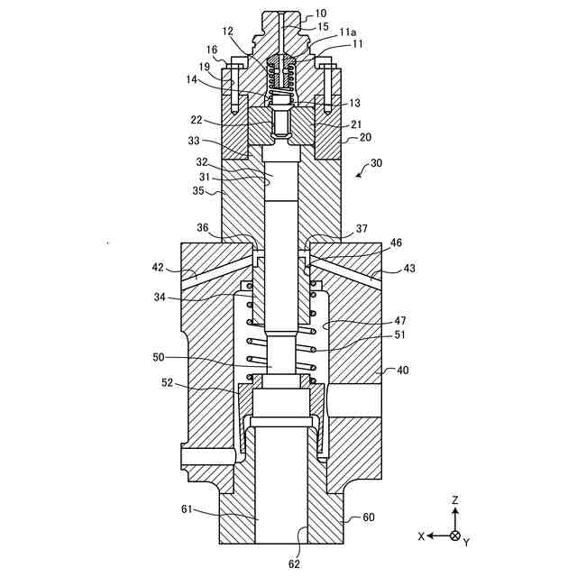
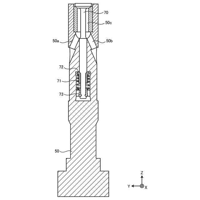
船舶に搭載される内燃機関の燃料噴射ポンプとして、例えば特許文献1に開示された燃料噴射ポンプがある。この燃料噴射ポンプでは、ポンプケース内にプランジャバレルが配置され、プランジャバレルに設けられた支持孔をプランジャが軸方向へ移動する。プランジャの上方の燃料圧縮室に燃料が供給され、上昇したプランジャにより燃料がプランジャバレル内で圧縮されて所定の圧力を超えると、プランジャバレルより上方に設けられた吐出弁の弁体が移動し、加圧された燃料が外部へ吐出される。
【先行技術文献】
【特許文献】
【0003】
特許第6837327号公報
【発明の概要】
【発明が解決しようとする課題】
【0004】
ポンプケース内にプランジャバレルが配置されている燃料噴射ポンプを小型化する場合、ポンプケースの径と共にプランジャバレルも外径を小さくすることになる。そうすると、プランジャバレルの径方向の肉厚が薄くなるため、プランジャバレルに設けられた支持孔は、燃料を圧縮するときの圧力によって中心から外径方向への変形が大きくなる。この変形が大きくなると、圧縮された燃料がプランジャとプランジャバレルの孔との隙間から漏れて、燃焼に使用されない燃料が生じてしまう。
【0005】
本発明は、上記に鑑みてなされたものであって、プランジャバレルの変形を抑えつつ燃料噴射ポンプを小型化することを目的とする。
【課題を解決するための手段】
【0006】
上述した課題を解決し、目的を達成するために、本発明に係る燃料噴射ポンプは、軸方向に形成された孔を中心部に有する本体部と、前記本体部に接して配置され、軸方向に形成された孔を中心部に有するプランジャバレルと、前記本体部の前記孔と前記プランジャバレルの前記孔に沿って移動するプランジャと、前記プランジャバレルの前記孔に面し、前記プランジャと対向する吐出弁と、を有し、前記プランジャバレルの前記孔において前記プランジャの先端と前記吐出弁との間に燃料圧縮室が設けられ、前記本体部と前記プランジャを介して前記燃料圧縮室に燃料が供給され、前記燃料圧縮室で前記プランジャにより前記燃料が圧縮され、前記プランジャバレルの肉厚は、前記燃料圧縮室の径方向において前記プランジャの直径より厚い構成である。
【0007】
本発明においては、前記プランジャバレルは、前記本体部に挿入される細径部を有し、前記本体部、前記細径部、及び前記プランジャを介して前記プランジャバレル内に燃料が供給される構成であってもよい。
【0008】
本発明においては、前記燃料圧縮室は、前記本体部において前記プランジャバレルと接する端部より前記吐出弁側にあってもよい。
【0009】
また、本発明においては、前記プランジャバレルにおいて前記燃料圧縮室より径方向外側の部分は前記本体部の外に位置する構成であってもよい。
【発明の効果】
【0010】
本発明によれば、プランジャバレルの変形を抑えつつ燃料噴射ポンプを小型化することができる。
【図面の簡単な説明】
(【0011】以降は省略されています)
この特許をJ-PlatPat(特許庁公式サイト)で参照する
関連特許
個人
流体式推力方向制御装置
2日前
朝日電装株式会社
スロットルグリップ装置
2日前
トヨタ自動車株式会社
閾値の設定装置
2日前
本田技研工業株式会社
EGRバルブ制御装置
2日前
トヨタ自動車株式会社
エンジン制御装置
2日前
トヨタ自動車株式会社
内燃機関の燃料供給装置
2日前
トヨタ自動車株式会社
インジェクタの制御装置
今日
ヤンマーホールディングス株式会社
エンジン装置
今日
ヤンマーホールディングス株式会社
エンジン装置
今日
ヤンマーホールディングス株式会社
エンジン装置
今日
ヤンマーホールディングス株式会社
エンジン装置
今日
ヤンマーホールディングス株式会社
エンジン装置
今日
ヤンマーホールディングス株式会社
エンジン装置
今日
大阪瓦斯株式会社
発電設備、及び発電方法
今日
ヤンマーホールディングス株式会社
エンジン装置
今日
トヨタ自動車株式会社
内燃機関の燃料噴射制御装置
今日
株式会社豊田自動織機
燃料噴射弁
6日前
ヤンマーホールディングス株式会社
エンジンシステム
今日
本田技研工業株式会社
内燃機関
5日前
スズキ株式会社
内燃機関の制御装置
12日前
いすゞ自動車株式会社
制御システム
今日
カワサキモータース株式会社
エンジン
2日前
ヤンマーホールディングス株式会社
アンモニア混焼エンジン
今日
ヤンマーホールディングス株式会社
アンモニア混焼エンジン
今日
ヤンマーホールディングス株式会社
エンジン
2日前
いすゞ自動車株式会社
EGRシステム及び車両
2日前
三菱重工エンジン&ターボチャージャ株式会社
ガスエンジン
5日前
日本ピストンリング株式会社
シリンダ、シリンダ内壁面の凹部加工方法
12日前
ヤンマーホールディングス株式会社
燃料供給装置及びエンジンシステム
12日前
ヤンマーホールディングス株式会社
燃料供給装置及びエンジンシステム
今日
朝日電装株式会社
スロットル操作装置
12日前
朝日電装株式会社
スロットル操作装置
12日前
朝日電装株式会社
スロットル操作装置
12日前
三菱重工業株式会社
排気設備、及びこれを備えるガスタービン
今日
株式会社豊田中央研究所
燃料供給装置
2日前
本田技研工業株式会社
車両用制御装置、制御方法及び鞍乗型車両
今日
続きを見る
他の特許を見る