TOP
|
特許
|
意匠
|
商標
特許ウォッチ
Twitter
他の特許を見る
公開番号
2025139807
公報種別
公開特許公報(A)
公開日
2025-09-29
出願番号
2024038846
出願日
2024-03-13
発明の名称
エンジン
出願人
ヤンマーホールディングス株式会社
代理人
弁理士法人 佐野特許事務所
主分類
F02B
39/00 20060101AFI20250919BHJP(燃焼機関;熱ガスまたは燃焼生成物を利用する機関設備)
要約
【課題】エンジンが備える過給機の振動を適切に抑制することができる技術を提供する。
【解決手段】例示的なエンジンは、エンジン本体1と過給機2とを備える。前記エンジン本体は、前記過給機を支持する支持部SPを有する。前記支持部は、動吸振器3を有する。前記動吸振器は、連結部4を介して前記過給機に接続される。
【選択図】図3
特許請求の範囲
【請求項1】
エンジン本体と過給機とを備えるエンジンであって、
前記エンジン本体は、前記過給機を支持する支持部を有し、
前記支持部は、動吸振器を有し、
前記動吸振器は、連結部を介して前記過給機に接続される、エンジン。
続きを表示(約 520 文字)
【請求項2】
前記動吸振器は、前記過給機よりも下方に配置される、請求項1に記載のエンジン。
【請求項3】
前記過給機は、
前記エンジン本体に設けられる排気通路部と接続される排気タービン部と、
前記排気タービン部の排気出口に接続される排気タービン下流通路部と、
を有し、
前記支持部は、前記動吸振器を取り付ける動吸振器取付部を有し、
前記連結部は、前記排気タービン下流通路部と前記動吸振器取付部とを接続する連結部材を含む、請求項1又は2に記載のエンジン。
【請求項4】
前記支持部は、前記動吸振器を複数有する、請求項1に記載のエンジン。
【請求項5】
前記複数の動吸振器は、上下方向の高さ位置がずれて配置される、請求項4に記載のエンジン。
【請求項6】
前記動吸振器は、
前記支持部に設けられる動吸振器取付部に吊り下げられると共に弾性体が載置される第1動吸振器フレームと、
前記弾性体を介して前記第1動吸振器フレームに支持されると共に錘を吊り下げる第2動吸振器フレームと、
を有する、請求項1に記載のエンジン。
発明の詳細な説明
【技術分野】
【0001】
本発明は、エンジンに関する。
続きを表示(約 1,200 文字)
【背景技術】
【0002】
従来、エンジンを据付対象物に据え付ける際に、エンジンと据付対象物との間に防振装置を配置することが知られている。例えば、特許文献1には、エンジンと船体との間で振動を互いに伝達しにくくするために、エンジンと船体との間に防振装置を設けることが開示されている。
【先行技術文献】
【特許文献】
【0003】
特開2019-183854号公報
【発明の概要】
【発明が解決しようとする課題】
【0004】
エンジンと据付対象物との間に防振装置を配置すると、据付対象物にエンジンの振動が伝わることは抑制できる。しかしながら、エンジンと据付対象物との間に防振装置が配置されると、エンジンが据付対象物に対して動かないように固定される場合と違って、エンジン自体は自由に振動可能となる。このようにエンジン自体が自由に振動できる場合、エンジン本体に取り付けられる過給機の振動が大きくなり、その振動レベルが問題になることがある。
【0005】
本発明は、エンジンが備える過給機の振動を適切に抑制することができる技術を提供することを目的とする。
【課題を解決するための手段】
【0006】
本発明の例示的なエンジンは、エンジン本体と過給機とを備える。前記エンジン本体は、前記過給機を支持する支持部を有する。前記支持部は、動吸振器を有する。前記動吸振器は、連結部を介して前記過給機に接続される。
【発明の効果】
【0007】
例示的な本発明によれば、エンジンが備える過給機の振動を適切に抑制することができる。
【図面の簡単な説明】
【0008】
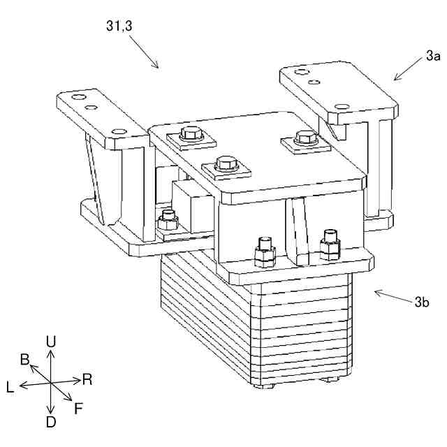
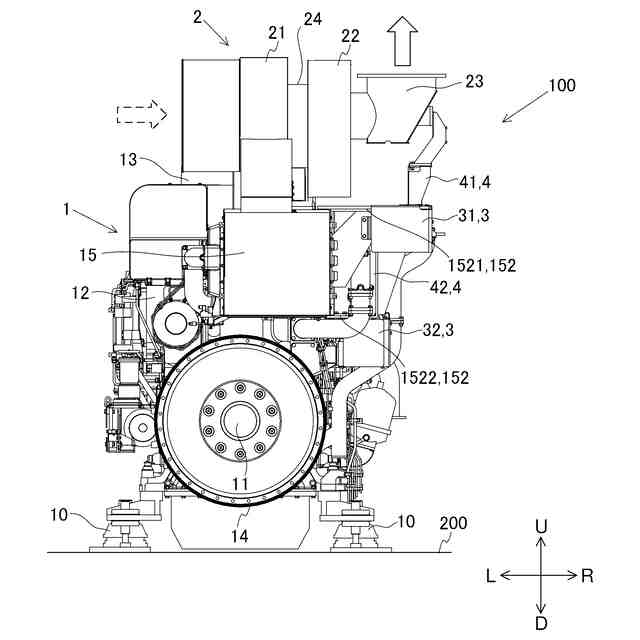
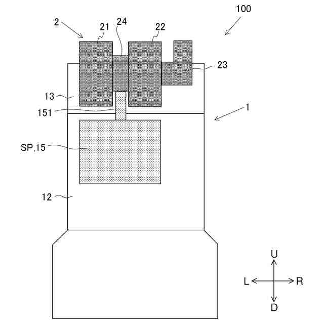
エンジンの概略の構成を示す正面図
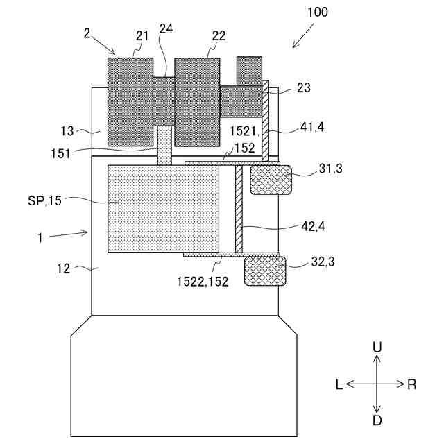
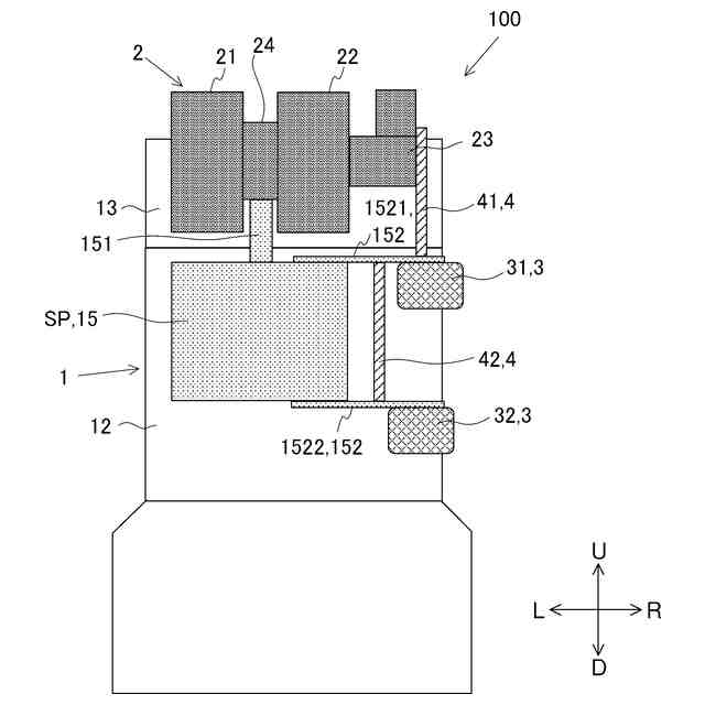
エンジン本体と過給機との関係を模式的に示すエンジンの正面図
動吸振器を備えるエンジンの構成を模式的に示す正面図
エンジンにおける動吸振器が配置される部分を拡大して示す概略拡大斜視図
第1動吸振器の概略の構成を示す斜視図
第1動吸振器の第1部分の概略の構成を示す斜視図
第1動吸振器の第2部分の概略の構成を示す斜視図
変形例に係る第1動吸振器の概略の構成を示す正面図
【発明を実施するための形態】
【0009】
本発明の例示的な実施形態について、図面を参照しながら説明する。なお、図中、同一又は相当部分については同一の参照符号を付し、特に説明の必要がない場合には、その説明を繰り返さない。
【0010】
<1.エンジンの概要>
図1は、本発明の実施形態に係るエンジン100の概略の構成を示す正面図である。図1を参照して、エンジン100の概要について説明する。
(【0011】以降は省略されています)
この特許をJ-PlatPat(特許庁公式サイト)で参照する
関連特許
トヨタ自動車株式会社
車両
24日前
ダイハツ工業株式会社
車両
22日前
トヨタ自動車株式会社
車両
27日前
トヨタ自動車株式会社
車両
29日前
ダイハツ工業株式会社
制御装置
21日前
ダイハツ工業株式会社
制御装置
21日前
スズキ株式会社
車両の制御装置
15日前
ダイハツ工業株式会社
制御装置
21日前
スズキ株式会社
内燃機関の制御装置
24日前
トヨタ自動車株式会社
車両の制御装置
13日前
トヨタ自動車株式会社
内燃機関
13日前
株式会社SUBARU
エンジン制御装置
21日前
株式会社SUBARU
エンジン制御装置
15日前
トヨタ自動車株式会社
内燃機関の制御装置
24日前
朝日電装株式会社
スロットルグリップ装置
3日前
個人
流体式推力方向制御装置
3日前
株式会社IHI原動機
脈動減衰装置
13日前
トヨタ自動車株式会社
閾値の設定装置
3日前
トヨタ自動車株式会社
車両の制御装置
29日前
トヨタ自動車株式会社
内燃機関の制御装置
1か月前
株式会社豊田自動織機
車両
23日前
トヨタ自動車株式会社
内燃機関の制御装置
24日前
本田技研工業株式会社
内燃機関の制御装置
13日前
本田技研工業株式会社
EGRバルブ制御装置
3日前
トヨタ自動車株式会社
エンジンシステムの診断装置
15日前
トヨタ自動車株式会社
エンジン制御装置
3日前
トヨタ自動車株式会社
インジェクタの制御装置
1日前
トヨタ自動車株式会社
内燃機関の燃料供給装置
3日前
Astemo株式会社
内燃機関制御装置
1か月前
ヤンマーホールディングス株式会社
エンジン装置
1日前
ヤンマーホールディングス株式会社
エンジン装置
1日前
ヤンマーホールディングス株式会社
エンジン装置
1日前
大阪瓦斯株式会社
発電設備、及び発電方法
1日前
ヤンマーホールディングス株式会社
エンジン装置
1日前
愛三工業株式会社
吸気弁装置
15日前
ヤンマーホールディングス株式会社
エンジン装置
1日前
続きを見る
他の特許を見る