TOP
|
特許
|
意匠
|
商標
特許ウォッチ
Twitter
他の特許を見る
公開番号
2025142689
公報種別
公開特許公報(A)
公開日
2025-10-01
出願番号
2024042196
出願日
2024-03-18
発明の名称
エンジン装置
出願人
ヤンマーホールディングス株式会社
代理人
個人
,
個人
主分類
F02M
43/04 20060101AFI20250924BHJP(燃焼機関;熱ガスまたは燃焼生成物を利用する機関設備)
要約
【課題】2種類の燃料を互いに独立して噴射する1つの燃料噴射弁を適用し、温室効果ガス排出量の少ない低GHG燃料である主燃料を安定して燃焼することができるエンジン装置を提供する。
【解決手段】
エンジン装置1は、2種類の燃料を燃焼させて稼働するエンジン2と、エンジン2に対して2種類の燃料をそれぞれ個別に噴射可能な1つの燃料噴射弁7と、を備える。このエンジン装置1において、制御装置8は、2種類の燃料として、石油系燃料よりも温室効果ガス排出量の少ない低GHG燃料を含む主燃料と炭化水素系の副燃料とを、燃料噴射弁7によってエンジン2に噴射する際に、エンジン2の1サイクルにおいて、主燃料の総噴射量の50%を噴射する前に、副燃料の総噴射量の90%を噴射する。
【選択図】図1
特許請求の範囲
【請求項1】
2種類の燃料を燃焼させて稼働するエンジンと、
前記エンジンに対して前記2種類の燃料をそれぞれ個別に噴射可能な1つの燃料噴射弁と、を備えたエンジン装置において、
前記2種類の燃料として、石油系燃料よりも温室効果ガス排出量の少ない低GHG燃料を含む主燃料と炭化水素系の副燃料とを、前記燃料噴射弁によって前記エンジンに噴射する際に、前記エンジンの1サイクルにおいて、前記主燃料の総噴射量の50%を噴射する前に、前記副燃料の総噴射量の90%を噴射することを特徴とするエンジン装置。
続きを表示(約 520 文字)
【請求項2】
前記主燃料の噴射により前記エンジンの燃焼室で前記主燃料と空気との混合気が生成された状態で、前記燃焼室の径方向中心から前記副燃料を噴射することを特徴とする請求項1に記載のエンジン装置。
【請求項3】
前記副燃料の噴射により前記エンジンの燃焼室で前記副燃料と空気との混合気が生成された状態で、前記燃焼室の径方向中心から前記主燃料を噴射することを特徴とする請求項1に記載のエンジン装置。
【請求項4】
前記副燃料の噴射により前記エンジンの燃焼室で前記副燃料が着火した状態で、前記燃焼室の径方向中心から前記主燃料を噴射することを特徴とする請求項3に記載のエンジン装置。
【請求項5】
前記エンジンの1サイクルにおいて、前記主燃料の噴射を複数回行うことを特徴とする請求項1に記載のエンジン装置。
【請求項6】
前記エンジンの1サイクルにおいて、前記副燃料の噴射を複数回行うことを特徴とする請求項1に記載のエンジン装置。
【請求項7】
前記主燃料は、前記低GHG燃料としてアンモニア又はアルコールを含むことを特徴とする請求項1に記載のエンジン装置。
発明の詳細な説明
【技術分野】
【0001】
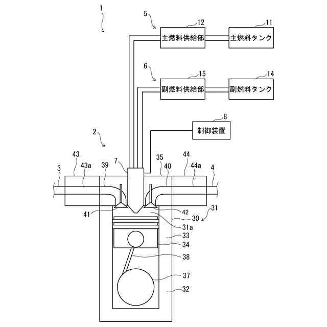
本発明は、2種類の燃料を燃焼させて稼働するエンジンと、エンジンに対して2種類の燃料をそれぞれ個別に噴射可能な1つの燃料噴射弁と、を備えたエンジン装置に関する。
続きを表示(約 2,000 文字)
【背景技術】
【0002】
従来、エンジン装置には、2種類の燃料を燃焼させて稼働するエンジンを備えたものがあり、このようなエンジンに対して2種類の燃料をそれぞれ個別に供給する必要がある。そこで、エンジン装置には、エンジンに対して2種類の燃料をそれぞれ個別に噴射可能な1つの燃料噴射弁を備える。
【0003】
例えば、特許文献1では、互いに異なる第1の燃料と第2の燃料とを共通の燃料噴射弁からシリンダ内に噴射する内燃機関の燃料噴射装置が開示されている。燃料噴射弁は、中心側に第1弁室が、外周側に第1弁室に対して隔壁で仕切られた第2弁室がそれぞれ設けられ、先端部には、第1弁室に通じる第1噴孔と、第2弁室に通じる第2噴孔とが設けられたバルブ本体と、第1噴孔を開閉できるようにして第1弁室に配置された第1弁体と、第2噴孔を開閉できるようにして第2弁室に配置された第2弁体と、第1弁体を開閉駆動する第1駆動機構と、第1駆動機構による第1弁体の駆動とは独立して第2弁体を開閉駆動する第2駆動機構と、を具備し、第1の弁室又は第2の弁室の何れか一方の弁室には第1の燃料が、他方の弁室には他方の燃料がそれぞれ導かれる。
【先行技術文献】
【特許文献】
【0004】
特開2009-057884号公報
【発明の概要】
【発明が解決しようとする課題】
【0005】
特許文献1に開示されるような従来技術では、燃料噴射装置は、実質的に2セットのコモンレールシステムを合体させて備えていて、これらのコモンレールシステムを利用して1つの燃料噴射弁から互いに独立して2種類の燃料を噴射している。しかしながら、上記のような従来技術では、2セットのコモンレールシステムを利用して2つの燃料噴射弁から互いに独立して2種類の燃料を噴射するような他の技術と比較すると、構造的に複雑かつ精密であり、商用的にコストが高くなるため、製造が困難であるという問題がある。
【0006】
また、特許文献1では、2種類の燃料を噴射する制御方法や使用方法について限定的に開示するのみであるが、上記のような従来技術によって、アンモニア又はアルコール等の温室効果ガス排出量の少ない低GHG(Green House Gas)燃料である主燃料と、軽油等の炭化水素系燃料である副燃料とを、2種類の燃料噴射として噴射する場合の有効的利用方法については、何ら開示及び示唆していない。そのため、難燃性の主燃料の燃焼の不安定さを改善する、あるいは温室効果ガス排出量の低下を促進するといった課題がある。
【0007】
本発明は、2種類の燃料を互いに独立して噴射する1つの燃料噴射弁を適用し、温室効果ガス排出量の少ない低GHG燃料である主燃料を安定して燃焼することができるエンジン装置を提供することを目的とする。
【課題を解決するための手段】
【0008】
上記課題を解決するために、本発明のエンジン装置は、2種類の燃料を燃焼させて稼働するエンジンと、前記エンジンに対して前記2種類の燃料をそれぞれ個別に噴射可能な1つの燃料噴射弁と、を備えたエンジン装置において、前記2種類の燃料として、石油系燃料よりも温室効果ガス排出量の少ない低GHG燃料を含む主燃料と炭化水素系の副燃料とを、前記燃料噴射弁によって前記エンジンに噴射する際に、前記エンジンの1サイクルにおいて、前記主燃料の総噴射量の50%を噴射する前に、前記副燃料の総噴射量の90%を噴射することを特徴とする。
【発明の効果】
【0009】
本発明によれば、2種類の燃料を互いに独立して噴射する1つの燃料噴射弁を適用し、温室効果ガス排出量の少ない低GHG燃料である主燃料を安定して燃焼することができるエンジン装置を提供する。
【図面の簡単な説明】
【0010】
本発明の実施形態に係るエンジン装置の例を示す模式図である。
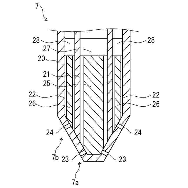
本発明の実施形態に係るエンジン装置における燃料噴射弁の例を示す模式図である。
本発明の実施形態に係るエンジン装置における主燃料及び副燃料の噴射時期の例を示すグラフである。
本発明の第1変形例に係るエンジン装置における主燃料及び副燃料の噴射時期の例を示すグラフである。
本発明の第2変形例に係るエンジン装置における主燃料及び副燃料の噴射時期の例を示すグラフである。
本発明の第3変形例に係るエンジン装置における主燃料及び副燃料の噴射時期の例を示すグラフである。
本発明の第4変形例に係るエンジン装置における主燃料及び副燃料の噴射時期の例を示すグラフである。
本発明の第5変形例に係るエンジン装置における主燃料及び副燃料の噴射時期の例を示すグラフである。
【発明を実施するための形態】
(【0011】以降は省略されています)
この特許をJ-PlatPat(特許庁公式サイト)で参照する
関連特許
スズキ株式会社
車両の制御装置
17日前
トヨタ自動車株式会社
車両の制御装置
15日前
トヨタ自動車株式会社
内燃機関
15日前
株式会社SUBARU
エンジン制御装置
17日前
個人
流体式推力方向制御装置
5日前
朝日電装株式会社
スロットルグリップ装置
5日前
株式会社IHI原動機
脈動減衰装置
15日前
トヨタ自動車株式会社
閾値の設定装置
5日前
トヨタ自動車株式会社
エンジン制御装置
1日前
本田技研工業株式会社
内燃機関の制御装置
15日前
日産自動車株式会社
内燃機関
1日前
日産自動車株式会社
内燃機関
1日前
株式会社デンソートリム
エンジン制御装置
1日前
トヨタ自動車株式会社
エンジンシステムの診断装置
17日前
本田技研工業株式会社
EGRバルブ制御装置
5日前
トヨタ自動車株式会社
インジェクタの制御装置
3日前
トヨタ自動車株式会社
エンジン制御装置
5日前
トヨタ自動車株式会社
内燃機関の燃料供給装置
5日前
トヨタ自動車株式会社
内燃機関の燃料供給装置
1日前
ヤンマーホールディングス株式会社
エンジン装置
3日前
ヤンマーホールディングス株式会社
エンジン装置
3日前
ヤンマーホールディングス株式会社
エンジン装置
3日前
ヤンマーホールディングス株式会社
エンジン装置
3日前
ヤンマーホールディングス株式会社
エンジン装置
3日前
愛三工業株式会社
吸気弁装置
17日前
大阪瓦斯株式会社
発電設備、及び発電方法
3日前
ヤンマーホールディングス株式会社
エンジン装置
3日前
ヤンマーホールディングス株式会社
エンジン装置
3日前
トヨタ自動車株式会社
内燃機関の燃料噴射制御装置
3日前
株式会社豊田自動織機
燃料噴射弁
9日前
ヤンマーホールディングス株式会社
エンジンシステム
3日前
スズキ株式会社
内燃機関の制御装置
15日前
本田技研工業株式会社
内燃機関
8日前
いすゞ自動車株式会社
制御システム
3日前
カワサキモータース株式会社
エンジン
5日前
ヤンマーホールディングス株式会社
アンモニア混焼エンジン
3日前
続きを見る
他の特許を見る