TOP
|
特許
|
意匠
|
商標
特許ウォッチ
Twitter
他の特許を見る
10個以上の画像は省略されています。
公開番号
2025143187
公報種別
公開特許公報(A)
公開日
2025-10-01
出願番号
2024216238
出願日
2024-12-11
発明の名称
アンモニア混焼エンジン
出願人
ヤンマーホールディングス株式会社
代理人
個人
,
個人
主分類
F02D
19/08 20060101AFI20250924BHJP(燃焼機関;熱ガスまたは燃焼生成物を利用する機関設備)
要約
【課題】任意のアンモニア混焼率での運転を可能にすると共に、燃焼安定性及び排気ガス性状を向上することができるアンモニア混焼エンジンを提供する。
【解決手段】
アンモニアと炭化水素系の液体燃料とを燃焼させて稼働するアンモニア混焼エンジン1は、制御ユニット2によって、燃料におけるアンモニアの混焼率の増加又は減少に応じて、燃料における空気過剰率の低下又は上昇と、液体燃料の噴射時期の進角又は遅角と、液体燃料の噴射圧の低下又は上昇とのうち、少なくとも1つを実施する。
【選択図】図1
特許請求の範囲
【請求項1】
アンモニアと炭化水素系の液体燃料とを燃焼させて稼働するアンモニア混焼エンジンにおいて、
燃料における前記アンモニアの混焼率の増加又は減少に応じて、前記燃料における空気過剰率の低下又は上昇と、前記液体燃料の噴射時期の進角又は遅角と、前記液体燃料の噴射圧の低下又は上昇とのうち、少なくとも1つを実施することを特徴とするアンモニア混焼エンジン。
続きを表示(約 590 文字)
【請求項2】
前記混焼率が10%増加する間に、前記空気過剰率を0.1~0.5だけ低下させることを特徴とする請求項1に記載のアンモニア混焼エンジン。
【請求項3】
前記混焼率が10%増加する間に、前記噴射時期を0.1~5.0degだけ進角させることを特徴とする請求項1に記載のアンモニア混焼エンジン。
【請求項4】
前記混焼率が10%増加する間に、前記噴射圧を1~30MPaだけ低下させることを特徴とする請求項1に記載のアンモニア混焼エンジン。
【請求項5】
前記混焼率の増加又は減少に応じて、前記空気過剰率、前記噴射時期及び前記噴射圧のうち、少なくとも2つ以上を同時に制御することを特徴とする請求項1に記載のアンモニア混焼エンジン。
【請求項6】
アンモニアと炭化水素系の液体燃料とを燃焼させて稼働するアンモニア混焼エンジンにおいて、
燃料における前記アンモニアの混焼率の増加に応じて、吸気温度の上昇と、1燃焼サイクルにおける前記液体燃料の噴射回数の増加と、吸気弁の閉弁時期の下死点タイミング方向へ向けた変更と、吸気バイパス量の増加と、過給機のウエストゲート開度の開弁方向への変更と、過給機の可変ノズルの調整による通路面積の増大とのうち、少なくとも1つを実施することを特徴とするアンモニア混焼エンジン。
発明の詳細な説明
【技術分野】
【0001】
本発明は、アンモニアと炭化水素系の液体燃料とを燃焼させて稼働するアンモニア混焼エンジンに関する。
続きを表示(約 2,200 文字)
【背景技術】
【0002】
従来、エンジンには、アンモニアと軽油等の炭化水素系の液体燃料とを燃焼させて稼働するアンモニア混焼エンジンがある。アンモニア混焼エンジンでは、排出する排気ガスの性状を向上することが求められる。
【0003】
例えば、特許文献1に開示されたアンモニア混焼エンジンは、燃焼室と、燃焼室にアンモニアを供給するアンモニア供給手段と、燃焼室に空気を供給する給気手段と、燃焼室に液体燃料を供給する液体燃料供給手段と、液体燃料とアンモニアの総供給量に対するアンモニアの供給量の比率を設定する燃料比率設定手段と、燃料比率設定手段の比率の設定に応じて液体燃料供給手段による液体燃料の供給タイミングを制御する供給タイミング制御手段とを備える。アンモニア混焼エンジンは、燃焼室への液体燃料の供給タイミングをアンモニアと空気の供給開始タイミングより遅くするとともに、燃料比率設定手段によって設定されたアンモニアの供給量の比率が大きくなるにつれて供給タイミング制御手段によって液体燃料の供給タイミングを早める制御を行う。
【0004】
また、特許文献1によれば、供給タイミング制御手段は、液体燃料供給手段による液体燃料の供給を多段噴射する制御を行う。アンモニア混焼エンジンは、液体燃料の供給タイミングとしての進角をエンジンの上死点(TDC)に対して-25°から-70°の範囲で設定する。液体燃料とアンモニアの総供給量に対するアンモニアの供給量の比率が1%以上95%以下の範囲である。
【先行技術文献】
【特許文献】
【0005】
特開2022-155927号公報
【発明の概要】
【発明が解決しようとする課題】
【0006】
アンモニア混焼エンジンでは、アンモニアの供給量を増加して混焼率を0~95%へと増加していくに従って、燃焼安定性が低下し、排気ガス性状が悪化するおそれがあり、排気ガスに含まれるNH
3
やN
2
Oが増加するおそれがある。特許文献1に開示されるような従来のアンモニア混焼エンジンでは、燃焼室への液体燃料の供給タイミングを制御することで排気ガス性状の向上を図っているが、液体燃料の供給タイミングを制御するだけでは、アンモニア混焼率の増加と、燃焼安定性及び排気ガス性状の向上とを両立することが困難である。
【0007】
本発明は、任意のアンモニア混焼率での運転を可能にすると共に、燃焼安定性及び排気ガス性状を向上することができるアンモニア混焼エンジンを提供することを目的とする。
【課題を解決するための手段】
【0008】
上記課題を解決するために、本発明のアンモニア混焼エンジンは、アンモニアと炭化水素系の液体燃料とを燃焼させて稼働するアンモニア混焼エンジンにおいて、燃料における前記アンモニアの混焼率の増加又は減少に応じて、前記燃料における空気過剰率の低下又は上昇と、前記液体燃料の噴射時期の進角又は遅角と、前記液体燃料の噴射圧の低下又は上昇とのうち、少なくとも1つを実施することを特徴とする。
【発明の効果】
【0009】
本発明によれば、任意のアンモニア混焼率での運転を可能にすると共に、燃焼安定性及び排気ガス性状を向上することができるアンモニア混焼エンジンを提供する。
【図面の簡単な説明】
【0010】
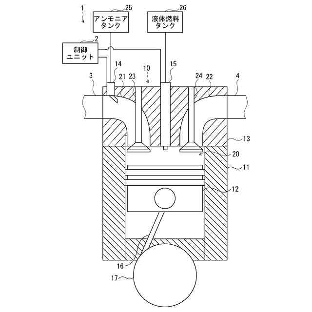
本発明の実施形態に係るアンモニア混焼エンジンを示す模式図である。
アンモニア混焼エンジンにおけるアンモニア混焼率と空気過剰率との関係における燃焼不安定性のマップを示すグラフである。
アンモニア混焼エンジンにおける液体燃料噴射時期と空気過剰率との関係における燃焼不安定性のマップを示すグラフである。
アンモニア混焼エンジンにおける液体燃料噴射圧と燃焼不安定性との関係を示すグラフである。
アンモニア混焼エンジンにおけるアンモニア混焼率と空気過剰率との関係における未燃アンモニアのマップを示すグラフである。
アンモニア混焼エンジンにおけるアンモニア混焼率と空気過剰率との関係におけるN
2
Oのマップを示すグラフである。
本発明の実施形態に係るアンモニア混焼エンジンにおいてアンモニア混焼率に対して設定される空気過剰率の例を示すグラフである。
本発明の実施形態に係るアンモニア混焼エンジンにおいてアンモニア混焼率に対して設定される液体燃料噴射時期の例を示すグラフである。
本発明の実施形態に係るアンモニア混焼エンジンにおいてアンモニア混焼率に対して設定される液体燃料噴射圧の例を示すグラフである。
本発明の他の例に係るアンモニア混焼エンジンを示す模式図である。
アンモニア混焼エンジンにおける燃焼温度と燃空当量比との関係における未燃アンモニアのマップを示すグラフである。
アンモニア混焼エンジンにおける燃焼温度と燃空当量比との関係におけるN
2
Oのマップを示すグラフである。
【発明を実施するための形態】
(【0011】以降は省略されています)
この特許をJ-PlatPat(特許庁公式サイト)で参照する
関連特許
ダイハツ工業株式会社
車両
23日前
トヨタ自動車株式会社
車両
1か月前
トヨタ自動車株式会社
車両
25日前
トヨタ自動車株式会社
車両
28日前
スズキ株式会社
車両の制御装置
16日前
ダイハツ工業株式会社
制御装置
22日前
ダイハツ工業株式会社
制御装置
22日前
ダイハツ工業株式会社
制御装置
22日前
スズキ株式会社
内燃機関の制御装置
25日前
個人
疑似可変サイクルジェットエンジン機構
1か月前
トヨタ自動車株式会社
車両の制御装置
14日前
トヨタ自動車株式会社
内燃機関
14日前
株式会社SUBARU
エンジン制御装置
22日前
株式会社SUBARU
エンジン制御装置
16日前
個人
流体式推力方向制御装置
4日前
株式会社IHI原動機
脈動減衰装置
14日前
朝日電装株式会社
スロットルグリップ装置
4日前
トヨタ自動車株式会社
内燃機関の制御装置
25日前
トヨタ自動車株式会社
閾値の設定装置
4日前
トヨタ自動車株式会社
車両の制御装置
1か月前
トヨタ自動車株式会社
エンジン制御装置
今日
トヨタ自動車株式会社
内燃機関の制御装置
25日前
株式会社豊田自動織機
車両
24日前
日産自動車株式会社
内燃機関
今日
日産自動車株式会社
内燃機関
今日
本田技研工業株式会社
内燃機関の制御装置
14日前
トヨタ自動車株式会社
内燃機関の制御装置
1か月前
株式会社デンソートリム
エンジン制御装置
今日
本田技研工業株式会社
EGRバルブ制御装置
4日前
トヨタ自動車株式会社
エンジンシステムの診断装置
16日前
トヨタ自動車株式会社
インジェクタの制御装置
2日前
トヨタ自動車株式会社
エンジン制御装置
4日前
トヨタ自動車株式会社
内燃機関の燃料供給装置
今日
Astemo株式会社
内燃機関制御装置
1か月前
トヨタ自動車株式会社
内燃機関の燃料供給装置
4日前
愛三工業株式会社
吸気制御弁
23日前
続きを見る
他の特許を見る