TOP
|
特許
|
意匠
|
商標
特許ウォッチ
Twitter
他の特許を見る
10個以上の画像は省略されています。
公開番号
2025136597
公報種別
公開特許公報(A)
公開日
2025-09-19
出願番号
2024035283
出願日
2024-03-07
発明の名称
シミュレーションプログラム、シミュレーション方法および情報処理装置
出願人
富士通株式会社
代理人
弁理士法人酒井国際特許事務所
主分類
G01V
3/18 20060101AFI20250911BHJP(測定;試験)
要約
【課題】TEM法による電磁探査の精度を向上させることを課題とする。
【解決手段】シミュレーション装置は、空間に送信源から磁場を発生させて空間外に設置されるセンサが検出した第1の磁場情報を取得するとともに、電磁誘導を生じさせる物体が存在する探索対象の空間に対して送信源から磁場を発生させてセンサで取得される第2の磁場情報を、物体からの磁場による物理量をパラメータとするシミュレーションにより取得する。シミュレーション装置は、第1の磁場情報と第2の磁場情報に基づいて、物理量の最適化を実行し、最適化した物理量を用いて空間の比抵抗分布を生成する。
【選択図】図1
特許請求の範囲
【請求項1】
コンピュータに、
空間に送信源から磁場を発生させて空間外に設置されるセンサが検出した第1の磁場情報を取得するとともに、電磁誘導を生じさせる物体が存在する探索対象の空間に対して前記送信源から磁場を発生させて前記センサで取得される第2の磁場情報を、前記物体からの磁場による物理量をパラメータとするシミュレーションにより取得し、
前記第1の磁場情報と前記第2の磁場情報に基づいて、前記物理量の最適化を実行し、
最適化した前記物理量を用いて前記空間の比抵抗分布を生成する、
処理を実行させることを特徴とするシミュレーションプログラム。
続きを表示(約 1,200 文字)
【請求項2】
前記取得する処理は、
前記センサによる検出される垂直磁場の時系列情報である前記第1の磁場情報と、前記シミュレーションにより推定される、前記センサが検出する垂直磁場の時系列情報である前記第2の磁場情報とを取得し、
前記最適化を実行する処理は、
前記第1の磁場情報と前記第2の磁場情報との誤差が最小化する前記物理量を算出する、
請求項1に記載のシミュレーションプログラム。
【請求項3】
前記物理量は、磁気モーメントであり、
前記最適化する処理は、
前記第1の磁場情報と前記第2の磁場情報との二乗誤差を最小化する前記磁気モーメントを決定し、
決定された前記磁気モーメントに基づいて定まる比抵抗を用いて、前記空間の比抵抗分布を生成する、
請求項1または2に記載のシミュレーションプログラム。
【請求項4】
前記物理量は、磁気モーメントであり、
前記取得する処理は、
前記空間内の複数の領域それぞれについて前記センサにより測定された前記第1の磁場情報と、前記複数の領域それぞれについて比抵抗と誘電率と透磁率とを用いた前記シミュレーションにより推定された前記第2の磁場情報とを取得し、
前記最適化する処理は、
前記第1の磁場情報と前記第2の磁場情報との二乗誤差を最小化する前記磁気モーメントに基づいて定まる前記比抵抗を決定し、
決定された前記複数の領域それぞれの前記比抵抗を用いて、前記空間の比抵抗分布を生成する、
請求項1または2に記載のシミュレーションプログラム。
【請求項5】
コンピュータが、
空間に送信源から磁場を発生させて空間外に設置されるセンサが検出した第1の磁場情報を取得するとともに、電磁誘導を生じさせる物体が存在する探索対象の空間に対して前記送信源から磁場を発生させて前記センサで取得される第2の磁場情報を、前記物体からの磁場による物理量をパラメータとするシミュレーションにより取得し、
前記第1の磁場情報と前記第2の磁場情報に基づいて、前記物理量の最適化を実行し、
最適化した前記物理量を用いて前記空間の比抵抗分布を生成する、
処理を実行させることを特徴とするシミュレーション方法。
【請求項6】
空間に送信源から磁場を発生させて空間外に設置されるセンサが検出した第1の磁場情報を取得するとともに、電磁誘導を生じさせる物体が存在する探索対象の空間に対して前記送信源から磁場を発生させて前記センサで取得される第2の磁場情報を、前記物体からの磁場による物理量をパラメータとするシミュレーションにより取得し、
前記第1の磁場情報と前記第2の磁場情報に基づいて、前記物理量の最適化を実行し、
最適化した前記物理量を用いて前記空間の比抵抗分布を生成する、
制御部を有することを特徴とする情報処理装置。
発明の詳細な説明
【技術分野】
【0001】
本発明は、シミュレーションプログラム、シミュレーション方法および情報処理装置に関する。
続きを表示(約 1,600 文字)
【背景技術】
【0002】
地熱貯留槽を探査するには貯留槽周辺の比抵抗分布を推定することが有効であり、比抵抗推定を行う手法としては、周波数ドメインによるMT(Magneto Telluric)法と、時間ドメインによるTEM(Transient Electro-Magnetic)法が知られている。
【0003】
MT法は、自然磁場を用いて電場と磁場を測定することで比抵抗を推定する手法であり、通常は測定点の比抵抗しか得られないが、適切な物理モデルを用いてメッシュに切り分けることで空間内のすべてのメッシュでの比抵抗を推定する。TEM法は、人口磁場を用いた手法であり、MT法と比較して、より高精度で分解能が高く、低コストで比抵抗を推定することができる。一般的には、超電導TEM法の水平分解能はMT法と比べて6倍と言われている。
【先行技術文献】
【特許文献】
【0004】
特開平9-281249号公報
特開2009-74953号公報
特開2007-285729号公報
【発明の概要】
【発明が解決しようとする課題】
【0005】
しかしながら、TEM法を用いて電磁探査を行う場合に、探査精度が悪い場合がある。例えば、既存の発電所が運用されている地域でTEM法による電磁探査により貯留槽の位置推定を行う場合に、発電所の鋼管が電磁誘導を生じさせ、センサの測定結果に誤差が生じることで、探査精度が劣化する場合がある。
【0006】
一つの側面では、TEM法による電磁探査の精度を向上させることができるシミュレーションプログラム、シミュレーション方法および情報処理装置を提供することを目的とする。
【課題を解決するための手段】
【0007】
第1の案では、シミュレーションプログラムは、コンピュータに、空間に送信源から磁場を発生させて空間外に設置されるセンサが検出した第1の磁場情報を取得するとともに、電磁誘導を生じさせる物体が存在する探索対象の空間に対して前記送信源から磁場を発生させて前記センサで取得される第2の磁場情報を、前記物体からの磁場による物理量をパラメータとするシミュレーションにより取得し、前記第1の磁場情報と前記第2の磁場情報に基づいて、前記物理量の最適化を実行し、最適化した前記物理量を用いて前記空間の比抵抗分布を生成する、処理を実行させることを特徴とする。
【発明の効果】
【0008】
一実施形態によれば、TEM法による電磁探査の精度を向上させることができる。
【図面の簡単な説明】
【0009】
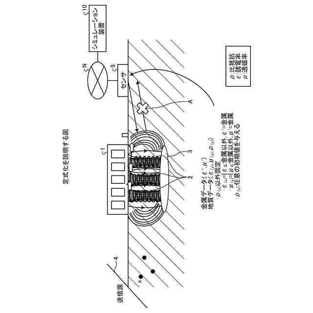
図1は、実施例1にかかる地熱貯留槽探査の全体構成例を説明する図である。
図2は、一般的な地熱貯留槽探査を説明する図である。
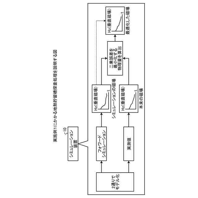
図3は、実施例1にかかる地熱貯留槽探査処理を説明する図である。
図4は、実施例1にかかるシミュレーション装置の機能構成を示す機能ブロック図である。
図5は、定式化を説明する図である。
図6は、シミュレーションによる垂直磁場の推定を説明する図である。
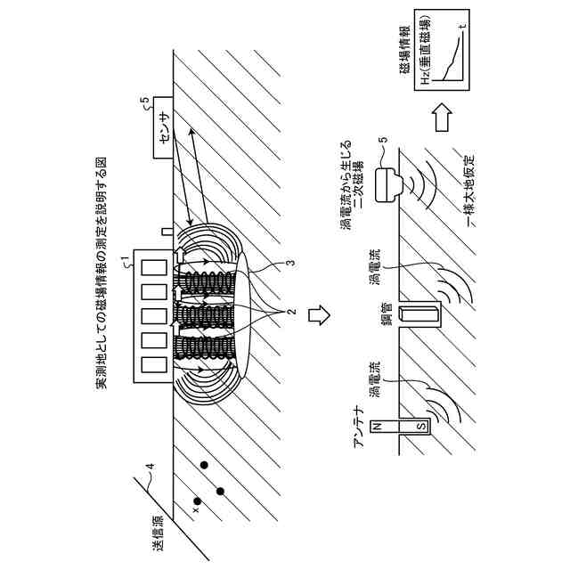
図7は、実測地としての磁場情報の測定を説明する図である。
図8は、最適化を説明する図である。
図9は、実施例1にかかる地熱貯留槽探査処理の流れを示すフローチャートである。
図10は、ハードウェア構成例を説明する図である。
【発明を実施するための形態】
【0010】
以下に、本願の開示するシミュレーションプログラム、シミュレーション方法および情報処理装置の実施例を図面に基づいて詳細に説明する。なお、この実施例によりこの発明が限定されるものではない。また、各実施例は、矛盾のない範囲内で適宜組み合わせることができる。
【実施例】
(【0011】以降は省略されています)
この特許をJ-PlatPat(特許庁公式サイト)で参照する
関連特許
富士通株式会社
半導体装置
3日前
富士通株式会社
行列演算回路
13日前
富士通株式会社
周波数変換器
16日前
富士通株式会社
半導体デバイス
3日前
富士通株式会社
メッシュ微細化
4日前
富士通株式会社
演算器及び演算方法
4日前
富士通株式会社
冷却装置及び電子機器
13日前
富士通株式会社
ハイブリッド光増幅器
1か月前
富士通株式会社
アレイアンテナモジュール
5日前
富士通株式会社
電子機器筐体及び電子機器
2日前
富士通株式会社
光送信器及び光トランシーバ
2日前
富士通株式会社
基板及びこれを備えた電子装置
5日前
富士通株式会社
通信制御装置及び移動中継装置
10日前
富士通株式会社
演算処理装置及び演算処理方法
24日前
富士通株式会社
動的多次元メディアコンテンツ投影
23日前
富士通株式会社
視線誘導方法および視線誘導プログラム
1か月前
富士通株式会社
異常予測方法および異常予測プログラム
23日前
富士通株式会社
生成人工知能を使用したデータセット符号化
1か月前
富士通株式会社
管理装置、管理方法、および管理プログラム
11日前
富士通株式会社
演算システムおよび演算システムの制御方法
1か月前
富士通株式会社
シストリック型の演算アレイ装置及び制御方法
25日前
富士通株式会社
プログラム、情報処理方法および情報処理装置
9日前
富士通株式会社
推定プログラム、推定方法および情報処理装置
1か月前
富士通株式会社
画像を記述する構造化テキストを生成する方法
1か月前
富士通株式会社
交通シミュレーションのための方法および装置
23日前
富士通株式会社
推定プログラム、推定方法および情報処理装置
1か月前
富士通株式会社
予測プログラム、予測方法および情報処理装置
25日前
富士通株式会社
出張情報受付方法および出張情報受付プログラム
2日前
富士通株式会社
演算装置、情報処理装置及び演算装置の制御方法
25日前
富士通株式会社
探索プログラム、探索方法、および情報処理装置
2日前
富士通株式会社
制御プログラム、制御方法、および情報処理装置
11日前
富士通株式会社
プログラム、データ処理装置及びデータ処理方法
3日前
富士通株式会社
キャッシュ装置およびキャッシュ装置の制御方法
3日前
富士通株式会社
情報処理プログラム、情報処理装置及び情報処理方法
1か月前
富士通株式会社
異常検出プログラム、異常検出方法及び情報処理装置
23日前
富士通株式会社
レース内容再現方法およびレース内容再現プログラム
1か月前
続きを見る
他の特許を見る