TOP
|
特許
|
意匠
|
商標
特許ウォッチ
Twitter
他の特許を見る
公開番号
2025136962
公報種別
公開特許公報(A)
公開日
2025-09-19
出願番号
2024035905
出願日
2024-03-08
発明の名称
液体噴射ヘッド
出願人
セイコーエプソン株式会社
代理人
弁理士法人旺知国際特許事務所
主分類
B41J
2/14 20060101AFI20250911BHJP(印刷;線画機;タイプライター;スタンプ)
要約
【課題】第1ヘッドチップの再利用が可能かどうかの判断を可能とする。
【解決手段】液体噴射ヘッドは、液体を噴射する複数のノズルと、複数のノズルに連通する共通液室と、を有する第1ヘッドチップを備える液体噴射ヘッドであって、第1ヘッドチップは、共通液室を上流室と下流室とに区分し、液体を通過させるフィルターと、下流室を画定する第1流路部材と、上流室を画定する第2流路部材と、を含み、フィルターは、第1流路部材と第2流路部材との間に配置され、第1流路部材および第2流路部材のそれぞれは、透光性を有する材料で構成される。
【選択図】図6
特許請求の範囲
【請求項1】
液体を噴射する複数のノズルと、前記複数のノズルに連通する共通液室と、を有する第1ヘッドチップを備える液体噴射ヘッドであって、
前記第1ヘッドチップは、
前記共通液室を上流室と下流室とに区分し、液体を通過させるフィルターと、
前記下流室を画定する第1流路部材と、
前記上流室を画定する第2流路部材と、を含み、
前記フィルターは、前記第1流路部材と前記第2流路部材との間に配置され、
前記第1流路部材および前記第2流路部材のそれぞれは、透光性を有する材料で構成される、
ことを特徴とする液体噴射ヘッド。
続きを表示(約 610 文字)
【請求項2】
前記第1流路部材は、前記第1ヘッドチップの下面の少なくとも一部を画定し、
前記第2流路部材は、前記第1ヘッドチップの上面の少なくとも一部を画定する、
ことを特徴とする請求項1に記載の液体噴射ヘッド。
【請求項3】
前記第1流路部材は、可撓性を有する薄膜である、
ことを特徴とする請求項2に記載の液体噴射ヘッド。
【請求項4】
前記第2流路部材は、前記上流室に液体を導入するための導入口を有する、
ことを特徴とする請求項2に記載の液体噴射ヘッド。
【請求項5】
第2ヘッドチップをさらに備え、
前記第1ヘッドチップおよび前記第2ヘッドチップのそれぞれは、
前記複数のノズルを有するノズルプレートと、
前記第1流路部材と、
前記フィルターと、
前記第2流路部材と、を含む、
ことを特徴とする請求項1に記載の液体噴射ヘッド。
【請求項6】
前記第1ヘッドチップおよび前記第2ヘッドチップが固定され、前記第1ヘッドチップおよび前記第2ヘッドチップのそれぞれの前記ノズルプレートを外部に露出するための複数の開口部を有する固定板をさらに備え、
前記固定板は、透光性を有する材料で構成される、
ことを特徴とする請求項5に記載の液体噴射ヘッド。
発明の詳細な説明
【技術分野】
【0001】
本開示は、液体噴射ヘッドに関する。
続きを表示(約 1,600 文字)
【背景技術】
【0002】
インクジェット方式のプリンター等の装置は、一般に、インク等の液体を噴射する液体噴射ヘッドを備える。特許文献1に記載の液体噴射ヘッドは、複数のノズルに連通する共通液室を上流側共通液室と下流側共通液室とに区画するフィルターを有するヘッドチップを備える。
【先行技術文献】
【特許文献】
【0003】
特開2023-098016号公報
【発明の概要】
【発明が解決しようとする課題】
【0004】
中古の液体噴射ヘッドから抜き出したヘッドチップを再利用することにより液体噴射ヘッドの再生することが望まれている。しかしながら、従来では、ヘッドチップ内に配置されたフィルターの目詰まりの程度が分からないため、中古のヘッドチップが再利用できるか分からないという課題があった。
【課題を解決するための手段】
【0005】
以上の課題を解決するために、本開示の好適な態様に係る液体噴射ヘッドは、液体を噴射する複数のノズルと、前記複数のノズルに連通する共通液室と、を有する第1ヘッドチップを備える液体噴射ヘッドであって、前記第1ヘッドチップは、前記共通液室を上流室と下流室とに区分し、液体を通過させるフィルターと、前記下流室を画定する第1流路部材と、前記上流室を画定する第2流路部材と、を含み、前記フィルターは、前記第1流路部材と前記第2流路部材との間に配置され、前記第1流路部材および前記第2流路部材のそれぞれは、透光性を有する材料で構成される。
【図面の簡単な説明】
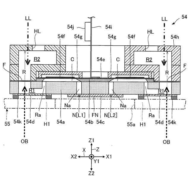
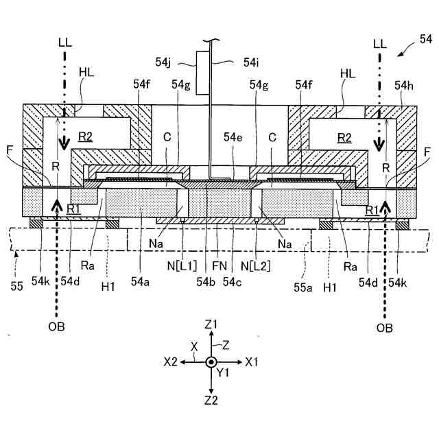
【0006】
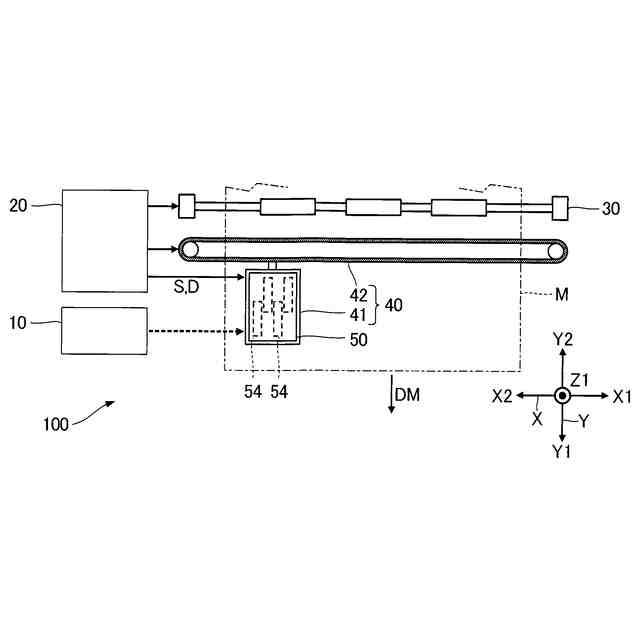
実施形態に係る液体噴射ヘッドを備える液体噴射装置の構成例を示す概略図である。
実施形態に係る液体噴射ヘッドおよび支持体の斜視図である。
実施形態に係る液体噴射ヘッドの分解斜視図である。
図2中のA-A線断面図である。
ヘッドチップの分解斜視図である。
ヘッドチップの断面図である。
【発明を実施するための形態】
【0007】
以下、添付図面を参照しながら本開示に係る好適な実施形態を説明する。なお、図面において各部の寸法および縮尺は実際と適宜に異なり、理解を容易にするために模式的に示している部分もある。また、本開示の範囲は、以下の説明において特に本開示を限定する旨の記載がない限り、これらの形態に限られない。
【0008】
なお、以下の説明は、便宜上、互いに交差するX軸、Y軸およびZ軸を適宜に用いて行う。また、以下では、X軸に沿う一方向がX1方向であり、X1方向と反対の方向がX2方向である。同様に、Y軸に沿って互いに反対の方向がY1方向およびY2方向である。また、Z軸に沿って互いに反対の方向がZ1方向およびZ2方向である。Z2方向が「第1方向」の一例であり、Z1方向が「第2方向」の一例である。
【0009】
ここで、典型的には、Z軸が鉛直な軸であり、Z2方向が鉛直方向での下方向に相当する。ただし、Z軸は、鉛直な軸でなくともよい。また、X軸、Y軸およびZ軸は、典型的には互いに直交するが、これに限定されず、例えば、80°以上100°以下の範囲内の角度で交差すればよい。
【0010】
1.実施形態
1-1.液体噴射装置の概略構成
図1は、実施形態に係る液体噴射ヘッド50を備える液体噴射装置100の構成例を示す概略図である。液体噴射装置100は、「液体」の一例であるインクを液滴として媒体Mに噴射するインクジェット方式の印刷装置である。媒体Mは、典型的には印刷用紙である。なお、媒体Mは、印刷用紙に限定されず、例えば、樹脂フィルムまたは布帛等の任意の材質の印刷対象でもよい。
(【0011】以降は省略されています)
この特許をJ-PlatPat(特許庁公式サイト)で参照する
関連特許
個人
箔熱転写装置
28日前
シヤチハタ株式会社
印判
4か月前
東レ株式会社
凸版印刷版原版
10か月前
シヤチハタ株式会社
反転式印判
9か月前
三菱製紙株式会社
感熱記録材料
10か月前
三光株式会社
感熱記録材料
6か月前
キヤノン株式会社
記録装置
21日前
独立行政法人 国立印刷局
印刷物
6か月前
株式会社リコー
液体吐出装置
5か月前
株式会社リコー
画像形成装置
9日前
株式会社リコー
液体吐出装置
4か月前
株式会社リコー
液体吐出装置
7か月前
株式会社リコー
印刷システム
9日前
株式会社リコー
画像形成装置
28日前
株式会社リコー
液体吐出装置
3か月前
独立行政法人 国立印刷局
記録媒体
8か月前
株式会社リコー
液体吐出装置
8か月前
株式会社リコー
画像形成装置
5日前
独立行政法人 国立印刷局
貼付装置
1か月前
日本製紙株式会社
感熱記録体
7か月前
株式会社リコー
液体吐出装置
5か月前
株式会社リコー
液体吐出装置
1か月前
株式会社リコー
液体吐出装置
7か月前
独立行政法人 国立印刷局
貼付機構
1か月前
ブラザー工業株式会社
液体吐出ヘッド
21日前
フジコピアン株式会社
中間転写シート
9か月前
キヤノン株式会社
画像形成装置
5か月前
キヤノン株式会社
画像処理装置
4か月前
理想科学工業株式会社
印刷装置
6か月前
独立行政法人 国立印刷局
潜像形成体
5日前
キヤノン株式会社
印刷システム
7か月前
キヤノン株式会社
印刷制御装置
10か月前
キヤノン株式会社
画像形成装置
3か月前
キヤノン株式会社
画像形成装置
7か月前
キヤノン株式会社
画像形成装置
8か月前
ブラザー工業株式会社
プリンタ
1か月前
続きを見る
他の特許を見る