TOP
|
特許
|
意匠
|
商標
特許ウォッチ
Twitter
他の特許を見る
10個以上の画像は省略されています。
公開番号
2025137222
公報種別
公開特許公報(A)
公開日
2025-09-19
出願番号
2024036295
出願日
2024-03-08
発明の名称
生体電位計測装置
出願人
セイコーグループ株式会社
,
国立大学法人大阪大学
代理人
個人
,
個人
,
個人
主分類
A61B
5/257 20210101AFI20250911BHJP(医学または獣医学;衛生学)
要約
【課題】電極シートの大きさに左右されず、電極シートを確実にデバイスと接続できる生体電位計測装置の提供。
【解決手段】生体電位計測装置1は、生体信号を取得する電極シート10と、電極シート10に接続される接点部21を有するデバイス20と、デバイス20との間に電極シート10を挟み込むことで、電極シート10を接点部21に接続する接続部材30と、デバイス20と接続部材30とを磁着する磁着部60と、を備える。
【選択図】図3
特許請求の範囲
【請求項1】
生体信号を取得する電極シートと、
前記電極シートに接続される接点部を有するデバイスと、
前記デバイスとの間に前記電極シートを挟み込むことで、前記電極シートを前記接点部に接続する接続部材と、
前記デバイスと前記接続部材とを磁着する磁着部と、を備える、
生体電位計測装置。
続きを表示(約 840 文字)
【請求項2】
前記磁着部は、
前記デバイス及び前記接続部材の一方に設けられた第1磁性部材と、
前記デバイス及び前記接続部材の他方に設けられ、前記電極シートを挟み込むときに、前記第1磁性部材と対向する第2磁性部材と、を備える、
請求項1に記載の生体電位計測装置。
【請求項3】
前記デバイスは、前記電極シートを位置決めする位置決め部を備える、
請求項1または2に記載の生体電位計測装置。
【請求項4】
前記位置決め部は、前記電極シートの少なくとも短手方向に一対で設けられている、
請求項3に記載の生体電位計測装置。
【請求項5】
前記短手方向に一対で設けられた前記位置決め部は、前記短手方向の外側を向く面に、傾斜部を備える、
請求項4に記載の生体電位計測装置。
【請求項6】
前記電極シートは、前記位置決め部が貫通して配置される貫通孔を有する、
請求項3に記載の生体電位計測装置。
【請求項7】
前記貫通孔は、一対で設けられ、
平面視で、一対の前記貫通孔の間に、前記接点部が配置される、
請求項6に記載の生体電位計測装置。
【請求項8】
前記電極シートは、前記電極シートの外縁に形成され、前記位置決め部が配置される括れ部を有する、
請求項3に記載の生体電位計測装置。
【請求項9】
前記接続部材は、前記位置決め部が嵌合する被嵌合部を有する、
請求項3に記載の生体電位計測装置。
【請求項10】
前記磁着部は、前記位置決め部と前記被嵌合部とを磁着し、
前記電極シートが前記接点部に接続された状態で、前記位置決め部と前記被嵌合部との間には、磁着方向に隙間が形成されている、
請求項9に記載の生体電位計測装置。
(【請求項11】以降は省略されています)
発明の詳細な説明
【技術分野】
【0001】
本発明は、生体電位計測装置に関するものである。
続きを表示(約 1,100 文字)
【背景技術】
【0002】
下記特許文献1には、対象者の皮膚に装着されてその皮膚から対象者の体内で発生する電気的な生体信号を検出し、その生体信号を処理して得た生体情報を出力する生体情報出力装置が開示されている。
【先行技術文献】
【特許文献】
【0003】
特開2022-120573号公報
【発明の概要】
【発明が解決しようとする課題】
【0004】
上記生体情報出力装置(生体電位計測装置)では、筐体(デバイス)と装着シート(電極シート)とを、略C字状の筐体ホルダ(接続部材)によって接続している。このため、従来では、装着シートのサイズに対応して、筐体及び筐体ホルダのサイズを大きくする必要があった。
【0005】
本発明は、上記問題点に鑑みてなされたものであり、電極シートの大きさに左右されず、電極シートを確実にデバイスと接続できる生体電位計測装置の提供を目的とする。
【課題を解決するための手段】
【0006】
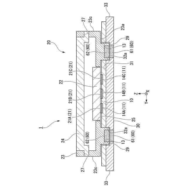
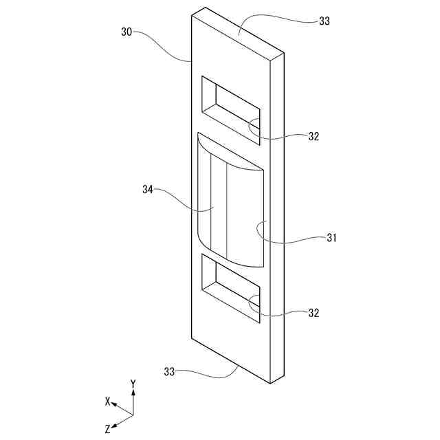
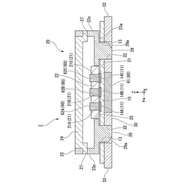
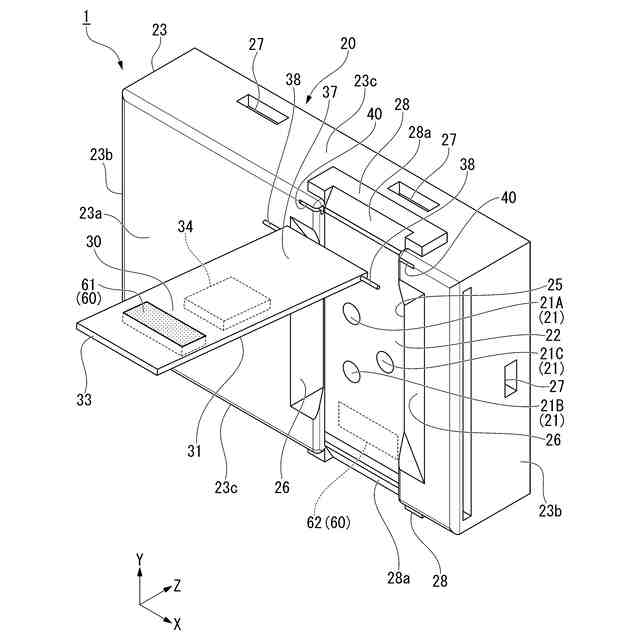
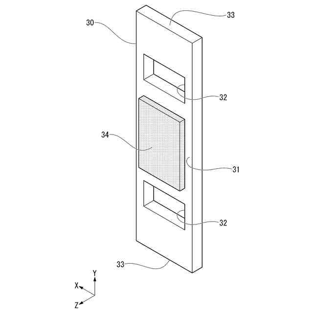
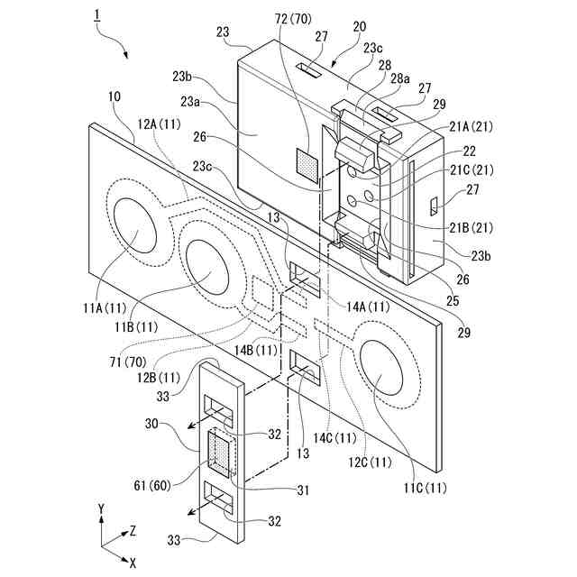
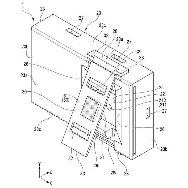
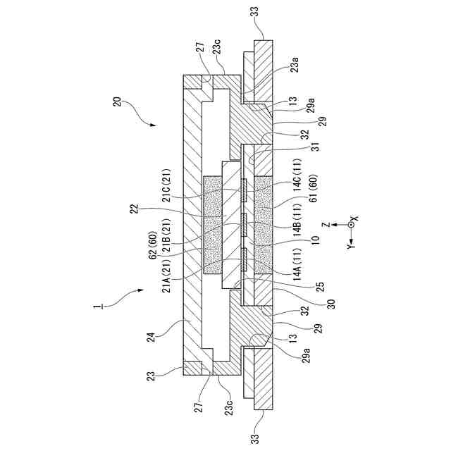
(1):本発明の一態様に係る生体電位計測装置は、生体信号を取得する電極シートと、前記電極シートに接続される接点部を有するデバイスと、前記デバイスとの間に前記電極シートを挟み込むことで、前記電極シートを前記接点部に接続する接続部材と、前記デバイスと前記接続部材とを磁着する磁着部と、を備える。
【0007】
本態様に係る生体電位計測装置によれば、デバイスと接続部材との間に電極シートを挟み込むことで、電極シートをデバイスの接点部に確実に接続することができる。また、デバイスと接続部材は磁着されているため、電極シートのサイズに合わせてデバイス及び接続部材を大きくする必要がなくなる。
したがって、本態様に係る生体電位計測装置によれば、電極シートの大きさに左右されず、電極シートを確実にデバイスと接続できる生体電位計測装置が得られる。
【0008】
(2):(1)の態様の生体電位計測装置において、前記磁着部は、前記デバイス及び前記接続部材の一方に設けられた第1磁性部材と、前記デバイス及び前記接続部材の他方に設けられ、前記電極シートを挟み込むときに、前記第1磁性部材と対向する第2磁性部材と、を備えてもよい。
【0009】
この場合には、第1磁性部材と第2磁性部材との対向部分において磁着力が高まり、接続部材がデバイスから外れ難くなる。
【0010】
(3):(1)または(2)の態様の生体電位計測装置において、前記デバイスは、前記電極シートを位置決めする位置決め部を備えてもよい。
(【0011】以降は省略されています)
この特許をJ-PlatPat(特許庁公式サイト)で参照する
関連特許
個人
短下肢装具
2か月前
個人
嚥下鍛錬装置
3か月前
個人
前腕誘導装置
2か月前
個人
ホバーアイロン
6か月前
個人
矯正椅子
4か月前
個人
胸骨圧迫補助具
1か月前
個人
アイマスク装置
1か月前
個人
バッグ式オムツ
3か月前
個人
汚れ防止シート
8日前
個人
歯の修復用材料
3か月前
個人
陣痛緩和具
3か月前
個人
シャンプー
5か月前
個人
歯の保護用シール
4か月前
個人
湿布連続貼り機。
1か月前
個人
哺乳瓶冷まし容器
2か月前
株式会社八光
剥離吸引管
4か月前
個人
エア誘導コルセット
1か月前
個人
治療用酸化防御装置
26日前
個人
性行為補助具
2か月前
株式会社大野
骨壷
3か月前
株式会社コロナ
サウナ装置
5か月前
個人
シリンダ式歩行補助具
2か月前
個人
高気圧環境装置
3か月前
株式会社ニデック
眼科装置
20日前
個人
精力増強キット
12日前
株式会社松風
口腔用組成物
2か月前
株式会社ダリヤ
毛髪化粧料
18日前
株式会社ニデック
眼科装置
20日前
個人
形見の製造方法
3か月前
株式会社ニデック
眼科装置
3か月前
株式会社GSユアサ
歩行器
4か月前
個人
手指運動ツール
1か月前
株式会社ニデック
検眼装置
2か月前
東ソー株式会社
歯科ブランク
3か月前
個人
水素ガス吸引装置
4か月前
東ソー株式会社
歯科ブランク
3か月前
続きを見る
他の特許を見る